电脑桌面
添加小米粒文库到电脑桌面
安装后可以在桌面快捷访问

常熟华东汽车有限公司产品研发楼工程监理程序VIP免费

常熟华东汽车有限公司产品研发楼工程监理程序_第1页
1/50
常熟华东汽车有限公司产品研发楼工程监理程序_第2页
2/50
常熟华东汽车有限公司产品研发楼工程监理程序_第3页
3/50
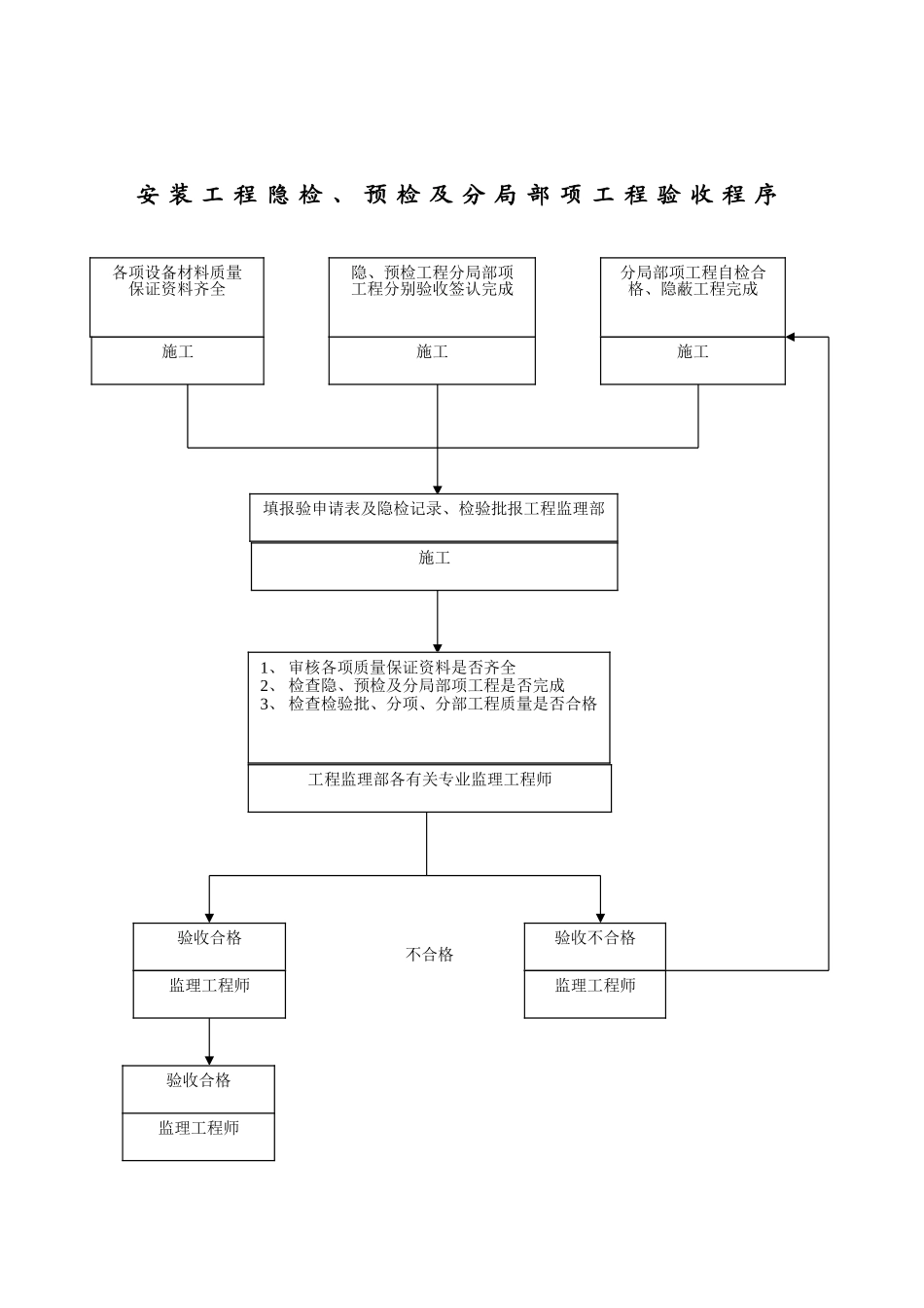
目录一、工程概况二、细那么编制根据三、监理工作流程四、监理工作的控制要点及目的值五、监理工作的及措施六、各专业监理细那么(一)给排水工程(二)电气工程(三)空调与通风工程(四)消防工程(五)智能建筑工程(六)电梯安装工程七、安装工程常见质量通病及其防治一、工程概况工程名称:常熟华东汽车研发楼二、建立:常熟华东汽车三、资金来源:自筹四、建立地点:长江西路南侧五、构造类型:框架构造六、建筑规模:约30000M2七、工程质量要求:合格八、细那么编制根据1、给排水、电气、设备、智能建筑各相关专业图纸。2、安装工程施工组织设计。3、各专业安装工程施工质量验收。4、有关与验收。九、监理工作流程工程材料质量控制根本程序不合格合格承包填写?工程材料/构配件/设备报验单?专业监理工程师审核:1、审核质量保证资料2、到厂家考察3、进场材料检验4、进展验证复试承包另选承包使用安装工程隐检、预检及分局部项工程验收程序不合格各项设备材料质量保证资料齐全施工施工隐、预检工程分局部项工程分别验收签认完成分局部项工程自检合格、隐蔽工程完成施工填报验申请表及隐检记录、检验批报工程监理部施工1、审核各项质量保证资料是否齐全2、检查隐、预检及分局部项工程是否完成3、检查检验批、分项、分部工程质量是否合格工程监理部各有关专业监理工程师验收合格监理工程师验收合格监理工程师验收不合格监理工程师施工自检安装材料验收程序NYNY监理、甲方并提交质保单、合格证三方一起按要求抽样检查实测数据、检查结果记录备案合格合格同意使用退货半成品材料验收程序NYNY合格监理送半成品质量验收单按要求现场抽样检查填写检查施工自检合格同意进入下道工序返工一般试验检查程序NYNY十、监理工作的控制要点及目的值(一).质量控制1、质量控制目的值根据业主要求及施工合同本工程质量要求单体优良。2、质量控制要点及手段为确保完成预的质量目的针对工程安装监理工程的详细情况质量控制可按下表内容组织施行详施工试验自检合格监理人员双方一起检查合格签署试验记录返工见监理规划。(二).进度控制1、进度控制目的值总工为480天以业主与施工签定的工程总承包合同中所确定的总工为目的。2、进度控制要点确保工程进度搞好安装与土建、装饰的穿插配合外协调好各相关之间的关系要求各相关认真安排施工作业方案逐层搞好工序间的穿插与配合。(三).控制1、控制目的值以业主与施工正式签订工程承包合同的合同价为目的。2、控制要点及手段事前控制控制内容操作方法确定控制目的并细分目的值审查施工组织设计和技术措施费用细读施工合同、招熟悉工程概况、预〔概〕算书工程风险分析制定防范索赔措施催促协助建立履行合同义务协商、制表审核、分析阅读、研究熟悉、掌握、分析建议、提醒事中控制控制内容操作方法严格工程计量合理支付进度款严格控制工程变更及费用签证掌握有关定额及材料信息价格做好协调工作力求减少索赔工程费用超支分析制定纠编方案及措施审核、计算分析、审核、计算调查、提供信息熟悉合同、参加会议分析、研究事后控制控制内容操作方法看开工图审核工程总结算书确定变更费用及价风格整公正处理索赔事项对照、分析审核计算协商、审核十一、监理工作的及措施(一).质量控制“百年大计〞是我国工程建立的一贯方针日前对本工程我工程监理部采用动态质量控制对工程质量实行预控、检查、验评三结合严格执行事前、事中、事后的质量控制措施确保工程到达预的质量目的。1、认真参加施工图纸会审和设计交底理解设计意图审查各专业施工图的互相配合及时发现存在的问题尽量防止设计失误造成的损失坚持做到未经会审的施工图不得投入施工。同时做好技术复核工作。2、查承建资质、质量保证体系的同时注意检查参加施工的理人员关键工种的操作人员是否具有上岗证书同时有关人员必须及时到岗、到位不得随意更换或抽调如有必须更换的事先报工程总监同意工程经理更换必须经业主同意。3、在材料、构配件订货前由施工提出资料经各专业监理工程师审查后才可订货进场材料进场后必须出具出厂合格证材料试验单等资料并报我经工程专业监理工程...

1、当您付费下载文档后,您只拥有了使用权限,并不意味着购买了版权,文档只能用于自身使用,不得用于其他商业用途(如 [转卖]进行直接盈利或[编辑后售卖]进行间接盈利)。
2、本站所有内容均由合作方或网友上传,本站不对文档的完整性、权威性及其观点立场正确性做任何保证或承诺!文档内容仅供研究参考,付费前请自行鉴别。
3、如文档内容存在违规,或者侵犯商业秘密、侵犯著作权等,请点击“违规举报”。

碎片内容

常熟华东汽车有限公司产品研发楼工程监理程序

确认删除?
VIP
微信客服
  • 扫码咨询
会员Q群
  • 会员专属群点击这里加入QQ群
客服邮箱
回到顶部