电脑桌面
添加小米粒文库到电脑桌面
安装后可以在桌面快捷访问

中标准图纸图栏系统的开发VIP免费

中标准图纸图栏系统的开发_第1页
1/14
中标准图纸图栏系统的开发_第2页
2/14
中标准图纸图栏系统的开发_第3页
3/14
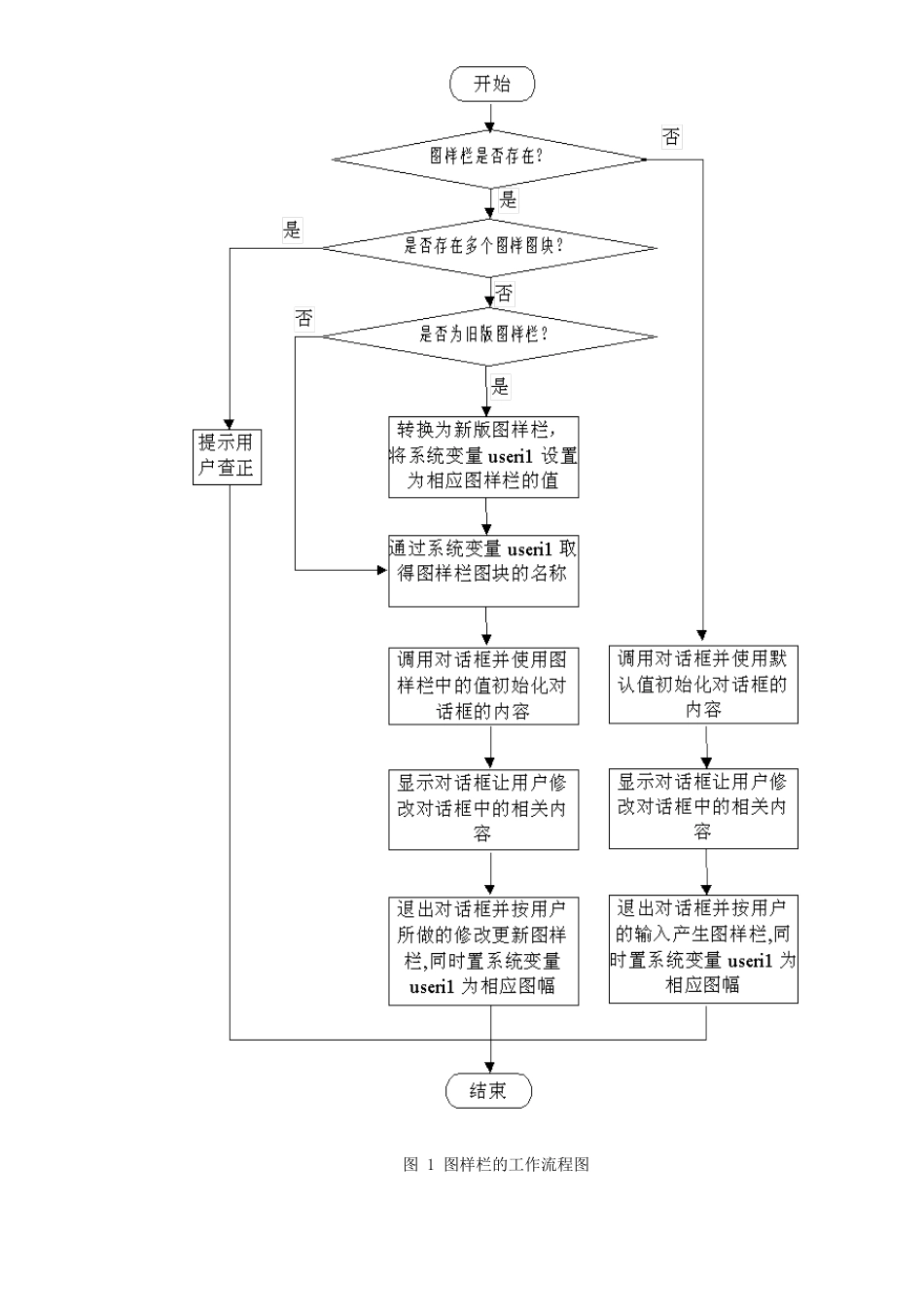
AutoCAD图形中标准图纸图栏系统的开发摘要:本文主要讲述了在AutoCAD中,通过对其进行二次开发而开发出的AutoCAD图形标准图纸图栏系统解决方案。随着计算机技术的发展,计算机操作系统已经逐渐由DOS系统转向Windows系统,AutoCAD自从12版本开始,已经有Windows的版本,直至14版本以后,已经是完全的Windows版本。AutoCAD除了操作简便之外,它还可以让用户重新定义其界面以及建立自己的程序运行,国内各不同的电脑开发商也通过对AutoCAD的二次开发而开发出应用于不同领域的实用软件。自从AutoCADR12版开始,AutoCAD引进了对话框技术——DCL对话框语言,它通过与AutoLISP语言相结合,能够编写出界面友好的实用程序。本人所在公司旧版的图栏填写是基于AutoCADR10版本而开发出来,操作过程是通过命令行提示,让用户根据提示,逐一输入相应的内容。这种方法程序编写简单,基本的语句如下:(setqtxmc(getstring"图形名称:"));提示用户输入图形名称(command"text"pttxmc);填写图形名称到图形中采用此种方法填写的图栏内容与图形中的其它文字一样,编辑时也是通过文字编辑进行操作,不太方便,在制图的过程中,图栏内容的编辑也占用了很大部分的时间。一.总体方案:图栏分为图样栏、标题栏、明细栏、附加栏、更改表、签名表共六部分,标准图纸的图幅分为A0图、A1图、A2图、A3图、A4图共五种,所以系统应该能生成此五种图幅的图样栏以及相应的标题栏等。由于其它除图样栏外其它图栏内容都是依附于图样栏中,所以在更改图样栏的图幅时,其它图栏的相应位置会随着图样栏的改变而改变。由于该系统必须与旧版系统兼容(本公司的全部图纸都由旧版图栏生成,如果手工修改,所费时间将无可估计),所以进入该系统后,系统必须自动地将旧版的图栏更改为新的图栏格式。图栏的格式采用在图块中增加属性,通过属性的方法显示图栏的文字内容。而图栏的填写是通过在插入图块的同时输入属性的内容。而图栏的编辑则通过对相应图块的属性进行提取而显示于对话框中让用户进行修改。图1为图样栏的工作流程图,图2为标题栏的工作流程图。图1图样栏的工作流程图图2标题栏的工作流程图二.程序的设计程序设计的重点主要有以下几个方面:①对话框的设计;②怎样通过对话框的形式编辑图栏内容;③怎样能将旧版的图栏转换为新版的图栏,以省去大量的手工转换工作;④图样栏的大小怎样才能直接地显示在窗口的状态栏中;⑤图样栏中设计单位名称的显示处理;⑥图栏程序的调用。下面介绍各部分的具体设计。1.对话框的设计:AutoCAD软件包从AutoCADR12以来最大的进步之一是它提供的新的可编程对话框(PDB)工具,使用DCL对话框语言再配以AutoLISP语言,就可以设计出与AutoCAD软件包风格完全一致的应用程序。通过DCL对话框语言,对图栏的各对话框进行设计,在设计过程中,主要是考虑对话框界面的协调性及各控件安排的合理性。在图样栏的对话框中,使用选项按钮(radi0_button)选择标准图纸的图幅大小,使用弹出列表框(popup_list)列出预置的设计单位名称,而使用编辑框(edit_box)填写在单位列表框中没有列出的单位名称。在标题栏中,使用编辑框填写名称、图号、材料、比例、重量、总页数、页码等,而使用选项按钮选择阶段标记。各种图栏的外观见图3所示。图3各种图栏的外观全部的图栏对话框都分为填写功能和编辑功能两种,由于对话框语言有类似于“类”的具有继承性的功能,通过将对话框的内容部分使用一个名称保存,然后在另外的对话框内引用保存过的对话框内容,这样就可以使用不同的标题显示同样外观的对话框内容(如“填写图样栏”和“编辑图样栏”)。另外,由于图样栏已经定义了图纸图幅的大小,所以标题栏等其它图栏也就不必提示用户选择图幅而自动找到填写的位置。所以在对话框中除图样栏外,其它图栏的对话框都不必出现“图纸大小”的选项按钮。以下列出图样栏对话框的程序内容://填写图样栏部分ddtyl:dialog{label="填写图样栏";drtyl;}//编辑图样栏部分dmtyl:dialog{label="编辑图样栏";drtyl;}//图样栏内容部分drtyl:column{boxed_size;:boxed_column{:popup_list{label="设计单位(&S):";key="sign_ro";}:ed...

1、当您付费下载文档后,您只拥有了使用权限,并不意味着购买了版权,文档只能用于自身使用,不得用于其他商业用途(如 [转卖]进行直接盈利或[编辑后售卖]进行间接盈利)。
2、本站所有内容均由合作方或网友上传,本站不对文档的完整性、权威性及其观点立场正确性做任何保证或承诺!文档内容仅供研究参考,付费前请自行鉴别。
3、如文档内容存在违规,或者侵犯商业秘密、侵犯著作权等,请点击“违规举报”。

碎片内容

中标准图纸图栏系统的开发

您可能关注的文档

确认删除?
VIP
微信客服
  • 扫码咨询
会员Q群
  • 会员专属群点击这里加入QQ群
客服邮箱
回到顶部