电脑桌面
添加小米粒文库到电脑桌面
安装后可以在桌面快捷访问

校园安全维稳工作领导小组VIP免费

校园安全维稳工作领导小组_第1页
1/30
校园安全维稳工作领导小组_第2页
2/30
校园安全维稳工作领导小组_第3页
3/30
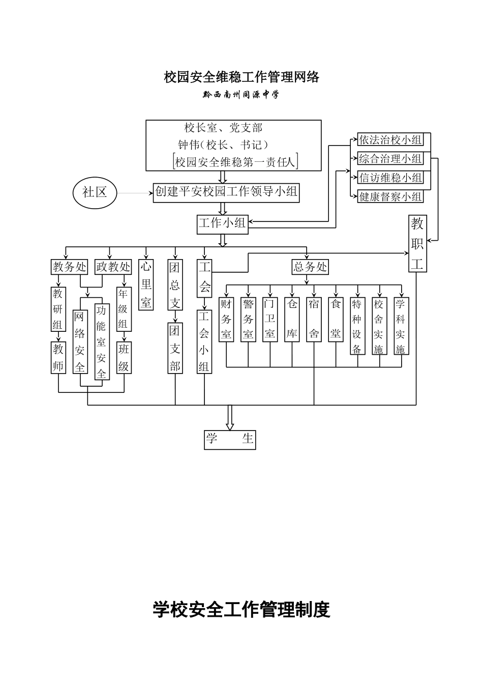
校园安全维稳工作领导小组黔西南州同源中学组长:钟伟(校园安全维稳第一责任人)副组长:陈祥(具体负责依法治校、综合治理、健康督察的工作)罗从阳(具体负责创建平安校园、信访维稳的工作)组员:欧立新朱俊瑰熊益鹏陈国民易辉金肖植芳各班主任各教研组组长创建平安校园工作领导小组组长:钟伟副组长:陈祥罗从阳组员:欧立新朱俊瑰熊益鹏陈国民易辉金肖植芳各班主任各教研组组长下设四个工作领导小组一、依法治校小组:组长:钟伟副组长:陈祥罗从阳组员:欧立新陈国民肖植芳各班主任各教研组组长二、综合治理小组:组长:钟伟副组长:陈祥罗从阳组员:欧立新陈国民易辉金肖植芳各班主任各教研组组长三、信访维稳小组:组长:钟伟副组长:陈祥罗从阳组员:欧立新朱俊瑰熊益鹏陈国民易辉金肖植芳四、健康督察小组:组长:钟伟副组长:陈祥罗从阳组员:欧立新易辉金肖植芳各班主任各教研组组长人校园安全维稳第一责任(校长、书记)钟伟校长室、党支部小组创建平安校园工作领导社区工作小组依法治校小组综合治理小组信访维稳小组健康督察小组教务处政教处总务处组研教组级年师教级班部支团组小会工室里心支总团会工室务财室务警室卫门库仓舍宿堂食生学工职教全安络网全安室能功备设种特施实舍校施实科学校园安全维稳工作管理网络黔西南州同源中学学校安全工作管理制度为保证学校正常教学秩序,保护学生健康成长,确保校产不受损失,杜绝或尽量减少安全责任事故的发生,遵循“注意防范、自救互救、确保平安、减少损失”的原则,制订本管理制度。1.校长是学校安全工作的第一责任人,学校安全工作由校长领导下的安全工作领导小组负责。各处、室向领导小组负责,实行责任追究制。2.学校每月要对学生进行有关安全方面的知识教育,教育形式应多样化;每班每周应有针对性的对学生进行安全教育。要对学生进行紧急突发问题处理方法、自救互救常识的教育。紧急电话(如110、119、122、120等)使用常识的教育。3.建立重大事故报告制度。校内外学生出现的重大伤亡事故一小时以内报告教育局;学生出走、失踪要及时报告;对事故的报告要形成书面报告一式三份,一份报教育局,一份报公安派出所,一份报镇人民政府,不得隐瞒责任事故。4.建立健全领导值班、教师值日制度;加强学校教育、教学活动的管理,保证学校的教学秩序正常;负责学校安全保卫的人员要经常和辖区的公安派出所保持密切联系,争取公安派出所对学校安全工作的支持和帮助。5.加强对教师的师德教育,树立敬业爱生思想,提高教学水平和质量,随时注意观察学生心理变化,防患于未然,不得体罚和变相体罚学生,不得将学生赶出教室、学校。6.未经市教育局批准,不自组织学生参加社会工作,不得组织学生参加救火、救灾等。7.学校经常进行学生遵守学校规章制度的教育,防止意外事故发生。8.学校要定期对校舍进行安全检查,发现隐患及时消除;情况严重的,一时难以消除要立即封闭,并上报镇人民政府和市教育局。黔西南州同源中学学校重大安全事故责任追究制度学校重大安全事故责任追究工作领导小组由一把手校长任组长,副校长任副组长,成员由各部门负责人,具体工作人员和各班主任组成。办公室主任任信息联络员。一、学校设备设施安全管理总务处负责检查、监督、维护、管理学校设备设施的安全工作。二、教育教学活动安全管理教导处负责监督管理学生教育活动中所涉及的安全工作,严格执行学校制订的各项安全制度,并监督班主任履行安全责任制,共同组织好学生的各类活动;负责监督管理教学活动中所涉及的安全工作,严格执行学校制订的体育设施安全操作规程及实验室安全操作规程。三、安全教育工作各班主任负责对学生进行安全教育工作,宣传相关法规和学校制订的各项安全制度。做到节假日、大型活动和平时的安全教育相结合。四、学生伤害事故的处理措施1.发生学生的伤害事故后,在学校安全工作和预防学生伤害事故工作领导小组的支持下,及时采取措施救助受伤害学生,并告知学生父母或其他监护人。属于重大事故的,及时报请有关部门,请求援助。2.发生学生的伤害事故后,当事人第一时间将情况报校长室;属重大事故的,学校须...

1、当您付费下载文档后,您只拥有了使用权限,并不意味着购买了版权,文档只能用于自身使用,不得用于其他商业用途(如 [转卖]进行直接盈利或[编辑后售卖]进行间接盈利)。
2、本站所有内容均由合作方或网友上传,本站不对文档的完整性、权威性及其观点立场正确性做任何保证或承诺!文档内容仅供研究参考,付费前请自行鉴别。
3、如文档内容存在违规,或者侵犯商业秘密、侵犯著作权等,请点击“违规举报”。

碎片内容

校园安全维稳工作领导小组

确认删除?
VIP
微信客服
  • 扫码咨询
会员Q群
  • 会员专属群点击这里加入QQ群
客服邮箱
回到顶部