电脑桌面
添加小米粒文库到电脑桌面
安装后可以在桌面快捷访问

高架桥箱梁模板施工技术方案(修订)VIP免费

高架桥箱梁模板施工技术方案(修订)_第1页
1/10
高架桥箱梁模板施工技术方案(修订)_第2页
2/10
高架桥箱梁模板施工技术方案(修订)_第3页
3/10
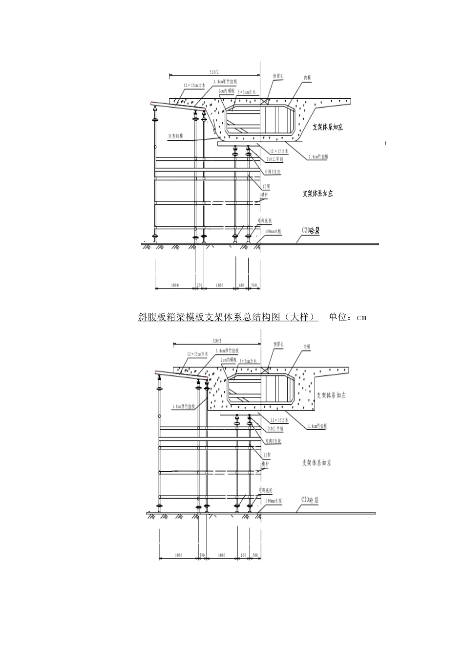
专用线高架桥箱梁模板施工技术方案一、工程简介小行车辆基地铁路专用线高架桥从宁芜铁路接轨处起,向东北延伸跨越规划中的纬九路向东转行,然后与小行车站接轨,全长440.553米。该桥大部分桥墩位于R=150m、R=200m和R=300m的曲线上。小行站南端地铁正线桥右桥在K0+048.46处与专用线汇合,正线左桥独立成桥,与小行站相接。小行车辆基地铁路专用线高架桥,施工范围为ZK0+306.452~ZK0+747.005,长440.553单线米,结构型式为:3×25+3×25+4×25+(25+2×37+22.6)+(31.515+32.514)共五联16孔。小行车站南端地铁正线高架桥K0+000.571~K0+066.075,长65.504双线米,结构型式为1联2孔(31.515+32.514)m与专用线第五联汇合(注:本施组中不将其单独列出,而统一纳入专用线高架桥工程)。桥梁上部结构单线为单箱室预应力钢筋砼箱梁连续梁,盆式橡胶支座,桥面宽5.2米,双线过渡段为单箱双室箱梁,桥面最大宽度为10.3米,除第三、四、五、六孔为直线外,其余均位于圆曲线上,12、13、14、15孔为渐开加宽异形梁,12、13孔跨越规划中的纬九路。二、施工难点1、高架桥位于曲线上且为变截面梁,模板施工工艺复杂;2、专用线标准段翼板与腹板交角及腹板与底板交角处为小圆倒角,模板线形施工难度大,模板拆除困难。3、桥面外观质量要求高;三、模板设计原则根据本桥支架方案的具体和受力情况,考虑到砼成型后,梁体模板拼缝线条的中线全桥贯通,其它线条都顺直、流畅、平整。同时考虑业主的要求,以及模板、方木、支架的周转日期及经济效益。四、施工总体安排当墩柱施工完成后,进行支架的施工。支架施工完工,经监理验收合格后,就进行下一步模板的施工。根据设计要求,本工程每孔计划浇灌砼三次,从0#承台开始,形成流水作业。斜腹板箱梁计划采用定型钢模板作面板,直腹板箱梁计项目经理/郑大榕工区主任/邓建林工区副主任/聂作彬技术主管/周彦军工区副主任/罗彩惠作业班组/模工班划采用钢木组合形式。据工期要求,本工程拟用150延米面板作为周转材料。五、施工组织安排成立中隧集团南京地铁TA1标项目经理部,项目经理郑大榕,项目副经理张新洲、詹建,项目总工张辉,下设“三部一室”,即工程部、安质部、经财部和办公室。本工程在项目部直接领导下,由第一工区负责施工。工区实行主任负责制,下设工区主任1名,技术主管1名,工区副主任2名,其它工作由项目部各业务部门共同协作完成。本工区的组织机构和人员组成如图所示。六、施工方案1、箱梁模板支架体系箱梁模板支架体系总结构见下图。斜腹板箱梁模板支架体系总结构图(大样)单位:cm直腹板箱梁模板支架体系总结构图(大样)单位:cm2、斜腹板箱梁施工箱梁底模和翼板底模均采用18×1220×2440mm竹胶板,箱梁侧模采用定型钢模。模板支撑横梁采用12×15cm2方木,U型支托内采用I10槽钢作分配梁。箱梁模板翼板支撑采用12×15cm2方木,利用脚手架上U型托来调节方木支撑的高度。支架体系采用重型门式满堂支架,上部采用立杆可调顶托,顶托上用I10槽钢做纵梁。纵梁上方在砼厚度小于1.4m时,用120×150mm方木做横梁,纵梁上方在砼厚度小于1.4m时,用120×150mm方木做横梁。模板横向采用钢木组合形式,钢模租用TA2标或TA3标的定型模板,每片钢模纵向。直腹板的图形为:3、直腹板箱梁施工采用钢木组合形式,即翼板两端采用定型钢模,其它均采用竹胶板铺设,其具体尺寸如下图:4、曲线段模板铺设方法先对整部分曲线进行计算,然后定制部分梯状的模型,同时采用调节缝隙宽度的办法。5、异形梁模板铺设方法因10#~11#,为异形梁,腹板处砼高1.4~2.3m,底板的圆倒角渐变为直角,斜腹板渐变为直腹板;11#~12#,底板宽2.0~4.77m,腹板处砼高2.3~1.4m。故斜腹板处用定型钢模,直腹板处采用18mm的竹胶板作面板。铺设方式仍用中线对分方式,即底板的中线全部贯通,从中线处沿桥横向按标准段方式铺设模板,其方式如下:6、底模下方木铺设腹板处砼不超过1.4m时,采用12×15cm2的方木铺设,其间距为39~42cm,上部面板采用18mm的竹胶板。腹板处砼超过1.4m时,方木采用规格为12×15cm2,其间距为30~35cm(具体尺寸见附图)。A)砼不超过1.4m时,方木受力计算...

1、当您付费下载文档后,您只拥有了使用权限,并不意味着购买了版权,文档只能用于自身使用,不得用于其他商业用途(如 [转卖]进行直接盈利或[编辑后售卖]进行间接盈利)。
2、本站所有内容均由合作方或网友上传,本站不对文档的完整性、权威性及其观点立场正确性做任何保证或承诺!文档内容仅供研究参考,付费前请自行鉴别。
3、如文档内容存在违规,或者侵犯商业秘密、侵犯著作权等,请点击“违规举报”。

碎片内容

高架桥箱梁模板施工技术方案(修订)

您可能关注的文档

黄金书屋+ 关注
实名认证
内容提供者

爱好英语教学和互联网行业,热爱教育事业,兢兢业业

确认删除?
VIP
微信客服
  • 扫码咨询
会员Q群
  • 会员专属群点击这里加入QQ群
客服邮箱
回到顶部