电脑桌面
添加小米粒文库到电脑桌面
安装后可以在桌面快捷访问

一、行政复议指南信息VIP免费

一、行政复议指南信息_第1页
1/3
一、行政复议指南信息_第2页
2/3
一、行政复议指南信息_第3页
3/3
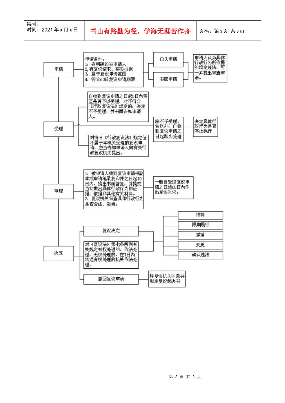
第1页共3页编号:时间:2021年x月x日书山有路勤为径,学海无涯苦作舟页码:第1页共3页行政复议指南信息一、行政复议的概念行政复议,是指公民、法人或者其他组织认为行政机关的具体行政行为侵犯其合法权益,依法向行政复议机关提出复查该具体行政行为的申请,行政复议机关依照法定程序对被申请的具体行政行为进行合法性、适当性审查,并做出行政复议决定的一种法律制度。二、有下列情形之一的,公民、法人或者其他组织可以依照本法申请行政复议:(一)对行政机关作出的警告、罚款、没收违法所得没收非法财物、责令停产停业、暂扣或者吊销许可证、暂扣或者吊销执照、行政拘留等行政处罚决定不服的;(二)对行政机关作出的限制人身自由或者查封、扣押、冻结财产等行政强制措施决定不服的;(三)对行政机关作出的有关许可证、执照、资质证资格证等证书变更、中止、撤销的决定不服的;(四)对行政机关作出的关于确认土地、矿藏、水流森林、山岭、草原、荒地、滩涂、海域等自然资源的所有权或者使用权的决定不服的;(五)认为行政机关侵犯合法的经营自主权的;(六)认为行政机关变更或者废止农业承包合同,侵犯第2页共3页第1页共3页编号:时间:2021年x月x日书山有路勤为径,学海无涯苦作舟页码:第2页共3页其合法权益的;(七)认为行政机关违法集资、征收财物、摊派费用或者违法要求履行其他义务的;(八)认为符合法定条件,申请行政机关颁发许可证、执照、资质证、资格证等证书,或者申请行政机关审批、登记有关事项,行政机关没有依法办理的;(九)申请行政机关履行保护人身权利、财产权利、受教育权利的法定职责,行政机关没有依法履行的;(十)申请行政机关依法发放抚恤金、社会保险金或者最低生活保障费,行政机关没有依法发放的;(十一)认为行政机关的其他具体行政行为侵犯其合法权益的。三、行政复议流程图第3页共3页第2页共3页编号:时间:2021年x月x日书山有路勤为径,学海无涯苦作舟页码:第3页共3页

1、当您付费下载文档后,您只拥有了使用权限,并不意味着购买了版权,文档只能用于自身使用,不得用于其他商业用途(如 [转卖]进行直接盈利或[编辑后售卖]进行间接盈利)。
2、本站所有内容均由合作方或网友上传,本站不对文档的完整性、权威性及其观点立场正确性做任何保证或承诺!文档内容仅供研究参考,付费前请自行鉴别。
3、如文档内容存在违规,或者侵犯商业秘密、侵犯著作权等,请点击“违规举报”。

碎片内容

一、行政复议指南信息

教育教学文库+ 关注
实名认证
内容提供者

本店有大量的教育教学资料,课件

确认删除?
VIP
微信客服
  • 扫码咨询
会员Q群
  • 会员专属群点击这里加入QQ群
客服邮箱
回到顶部