电脑桌面
添加小米粒文库到电脑桌面
安装后可以在桌面快捷访问

陕西省委组织部XXXX年选调生招录职位表VIP免费

陕西省委组织部XXXX年选调生招录职位表_第1页
1/32
陕西省委组织部XXXX年选调生招录职位表_第2页
2/32
陕西省委组织部XXXX年选调生招录职位表_第3页
3/32
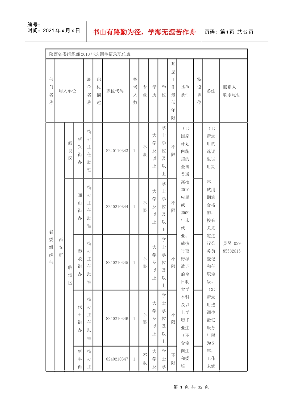
第1页共32页编号:时间:2021年x月x日书山有路勤为径,学海无涯苦作舟页码:第1页共32页陕西省委组织部2010年选调生招录职位表部门名称用人单位职位名称职位描述职位代码招考人数专业学历学位基层工作最低年限其他条件特设职位备注联系人联系电话省委组织部西安市阎良区新兴街办街办主任助理82401103431不限大学及以上学士学位及以上不限(1)国家计划内统招的全国普通高校2010应届或2009年未就业、能按时取得派遣证的全日制大学本科及以上学历毕业生(不含定向生和委培(1)新录用的选调生试用期一年,试用期满合格的,按有关规定进行公务员登记和任职定级。(2)新录用选调生最低服务年限为5年,工作未满吴昱029-85582615临潼区骊山街办街办主任助理82402103441不限大学及以上学士学位及以上不限秦陵街办街办主任助理82402103451不限大学及以上学士学位及以上不限代王街办街办主任助理82402103461不限大学及以上学士学位及以上不限新丰街街办主82402103471不限大学及学士学不限第2页共32页第1页共32页编号:时间:2021年x月x日书山有路勤为径,学海无涯苦作舟页码:第2页共32页办任助理以上位及以上生)。(2)学习成绩优良,截止2010年7月31日,取得毕业证书和学位证书。(3)大学本科5年不得辞职。(3)县级以上党政机关补充工作人员,优先从在基层工作两年以上的选调生零口街办街办主任助理82402103481不限大学及以上学士学位及以上不限长安区杜曲街办街办主任助理82403103491不限大学及以上学士学位及以上不限太乙宫街办街办主任助理82403103501不限大学及以上学士学位及以上不限引镇街办街办主任助理82403103511不限大学及以上学士学位及以上不限王曲街办街办主任助理82403103521不限大学及以上学士学位及以上不限蓝三乡82404103531不大学不第3页共32页第2页共32页编号:时间:2021年x月x日书山有路勤为径,学海无涯苦作舟页码:第3页共32页田区里镇镇长助理限学及以上士学位及以上限日以后出生),博士研究生在30周岁以下(1980年7月31日以后出生)。(4)中共党员(含预备党员)。(5)有较强的事业心和责任感,有志到基层、艰苦地方工作锻炼,有较强的吃苦厚镇乡乡镇长助理82404103541不限大学及以上学士学位及以上不限普化镇乡镇长助理82404103551不限大学及以上学士学位及以上不限孟村乡乡镇长助理82404103561不限大学及以上学士学位及以上不限周至区司竹乡乡镇长助理82405103571不限大学及以上学士学位及以上不限辛家寨乡乡镇长助理82405103581不限大学及以上学士学位及以上不限第4页共32页第3页共32页编号:时间:2021年x月x日书山有路勤为径,学海无涯苦作舟页码:第4页共32页精神,有发展潜力,组织协调能力较强。四屯乡乡镇长助理82405103591不限大学及以上学士学位及以上不限侯家村乡乡镇长助理82405103601不限大学及以上学士学位及以上不限户县甘亭镇乡镇长助理82406103611不限大学及以上学士学位及以上不限玉蝉乡乡镇长助理82406103621不限大学及以上学士学位及以上不限石井镇乡镇长助理82406103631不限大学及以上学士学位及以上不限高陵县榆楚乡82407103641不限大学及以上学士学位及以不限第5页共32页第4页共32页编号:时间:2021年x月x日书山有路勤为径,学海无涯苦作舟页码:第5页共32页上药惠管委会主任助理82407103651不限大学及以上学士学位及以上不限宝鸡市凤翔县田家庄镇乡镇长助理82401103661不限大学及以上学士学位及以上不限糜杆桥镇乡镇长助理82401103671不限大学及以上学士学位及以上不限扶风县城关镇乡镇长助理82402103681不限大学及以上学士学位及以上不限太白乡乡镇长助理82402103691不限大学及以上学士学位及以上不限陇县城关镇乡镇长助82403103701不限大学及以学士学位不限第6页共32页第5页共32页编号:时间:2021年x月x日书山有路勤为径,学海无涯苦作舟页码:第6页共32页理上及以上凤县岩湾乡乡镇长助理82404103711不限大学及以上学士学位及以上不限太白县咀头镇乡镇长助理82405103721不限大学及以上学士学位及以上不限鹦鸽镇乡镇长助理82405103731不限大学及以上学士学位及以上不限黄柏塬乡乡镇长助理82405103741不限大学及以上学士学位...

1、当您付费下载文档后,您只拥有了使用权限,并不意味着购买了版权,文档只能用于自身使用,不得用于其他商业用途(如 [转卖]进行直接盈利或[编辑后售卖]进行间接盈利)。
2、本站所有内容均由合作方或网友上传,本站不对文档的完整性、权威性及其观点立场正确性做任何保证或承诺!文档内容仅供研究参考,付费前请自行鉴别。
3、如文档内容存在违规,或者侵犯商业秘密、侵犯著作权等,请点击“违规举报”。

碎片内容

陕西省委组织部XXXX年选调生招录职位表

您可能关注的文档

确认删除?
VIP
微信客服
  • 扫码咨询
会员Q群
  • 会员专属群点击这里加入QQ群
客服邮箱
回到顶部