电脑桌面
添加小米粒文库到电脑桌面
安装后可以在桌面快捷访问

质量控制措施(DOC151页)VIP免费

质量控制措施(DOC151页)_第1页
1/143
质量控制措施(DOC151页)_第2页
2/143
质量控制措施(DOC151页)_第3页
3/143
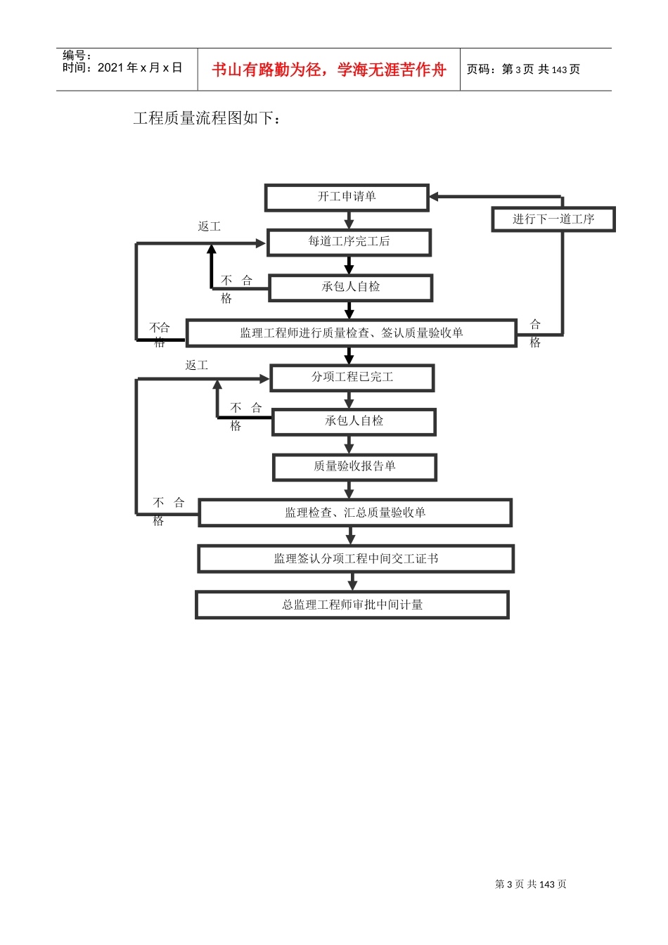
第1页共143页编号:时间:2021年x月x日书山有路勤为径,学海无涯苦作舟页码:第1页共143页质量控制措施施工阶段是业主意图最终实现并形成工程实体的阶段,也是最终形成建设工程价值和使用价值的主要阶段。因此,工程质量控制自然成为监理工作的核心,为实现业主的工程建设总目标,按照与业主签订监理合同的内容,依据设计文件有关施工验收规范及质量评定标准,我公司将充分行使事前介入权、事中检查权、事后验收权、检验认证权、取样见证权、质量否决权。质量监控总的思路是以工艺质量确保工序质量、以工序质量确保分项质量、以分项质量确保分部质量、以分部质量确保单位工程质量,进而达到保证整个工程项目质量目标的实现。第一节项目的质量计划一、质量监理的任务监理人员应对施工全过程进行检查、监督和管理,消除影响工程质量的各种不利因素,使承包单位提交的工程项目符合合同图纸、技术规范、使用要求和验收标准,争创优质工程。二、质量控制目标1、质量控制目标:质量标准:达到国家现行验收合格标准。2、质量方针坚持“百年大计,质量第一”的方针,坚持质量安全终身责任制的原则;遵纪守法、信守合同。坚持按业主要求指导我们的工作,确保工程质量达到业主的要求,并符合国家现行相关行业技术标准的要求。3、质量管理体系在本工程施工监理初期,我公司将根据工程具体特点,建立完善、层次分明、责任明确的质量保证体系,接受建设单位、承包单位、相关第2页共143页编号:时间:2021年x月x日书山有路勤为径,学海无涯苦作舟页码:第2页共143页政府部门的分层次质量管理及质量监督。三、质量控制的基本步骤及监理流程质量控制按以下流程进行:1、工程开工报告:工程开工报告应表明材料、设备、劳力及现场管理人员等项的准备情况,并提供放线测量、标准试验、施工图及施工方案等必要的基础资料。2、自检报告:承包人的自检人员按照监理批准的工艺流程和提出的工序检查程序,在每道工序(工艺)完工后先进行自检。自检合格后,申报监理进行检查验收。3、工序检查认可:监理紧接承包人的自检或与承包人的自检同时进行每道工序(工艺)完工后的检查验收,对不合格的工序(工艺)指令承包人进行缺陷修补或返工,前道工序未经检查验收;后道工序不得进行。4、中间交工报告:当组成一个工程的单位工程、分部或分项工程完工后,承包人的自检人员应再进行一次系统的自检,汇总各道工序的检查记录及测量和抽样试验结果提出交工报告。由监理组织验收。自检资料不全的交工报告,拒绝验收。5、中间交工证书:对完工的分项工程进行一次系统的检查验收,监理作检测或抽样试验,检查合格后,签认《中间交工证书》。未经中间交工检验和检验不合格的分项工程,不得交付下项工程使用或进行下项工程项目的施工。计量证书:对填报了《中间交工证书》的单位工程、分部工程、分项工程、方可进行计量并填报《中间计量证书》。完工项目的交工资料不合格或结束整理工作未完,不得计量支付。第3页共143页编号:时间:2021年x月x日书山有路勤为径,学海无涯苦作舟页码:第3页共143页工程质量流程图如下:开工申请单每道工序完工后承包人自检进行下一道工序承包人自检质量验收报告单监理工程师进行质量检查、签认质量验收单监理检查、汇总质量验收单监理签认分项工程中间交工证书总监理工程师审批中间计量分项工程已完工返工不合格不合格不合格不合格返工合格第4页共143页编号:时间:2021年x月x日书山有路勤为径,学海无涯苦作舟页码:第4页共143页四、工程质量控制原则坚持质量第一的原则坚持以人为核心的原则坚持以预防为主的原则检查质量标准的原则坚持科学、公正、守法的职业道德规范五、工程质量的控制方法1、管理工作中,首先预控的方法,通过分析施工图设计意图和工艺特点,找出容易出现质量问题的薄弱环节。通过会议、交底、图表、指令等口头和书面文件的方式控制。同时,对新材料、新工艺、新技术进行施工前论证实验;加强施工方案、措施的事前审核。2、采取现场实际量测的传统方法,加强平行检测、检验控制工序质量,以求保证分项工程质量;同时,对新材料、新工艺、新技术进行施工过...

1、当您付费下载文档后,您只拥有了使用权限,并不意味着购买了版权,文档只能用于自身使用,不得用于其他商业用途(如 [转卖]进行直接盈利或[编辑后售卖]进行间接盈利)。
2、本站所有内容均由合作方或网友上传,本站不对文档的完整性、权威性及其观点立场正确性做任何保证或承诺!文档内容仅供研究参考,付费前请自行鉴别。
3、如文档内容存在违规,或者侵犯商业秘密、侵犯著作权等,请点击“违规举报”。

碎片内容

质量控制措施(DOC151页)

您可能关注的文档

确认删除?
VIP
微信客服
  • 扫码咨询
会员Q群
  • 会员专属群点击这里加入QQ群
客服邮箱
回到顶部