电脑桌面
添加小米粒文库到电脑桌面
安装后可以在桌面快捷访问

ALM3S6432强大的MCU内核简介32位ARMCVIP免费

ALM3S6432强大的MCU内核简介32位ARMC_第1页
1/4
ALM3S6432强大的MCU内核简介32位ARMC_第2页
2/4
ALM3S6432强大的MCU内核简介32位ARMC_第3页
3/4
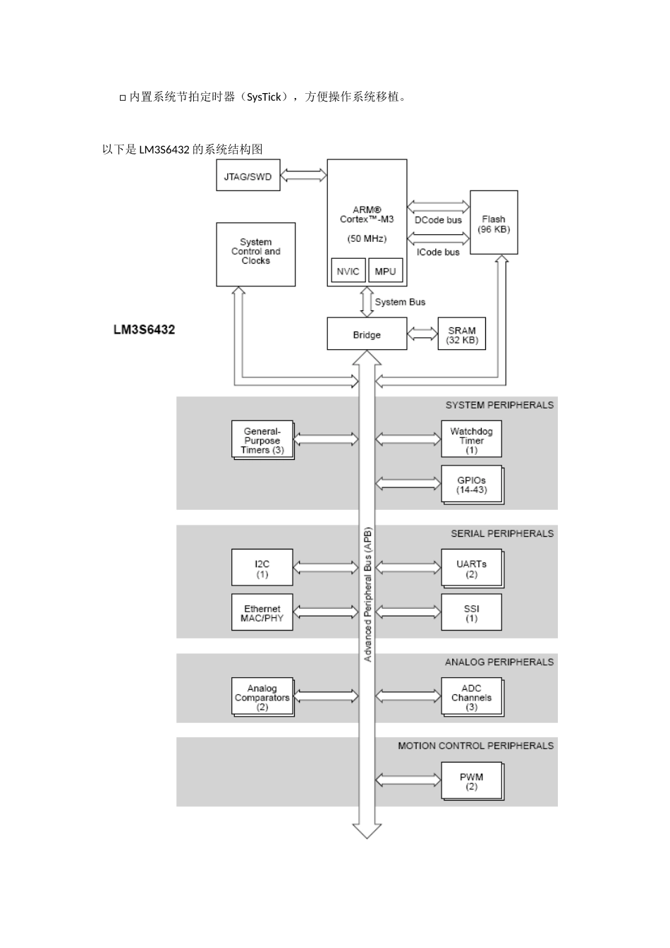
A.LM3S6432强大的MCU内核简介□32位ARMCortex-M3内核(ARMv7M架构);□Thumb兼容的Thumb-2-only指令集,提高代码密度25%以上;□50MHz运行频率,1.25DMIPS/MHz,加快35%以上;□单周期乘法指令,2~12周期硬件除法指令;□集成的嵌套式的中断控制器(NVIC)提供确定性的中断处理,6~12个时钟周期;□具有MPU保护设定访问规则;□29个中断和8个中断优先级控制;□存储器保护单元(MPU),提供一个受保护的操作系统特权模式功能;□96KB单周期Flash,32KB单周期SRAM;□内置可编程的LDO输出2.25V~2.75V,步进50mV,为硬件系统节省一个电源稳压器;□支持非对齐数据的访问,有效地压缩数据到内存;□支持位操作(bit-banding区),最大限度使用内存,并提供创新的外设控制;□内置系统节拍定时器(SysTick),方便操作系统移植。以下是LM3S6432的系统结构图B.嵌入式串口转以太网控制器(应用DEMO)主板介绍功能特点嵌入式串口转以太网控制器是一款具有高效性能并集成了ARMCortex-M3微处理器的串行至以太网控制器。该控制器的核心是高度集成的32位StellarisLM3S6432ARMCortex-M3微处理器,具有50MHz性能和96K快速单周期片上闪存及32KSARAM内存,可高效处理网络流量。Stellaris系列微处理器采用LQFP-100封装,并集成了片上10/100MB以太网MAC和PHY,从而能够最大限度的节省空间。产品特性□LM3S6432Stellaris控制器拥有96KB的Flash空间和32KB的SRAM空间□10/100Mb以太网端口自动MDI/MDIX交叉纠正流量和链接指示灯内建2kv涌浪保护□2个UART端口并包含用于流控制的RTS/CTSUART0具有CMOS/TTL级别,收发器的最高运行速度可达250Kb/秒UART1具有CMOS/TTL级别,运行速度可达1.5Mb/秒。用户二次开发还可作为4个GPIO。端口参数可任意配置。□软件功能支持静态IP地址或DHCP的IP配置用于接入串行端口的Telnet服务器用于模块配置的WEB服务器用于设备发现的UDP响应器(uPnP设备)用于以太网串行端口扩展器的Telnet客户端用于安全通信的SSH服务器以太网远程固件升级□模块支持5V和3.3V电源□采用双排插针□用于出厂编程的4PinJTAG端口焊盘C.嵌入式串口转以太网控制器(应用DEMO)底板介绍与嵌入式串口转以太网控制器主板配套使用,具有如下资源□USB5V供电□具有独立的JTAG调试接口,可分别对外和对内仿真□具有一个虚拟串口,省去了电平转换□一个485通信接口□一个RJ45网口,可直接挂载到以太网上□一个RS232通信接口,可直接与PC机相连

1、当您付费下载文档后,您只拥有了使用权限,并不意味着购买了版权,文档只能用于自身使用,不得用于其他商业用途(如 [转卖]进行直接盈利或[编辑后售卖]进行间接盈利)。
2、本站所有内容均由合作方或网友上传,本站不对文档的完整性、权威性及其观点立场正确性做任何保证或承诺!文档内容仅供研究参考,付费前请自行鉴别。
3、如文档内容存在违规,或者侵犯商业秘密、侵犯著作权等,请点击“违规举报”。

碎片内容

ALM3S6432强大的MCU内核简介32位ARMC

您可能关注的文档

确认删除?
VIP
微信客服
  • 扫码咨询
会员Q群
  • 会员专属群点击这里加入QQ群
客服邮箱
回到顶部