电脑桌面
添加小米粒文库到电脑桌面
安装后可以在桌面快捷访问

网络协议安全性测试VIP免费

网络协议安全性测试_第1页
1/7
网络协议安全性测试_第2页
2/7
网络协议安全性测试_第3页
3/7
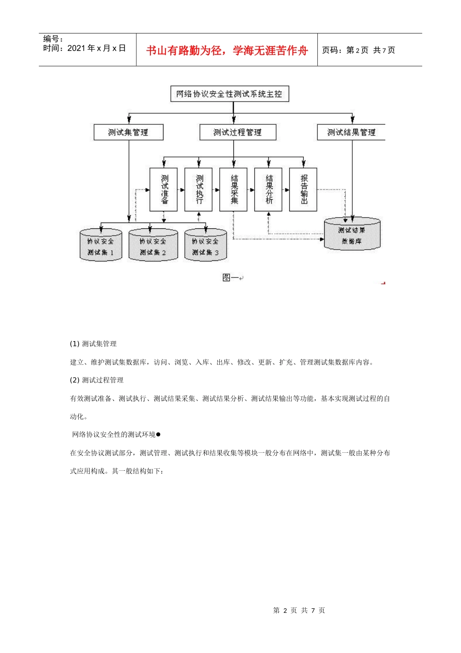
第1页共7页编号:时间:2021年x月x日书山有路勤为径,学海无涯苦作舟页码:第1页共7页网络协议安全性测试网络协议安全性测试包括安全协议测试和协议安全性测试。网络协议安全性测试的主要功能是对Internet体系中的安全协议和TCP/IP协议族进行安全性测试,这种测试是针对包含协议实现的产品或独立模块进行的。安全协议测试的功能是对包含了SSL、IPSec和Kerberos安全协议实现的产品(如IPSec产品)或独立模块进行各种标称安全功能的测试;协议安全性测试要求对TCP/IP协议族的具体实现模块进行抗攻击测试;另外,安全机制对协议实现性能的影响也是测试的内容。一、主要技术指标网络协议安全性测试系统按照测试集管理、测试过程管理和测试结果管理为主线进行开发,提供友好的用户界面,有效支持测试准备、测试执行、测试结果采集、测试结果分析和测试报告生成,同时具有良好的开放性和可扩展性,便于系统的功能扩充和动态升级。1.能对包含IPSec、SSL和Kerberos协议的产品或模块进行功能测试。2.采用Benchmark测试在上述协议典型应用中(如VPN)各种使用方式的吞吐量、时延等数据。3.能对TCP/IP协议族的具体实现模块进行抗攻击性测试,如抗IP地址欺骗能力、抗物理地址欺骗能力、抗TCP序列号攻击能力等。二、总体方案1.集成环境网络协议安全性测试系统以测试集管理、测试过程管理、测试结果管理为主线分别集成为用户界面友好的一体化环境,有效支持测试准备、测试执行、测试结果采集、测试结果分析、测试报告生成。2.系统架构如下图所示。第2页共7页第1页共7页编号:时间:2021年x月x日书山有路勤为径,学海无涯苦作舟页码:第2页共7页(1)测试集管理建立、维护测试集数据库,访问、浏览、入库、出库、修改、更新、扩充、管理测试集数据库内容。(2)测试过程管理有效测试准备、测试执行、测试结果采集、测试结果分析、测试结果输出等功能,基本实现测试过程的自动化。网络协议安全性的测试环境在安全协议测试部分,测试管理、测试执行和结果收集等模块一般分布在网络中,测试集一般由某种分布式应用构成。其一般结构如下:第3页共7页第2页共7页编号:时间:2021年x月x日书山有路勤为径,学海无涯苦作舟页码:第3页共7页(3)测试结果管理建立、维护测试结果数据库,访问、浏览、入库、出库、修改、更新、扩充、显示、管理测试结果数据库内容。(4)测试集数据库测试集数据库用来存网络协议安全性测试集。测试集主要包括:安全功能测试集:各种安全功能的测试集。包括针对多数产品普遍的功能测试用例以及产品一些特定功能的测试用例,新的模块可通过系统维护接口添加升级。安全性能测试集:进行性能测试的程序集合,其中主要是对基本的网络性能,如吞吐率和延迟的标准测试程序。脆弱性测试集:针对各种系统脆弱性、安全漏洞进行攻击的测试集。包括针对普遍的安全漏洞的攻击测试用例及系统特定的脆弱性测试用例,需要及时的更新、升级。(5)测试结果数据库测试结果数据库用来存储各种测试结果。测试结果数据库的主要内容包括中间测试结果、最终测试结果、历史测试结果、测试分析报告等。在测试之前,系统首先要进行测试准备,建立测试过程;然后,通过测试过程管理提交测试程序,激活测试程序,控制测试程序执行,收集、采集测试结果;最后,进行测试结果分析,生成测试分析报告,打印、显示测试结果,产生评测报告。第4页共7页第3页共7页编号:时间:2021年x月x日书山有路勤为径,学海无涯苦作舟页码:第4页共7页三、系统配套设备和软件方案1.配套设备方案(1)测试集成管理环境配套设备方案测试集成管理环境的主要作用是对网络产品安全性的各种测试集进行集中的管理和控制,它本身对硬件环境的要求比较单一。其配套设备为Windows或Unix硬件平台、数据库管理系统以及相应的编程工具。(2)协议安全性测试系统配套设备方案本系统的运行环境要求:高性能PC及被测系统硬件平台;运行平台为WINDOWS及被测系统软件平台;还有配套设备,如数据发生器等。本测试软件安装在WINDOWS及与被测系统发生交互的主机上,它通过对安全协议软件的通信数据进行分析或通过运行在被测协议上的有关测试程序来...

1、当您付费下载文档后,您只拥有了使用权限,并不意味着购买了版权,文档只能用于自身使用,不得用于其他商业用途(如 [转卖]进行直接盈利或[编辑后售卖]进行间接盈利)。
2、本站所有内容均由合作方或网友上传,本站不对文档的完整性、权威性及其观点立场正确性做任何保证或承诺!文档内容仅供研究参考,付费前请自行鉴别。
3、如文档内容存在违规,或者侵犯商业秘密、侵犯著作权等,请点击“违规举报”。

碎片内容

网络协议安全性测试

您可能关注的文档

中小学文库+ 关注
实名认证
内容提供者

精品资料应用尽有

确认删除?
VIP
微信客服
  • 扫码咨询
会员Q群
  • 会员专属群点击这里加入QQ群
客服邮箱
回到顶部