电脑桌面
添加小米粒文库到电脑桌面
安装后可以在桌面快捷访问

科技大学教工住宅工程施工监理实施细则VIP免费

科技大学教工住宅工程施工监理实施细则_第1页
1/18
科技大学教工住宅工程施工监理实施细则_第2页
2/18
科技大学教工住宅工程施工监理实施细则_第3页
3/18
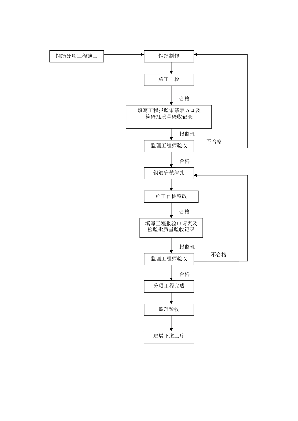
房建工程施工监理施行细那么一、工程概况:××科技大学××#、××#、××#教工住宅工程均位于××科技大学西安校区生活区内,生活区的北侧为村庄,南侧为国道,西侧为空地,东侧为国道。三栋楼均为现浇剪力墙构造。地下一层,地上十一层。××#楼建筑面积××㎡,建筑高度××m。××#楼建筑面积××㎡,建筑高度××m。××#楼建筑面积××㎡,建筑高度××m。本细那么使用于建筑住宅楼工程。二、执行:1、建筑工程施工质量验收统一GB50300-20012、混凝土构造工程施工质量验收GB50204-20023、工程建立强迫性条文(房屋建筑局部)GB50203-20024、砌体工程施工质量验收GB50203-2002三、监理工作流程:1、原材料质量控制流程:2、施工质量控制流程:a、钢筋施工质量控制:原材料进场施工自检合格填写材料报验单及检验批质量验收记录报监理监理工程师验收合格投入使用不合格钢筋分项工程施工钢筋制作施工自检填写工程验收单及检验批质量验收记录报监理合格施工自检整改合格报监理监理验收合格合格填写工程报验审请表A-4及检验批质量验收记录监理工程师验收钢筋安装绑扎监理工程师验收分项工程完成填写工程报验申请表及检验批质量验收记录不合格不合格进展下道工序b、模板施工质量控制流程:c、砼施工质量控制流程:施工编制专项方案报监理监理工程师审查通过模板安装施工自检合格未通过填写工程报验申请表及检验批质量验收记录报监理监理工程师审查合格进展下道工序不合格d、砌体工程质量控制流程:四、施工准备阶段质量控制措施:1、认真熟悉图纸,并将图纸中存在的问题通过建立向设计提出书面和建议。报监理合格报监理监理工程师审查通过施工填写砼浇注申请表监理工程师检查不合格浇注砼施工编制大体积砼施工浇注方案砼墙体砌筑合格合格报监理合格施工施工填写工程报验申请表及检验批质量验收记录监理工程师检查进展下道工序不合格2、审查施工的质量保证体系和质量理体系是否健全。3、检查施工的施工机械是否满足工程要求,施工应将到场的施工机械向监理部报验,并填报设备报审表,经监理审验合格前方可进展施工。认真审查施工上报的施工方案,施工施工前应将施工方案报监理部经监理工程师审查批准前方可施行。4.检查施工准备落实情况及特殊工种的上岗证。5.分包工程开工前,施工应填写分包资质报审表和分包有关资料报监理部审查,监理工程师应审查承包报送的分包资格报审表和分包有关资料。审查确认前方可施工。五、钢筋工程施工监理施行细那么:__1、质量1.1、钢筋加工的质量钢筋加工应符合?混凝土构造工程施工质量验收?(GB50204-2002)的规定。主控项目序项目1力学性能检验第5.2.1条2抗震用钢筋强度实测值第5.2.2条3化学成分等专项检验第5.2.3条4受力钢筋的弯钩和弯折第5.3.1条5箍筋弯钩形式第5.3.2条一般项目1外观质量第5.2.4条2钢筋调直第5.3.3条3钢筋施工的形状尺寸受力钢筋顺长度方向全长的净尺寸+-10mm弯起钢筋的弯折位置+-20mm箍筋内净尺寸+-5mm1.2、钢筋安装质量钢筋安装应符合?混凝土构造工程施工质量验收?(BG50204-2002)规定。主控工程序项目质量1纵向钢筋的连接方式第5.4.1条2机械连接接头和焊接接头的力学性能第5.4.2条3受力钢筋的品种,级别,规格和数量第5.5.1条一般项1接头位置和数量第5.4.3条2机械连接和焊接的外观质量第5.4.4条3机械连接和焊接的接头面积百分率第5.4.5条4绑扎搭接接头面积百分率和搭接长度第5.4.6条5受力钢筋搭接长度范围内的箍筋第5.4.7条钢筋绑扎钢筋网长,宽+-10mm网眼尺寸+-20mm绑扎钢筋骨架长+-10mm宽,高+-5mm间距+-10mm目6安装允许偏向受力钢筋排距+-8mm保护层厚度根底+-10mm柱.梁+-5mm板.墙.壳+-3mm绑扎箍筋,横向间距+-20mm钢筋弯起点位置20mm预埋件中心线位置5mm程度高差+3.0mm2、质量控制目的主控工程合格率达100.一般工程合格率达80以上。3、质量控制点设置质量控制点监理控制手段品种,规格,尺寸检查,实测实量数量,位置实测实量连接方式,接头位置观察,实测实量接头数量,接头面积百分率观察箍筋间距钢尺实测实量预埋件规格数量,位置观察,实测实量4、质量控制措施4.1、施工准备阶段质量控制(事前控制)。4.1.1、认真审查施工上报的施工方案。、检查施工的施工机械是否...

1、当您付费下载文档后,您只拥有了使用权限,并不意味着购买了版权,文档只能用于自身使用,不得用于其他商业用途(如 [转卖]进行直接盈利或[编辑后售卖]进行间接盈利)。
2、本站所有内容均由合作方或网友上传,本站不对文档的完整性、权威性及其观点立场正确性做任何保证或承诺!文档内容仅供研究参考,付费前请自行鉴别。
3、如文档内容存在违规,或者侵犯商业秘密、侵犯著作权等,请点击“违规举报”。

碎片内容

科技大学教工住宅工程施工监理实施细则

文本预览

{php // 将文本按句子/段落分割,输出为段落标签,更利于SEO $paragraphs = preg_split('/[\n\r]+/', trim($seo_txt)); foreach($paragraphs as $p) { $p = trim($p); if(strlen($p) > 5) { echo '

' . htmlspecialchars($p) . '

'; } } }
展开全部 ▼
确认删除?
VIP
微信客服
  • 扫码咨询
会员Q群
  • 会员专属群点击这里加入QQ群
客服邮箱
回到顶部