电脑桌面
添加小米粒文库到电脑桌面
安装后可以在桌面快捷访问

市政给水管道工程监理细则VIP免费

市政给水管道工程监理细则_第1页
1/25
市政给水管道工程监理细则_第2页
2/25
市政给水管道工程监理细则_第3页
3/25
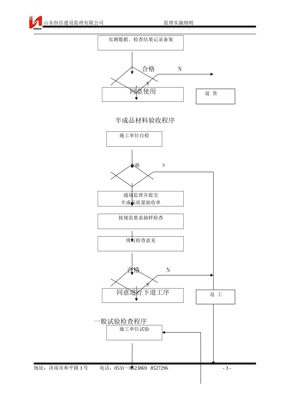
山东恒信建设监理有限公司监理实施细则市政给水管道工程监理细则一、专业工程概况(编制人员根据所监理的工程特点填写)二、细则编制依据(编制人员根据工程具体情况补充)1.《建筑工程监理规范》GB50319-2000;2.《建筑工程施工质量验收统一标准》GB50300-2001;3.本工程的给排水、采暖专业施工图纸;4.已批准的本工程的《监理规划》5.《建筑给水排水及采暖工程施工质量验收规范》GB50242-2002;6.国家有关规范与验收标准7、公司ISO9001:2000质量管理体系文件8、本工程的施工组织设计三、监理工作流程工程材料质量控制基本程序不合格合格安装工程隐检、预检及分部分项工程验收程序各项设备材料质量保证资料齐全隐、预检工程分部分项工程分别验收签认完成分部分项工程自检合格、隐蔽工程完成施工单位施工单位施工单位填报验申请表及隐验记录、检验批报项目监理部施工单位地址:济南市和平路3号电话:0531—85238698527296-1-承包单位填写(工程材料/构配件/设备报验单)承包单位另选专业监理工程师审核方法:1、审核质量保证资料2、到厂家考察3、进场材料检验4、进行验证复试承包单位使用山东恒信建设监理有限公司监理实施细则1、审核各项质量保证资料是否齐全2、检查隐、预验及分部分项工程是否完成3、检查检验批、分部、分项工程质量是否合格项目监理部各有关专业监理工程师验收合格验收不合格监理工程师监理工程师验收合格监理工程师安装材料验收程序施工单位自检合格NY通知监理、甲方并提交质保单、合格证三方一起按标准要求抽样地址:济南市和平路3号电话:0531—85238698527296-2-山东恒信建设监理有限公司监理实施细则实测数据、检查结果记录备案合格NY同意使用半成品材料验收程序施工单位自检合格N通知监理并提交半成品质量验收单按规范要求抽样检查填写检查意见合格NY同意进行下道工序一般试验检查程序施工单位试验地址:济南市和平路3号电话:0531—85238698527296-3-退货返工山东恒信建设监理有限公司监理实施细则自检返工合格NY通知监理人员双方一起检查合格NY签署试验记录四、监理工作的控制目标值及控制要点(一).质量控制1、质量控制目标值根据业主要求及施工合同,根据工程要求确定。2、质量控制要点及方法2、给水管道工程施工监理工作:2.1给水管道施工工艺流程(见图1.1.1)图2.1.1施工工艺流程图地址:济南市和平路3号电话:0531—85238698527296-4-准备工作测量放线沟槽开挖作垫层和管基下管装管阀门安装接口水压试验作管道附件井回填清洗消毒山东恒信建设监理有限公司监理实施细则2.2给水管道工程质量监理工作流程(见图1.2.1)不同意合格图2.2.1给水管道工程质量监理工作流程图3.给水管道测量放样质量监理3.1.监理工作流程3.1.1测量放样工艺流程图(见图2.1.1)图3.1.1给水管道测量放样工艺流程地址:济南市和平路3号电话:0531—85238698527296-5-填写开工申请单承建商施工组织设计施工技术.安全措施管材、配件、材料检验报告进场人员设备监理工程师审批填写每道工序质量检验通知单承建商现场检查现场监理员试验室试验监理试验员监理检查结果报监理工程师监理审批监理工程师填写质量验收单单项工程完成填写中间交工验收单承建商汇总:测量、沟槽、基础、安装、接口、水压、试验、冲洗、消毒等各工序的质量验收单并编号填入(中间交工证书)监理工程师监理工程师现场抽样检查签认给水工程交工证书监理工程师合同条款规范要求自检合格资料返工返工不合格不合格熟悉图纸有关数据内业准备测量前准备工作按要求设水准点按要求放中心桩方向桩管道中心线坡度板管道中心,高程山东恒信建设监理有限公司监理实施细则3.1.2给水管道测量放样监理流程见图2.1.2测量放样开工申请单承建商不同意核对水准点方位角坡度板承建商管渠中线.高程.附属构筑位置支管位置质量验收通知单承建商现场检测现场监理工程师地址:济南市和平路3号电话:0531—85238698527296-6-监理工程师审核测量前熟悉图纸做好准备工作山东恒信建设监理有限公司监理实施细则签认交工证书监理工程师图3.1.2测量放样监理流程3.2监理工作内容:3.2.监理工作内容:3.2.1要求3.2.1.1要求承包人,测量人员熟悉图纸,掌...

1、当您付费下载文档后,您只拥有了使用权限,并不意味着购买了版权,文档只能用于自身使用,不得用于其他商业用途(如 [转卖]进行直接盈利或[编辑后售卖]进行间接盈利)。
2、本站所有内容均由合作方或网友上传,本站不对文档的完整性、权威性及其观点立场正确性做任何保证或承诺!文档内容仅供研究参考,付费前请自行鉴别。
3、如文档内容存在违规,或者侵犯商业秘密、侵犯著作权等,请点击“违规举报”。

碎片内容

市政给水管道工程监理细则

海纳百川+ 关注
实名认证
内容提供者

热爱教学事业,对互联网知识分享很感兴趣

确认删除?
VIP
微信客服
  • 扫码咨询
会员Q群
  • 会员专属群点击这里加入QQ群
客服邮箱
回到顶部