第1页共9页员工填写《员工免打卡申请表》权限行政管理部审核、备案权限人批准编号:时间:2021年x月x日书山有路勤为径,学海无涯苦作舟页码...
第1页共8页编号:时间:2021年x月x日书山有路勤为径,学海无涯苦作舟页码:第1页共8页员工手册范本(医药类)XX集团目录一、前言二、公司简...
日常考勤管理流程1.流程说明本流程主要描述了针对各项加班申请、请假申请、出差申请、日常值班记录、日常轮班记录以及其他各种异常考勤的审...
第1页共9页编号:时间:2021年x月x日书山有路勤为径,学海无涯苦作舟页码:第1页共9页考勤管理制度1.目的为了规范公司考勤管理,严肃工作纪...
第1页共38页编号:时间:2021年x月x日书山有路勤为径,学海无涯苦作舟页码:第1页共38页K/3人力资源标准操作规程考勤管理密级:★高★版本...
第1页共8页编号:时间:2021年x月x日书山有路勤为径,学海无涯苦作舟页码:第1页共8页修订记录版次修订内容修订日期01新发行02030405060708...
第1页共2页编号:时间:2021年x月x日书山有路勤为径,学海无涯苦作舟页码:第1页共2页所有员工/当日活动时间记录日期员工姓名上班时间午餐...
第1页共19页编号:时间:2021年x月x日书山有路勤为径,学海无涯苦作舟页码:第1页共19页员工手册(商场类)聘用每位员工在签订劳动合同前应...
第一部分考勤管理及制度1、总则1.1为进一步强化本公司劳动纪律,完善和规范管理制度,维护良好的工作秩序,提高工作效率,保证公司生产、管...
规范考勤管理的通知公司各位员工:为规范公司工作秩序,加强考勤管理,严肃工作纪律,提高工作效率,促使员工养成遵章守纪的习惯,人事部要...
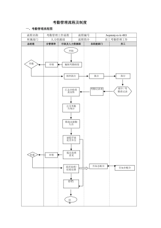
考勤管理流程及制度一、考勤管理流程图流程名称考勤管理工作流程流程编号Jwpmmj-rz-lc-003所属部门人力资源部流程简介员工考勤管理工作总经...
目录1.工作时间......................................................................................................................
员工纪律考勤管理实施细则1、总则1.1目的《考勤管理实施细则》(以下简称本制度)旨在通过建立考勤管理的机构、程序和标准,以达到加强输油...
1关于规范集团员工考勤管理工作的通知各路段公司、本部各部门:为规范集团员工考勤、加班、休假等日常管理有关事项,现就员工考勤管理工作补...
关于进一步规范教职工考勤管理的通知区教发[2010]36号各乡(镇)学区、独立初中,区直各校(园):为进一步规范学校人事管理,维护学校和教...
关于考勤管理学习心得体会考勤如果不公正,很容易造成双方之间的矛盾,考勤员需要有一颗公正公平的心,下面小编整理了考勤管理学习心得体会...
考勤管理学习心得体会范文考勤管理学习心得体会能够担任班级考勤员这一职务,并且能够参加本次考勤员培训学习,我感到非常的荣幸。通过本次...
考勤管理学习心得体会考勤管理学习心得体会篇一能够担任班级考勤员这一职务,并且能够参加本次考勤员培训学习,我感到非常的荣幸。通过本次...
考勤管理管理制度1.0目的为规范管理公司的办公设备,保证办公设备的良好运行,特制定本制度。2.0适用范围适用于本公司的办公设备,主要包括...
医院考勤管理工作制度一、全院职工必须遵守劳动纪律,按时上下班,坚守工作岗位,尽职尽责。二、实行院、科两级考勤制度,分别建立考勤簿,...

