注:正常用“√”表示,故障用“×”表示。消防维保单位负责人: 消防中心: 主管确认: 服务中心经理确认: 检查日期: 年 月 日序...
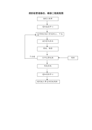
消防栓管道修改、维修工程流程图 不合格接到工程单通知监控中心关闭相应施工管道的上、下总挚放尽管内存水修改、维修打开总挚试漏恢复系统...
广东路农民新村二期自来水户表及消火栓管道安装工程承包合同建设单位:四川广汉经济开发区管理委员会(简称甲方)施工单位:成都三业建设有...
消防栓维修工程流程图恢复系统▼
消防栓及喷淋系统专业施工案编制人:审核人:审批人:省工业设备安装有限公司、工程概况:本工程位于省市鸠江区官陡门路 88 号博世()汽车部...
花东镇北兴片区一期消防栓安装工程管道铺设施工方案编制人:审核人:广州市花都区狮岭建筑工程公司2025 年 月 日花东镇北兴片区一期消防...
消防栓的作用和使用方法 ▼消防栓的作用 消防栓是一种固定消防工具,主要作用是控制可燃物、隔绝助燃物、消除着火源。消防栓主要供消防车...
消防栓与灭火器的使用方法及其注意事项(一)消火栓的性能和使用方法 性能:消火栓是与自来水管网直接连通的,随时打开都会有 3 公斤左...
消防栓安全操作章程1.操作步骤1.1 用手敲开消防栓旁边的启动按钮,打开消防栓的箱门;1.2 从消防栓箱中取出水带、水枪;1.3 检查水带及...
消防栓及喷淋系统施工方案翼:湖南博世(芜湖)汽车部件有限公司新建厂房项目消防喷淋专业施工方案湖南博世(芜湖)汽车部件有限公司新建厂...
消防栓及喷淋系统专业施工方案编制人:审核人:审批人:湖南省工业设备安装有限公司二 0 一六年十月一、工程概况:本工程位于安徽省芜湖...
各种灭火器和消防栓的使用规程1、干粉灭火器的使用 在距离火焰 5 米左右处使用。先拔下保险销,一只手握住喷嘴,另一只手紧握压把和提把...
消火栓箱供货合同工 程 名 称:工 程 地 点: 合 同 编 号:甲 方: 乙 方:签 订 日 期:2024 年 3 月 20 日甲方...
市中心城区市政消火栓安装工程施工方案一、工程概况市中心城区道路总长 66844m,道路车、人流量大,道路两旁建筑商场密集。为满足市政布置...
灭火器/消火栓使用培训考试题 姓名: 得分: 一、填空题:(每题 10 分,共 50 分) 1、消防火灾报警电话是 。 2、火灾类型有_____...
灭火器定期检查表分布区域:责任人:年 度:检查项目1 月2 月3 月4 月5 月6 月7 月8 月9 月10 月11 月12 月灭火器托架是否损坏...
消防栓检查记录表设备编号: 01 位置: 1—1 检查项目检查时间1 月2 月3 月4 月5 月6 月7 月8 月9 月10 月11 月12 月是否...
消防栓检查记录表位置编号: 记录编号: 123456789101112水枪水带栓门闸阀和其他配 件检查人检查时间备注检查时未发现数量缺少或损坏,...
消防栓日常检查表 消防栓编号:( )责任人: 检查人: 核查人:检查日期消防栓检查人签字核查人签字部件配置是否齐全接头连接是否渗漏合...
湖滨新区消防栓管道工程管道铺设施工方案编制人:________________________审核人:________________________江苏大汉建设实业集团有限责任...

