电脑桌面
添加小米粒文库到电脑桌面
安装后可以在桌面快捷访问

测绘的意义和过程VIP免费

测绘的意义和过程_第1页
1/28
测绘的意义和过程_第2页
2/28
测绘的意义和过程_第3页
3/28
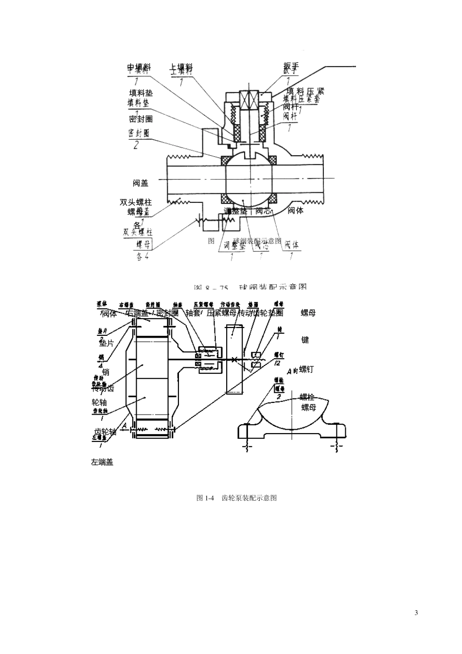
1 绪 论 一、测绘的意义和过程 当在产品设计、改进设计或积累技术资料时,常常需要进行装配体测绘。测绘过程是在了解部件工作原理的基础上,绘出部件装配示意图,测量并绘制出所有非标准零件的草图,然后由零件草图及装配示意图整理绘制装配图,再由装配图拆画出全套零件工作图。 装配体测绘是工程图学课程重要的实践性教学环节,是对整个工程图学学习内容的综合训练,前期的部件装配示意图和零件草图锻炼徒手绘图的能力,中期用尺、规等绘图仪器画装配图,锻炼手工绘图的能力,后期用 AutoCAD软件画零件工作图,锻炼计算机绘图能力。通过这一集中、系统、大量反复地强化训练,可以把所学知识运用于实际工作中,学用结合,并在用的过程中使所学知识得以巩固和深化,最终起到提高绘图能力和实际工作能力的作用。 装配体测绘的步骤及时间安排:(共计 10天) 1、 教师讲授装配体工作原理、测绘的目的、内容、方法和要求。(0.5天) 2、 熟悉装配体工作原理,画装配体示意图。(0.5天) 3、 画零件草图(2.5天) 4、 画装配草图和装配图。(2.5天) 5、 画零件工作图。(3天,上机) 6、 写设计收获体会、小结、交图。(1天) 二、测绘的目的与要求 1、 学习装配体测绘的基本方法。 2、 对工程图学课程的内容进行综合训练,巩固课堂知识,加深理解。 3、 进一步培养认真负责的工作态度和严谨细致的工作作风。 4 、 通过自己动手拆、装装配体,测量零件,提高动手能力。 5 、 通过绘制零件草图、装配图和零件工作图,训练徒手作图、尺规作图和计算机绘图的能力。 6 、 分组完成装配体测绘工作,培养团队协作精神。 2 第一章 装配体示意图 装配示意图是用规定符号和简单图线画出组成装配体各零件的大致轮廓,用以说明装配体的工作原理及零件之间的装配关系和相对位置,可作为画装配图时的参考资料。学画装配示意图可以锻炼和提高学生处理问题时,抓重点,抓关键,高度概括的能力。 画装配示意图时应注意以下几点: 1、 示意图是将装配体假设为透明体画出的,因此外形轮廓和内部结构均可反映出来; 2、 每个零件只画大致轮廓、或用单线表示; 3、 常用零件的规定符号见国家标准《机械制图》GB4460-84(附录一); 4、 装配示意图一般只画一、两个视图。两个零件的接触面要留出空隙,以便区分零件; 5、 装配示意图应编出零件序号,列表写出零件的名称、数量、材料等项目。简单装配体的装配示意图也可...

1、当您付费下载文档后,您只拥有了使用权限,并不意味着购买了版权,文档只能用于自身使用,不得用于其他商业用途(如 [转卖]进行直接盈利或[编辑后售卖]进行间接盈利)。
2、本站所有内容均由合作方或网友上传,本站不对文档的完整性、权威性及其观点立场正确性做任何保证或承诺!文档内容仅供研究参考,付费前请自行鉴别。
3、如文档内容存在违规,或者侵犯商业秘密、侵犯著作权等,请点击“违规举报”。

碎片内容

测绘的意义和过程

确认删除?
VIP
微信客服
  • 扫码咨询
会员Q群
  • 会员专属群点击这里加入QQ群
客服邮箱
回到顶部