电脑桌面
添加小米粒文库到电脑桌面
安装后可以在桌面快捷访问

医院后勤标准化工作流程图集

医院后勤标准化工作流程图集_第1页
1/15
医院后勤标准化工作流程图集_第2页
2/15
医院后勤标准化工作流程图集_第3页
3/15
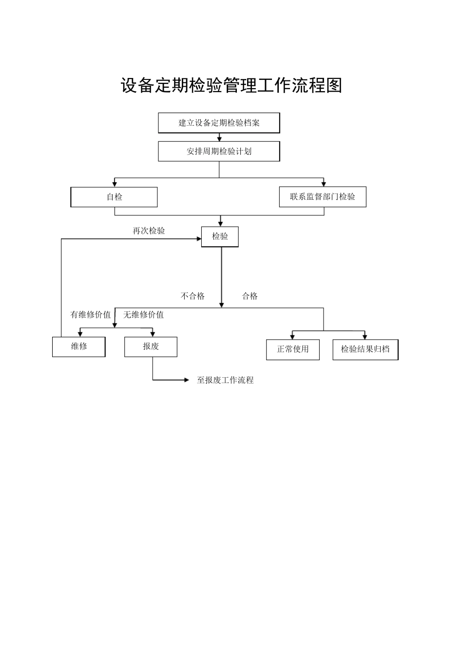
后勤设备、配件、材料购置工作流程图 使用科室提出申请 一般设备由科室 填写申请表 10 万元以上设备由科室写出 论证报告、效益分析 配件、材料由后勤采购员做计划 设备组调查、了解设备相关信息 后勤管理中心主任审核 分管院长审批 询价、比价 征求使用科室意见 确定设备选型 设备组调查、了解设备相关信息 后勤管理中心主任审核 分管院长审批 招标或议标 院长行政办公会议审核通过 后勤管理中心主任审核 分管院长审批 询价、比价 确定配件、材料选型 签订购销合同 购入设备、配件、材料 按合同付款 按合同付款 制定设备的订购条款及验收指标 设备定期检验管理工作流程图 再次检验 不合格 合格 有维修价值 无维修价值 至报废工作流程 建立设备定期检验档案 安排周期检验计划 自检 联系监督部门检验 检验 维修 报废 正常使用 检验结果归档 后勤仓库物资管理工作流程图 至账务处理工作流程 仓管员验收物资入库 仓管员定期对仓库进行整理清点 仓管员核对物资领取审批单 仓管员据物资领取审批单开具出库单 仓管员凭出库单出库物资,领取人签字 仓管员制消耗报表,报采购员 仓管员定期与财产会计核对账目 定期盘点 填写盈亏报废汇总表 报财务科、后勤管理中心主任、分管院长审批 后勤物资报废工作流程图 使用科室 后勤管理中心 后勤维修班组 物资仓库 填写报废审批表 需报废名称、数量、金额 报废原因 财务、审计部门查验审核 后勤管理中心主任审批 主管院长审核 属固定资产由财产会计统一上报卫生局、财政局审批 报废处理 后勤维修工作流程图 维修巡查 使用科室申请维修 巡查及申请记录 后勤设备、设施损坏 正常损坏 非正常损坏 后勤对应维修班组处理 报主管领导 维修班组检查 处理意见 执行处理意见 可院内自修 需院外维修 报主管领导审批 外部处理 执行 需配件 报主管领导审批 物资领用 无需配件 维修或更换 调试、清理 电梯使用安全工作流程图 电梯运行 故障 正常 报保安监控室 与维保公司订立合同,并监督其执行对电梯半月、季度、年度以及重点时段、重点部位的定期维保工作 核查故障原因 积极按照质监部门的要求对电梯进行年度检验工作,取得检验合格证 定期进行电梯安全使用知识培训和演练 硬故障需配件 报批 修理 调试运行 软故障 记录归档 报电梯安全管理员、设备管理员 报电梯维保公司 应急处理 通过呼叫对讲系统和视频监控...

1、当您付费下载文档后,您只拥有了使用权限,并不意味着购买了版权,文档只能用于自身使用,不得用于其他商业用途(如 [转卖]进行直接盈利或[编辑后售卖]进行间接盈利)。
2、本站所有内容均由合作方或网友上传,本站不对文档的完整性、权威性及其观点立场正确性做任何保证或承诺!文档内容仅供研究参考,付费前请自行鉴别。
3、如文档内容存在违规,或者侵犯商业秘密、侵犯著作权等,请点击“违规举报”。

碎片内容

医院后勤标准化工作流程图集

小辰5+ 关注
实名认证
内容提供者

出售各种资料和文档

确认删除?
VIP
微信客服
  • 扫码咨询
会员Q群
  • 会员专属群点击这里加入QQ群
客服邮箱
回到顶部