电脑桌面
添加小米粒文库到电脑桌面
安装后可以在桌面快捷访问

华中农业大学农业机械学期末考试试卷

华中农业大学农业机械学期末考试试卷_第1页
1/19
华中农业大学农业机械学期末考试试卷_第2页
2/19
华中农业大学农业机械学期末考试试卷_第3页
3/19
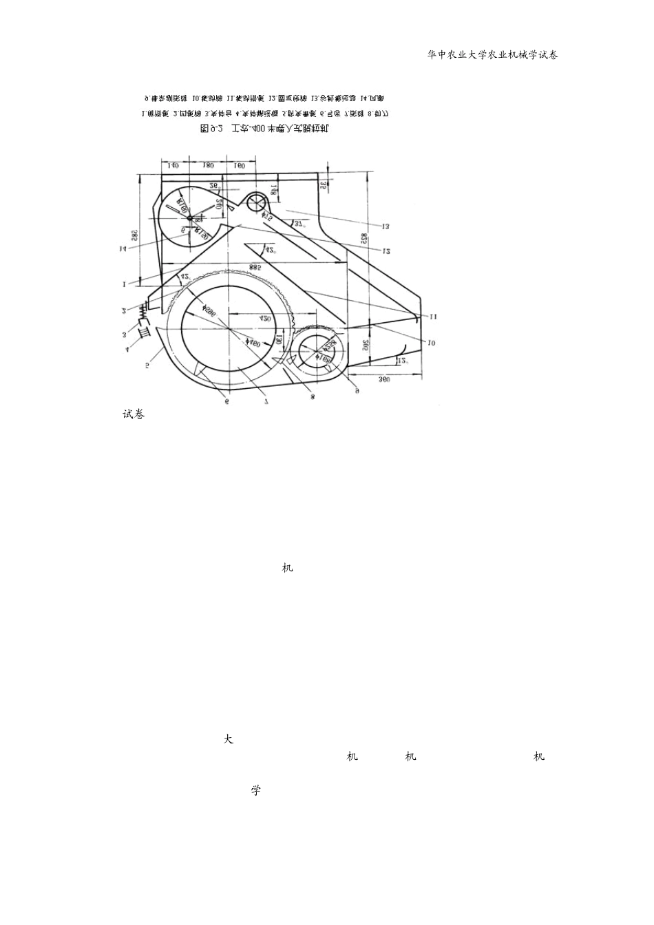
华中农业大学农业机械学试卷1一、单项选择题 (从下列各题四个备选答案中选出一个正确答案,并将其代号写在答题纸相应的位置上。答案错选或未选者,该题不得分。每小题 2分,共 16分)1、旋耕刀片端点的绝对运动轨迹为_______,其圆周速度应_______机组前进速度。A 、余摆线,等于B、螺旋线,等于C、余摆线,大于D 、螺旋线,大于2、下列哪种方法不是悬挂犁耕深调节方法_______。A 、高度调节法B、力调节法C、位调节法D 、角度调节法3、在犁体曲面设计中,对于翻土型犁体,导曲线在垂直于铧刃的垂面内且距离铧尖为_______。A 、 LB、 L/2C 、 L/3D 、 2L/34、使 1kg的谷物温度升高 1摄氏度所需要的热量称为_______。A 、谷物水分的汽化潜热B、 谷物的比热C、谷物的导热性D 、谷物的平衡水分5、对切向离心式喷头,当涡流室调浅时,其雾锥角变 _______,射程变_______。A 、大;远B、大;近C、小;远D 、小;近6、从往复式切割器的切割图可以看出,当刀机速比系数增大时, _______。A 、一次切割区增大B、重切区增大C、空白区增大D 、不确定7、铧式犁的入土角度增大时,则入土行程 _______。A 、变长B、不变C、变短D 、不确定8、利用风机产生的高速气流将粗雾滴进一步雾化成小雾滴的施药液方法称为: _______A 、弥雾法B、超低量法C、喷烟法D 、喷雾法二、名词解释 (每小题 2分,共 14分)1、土壤的抗剪强度2、犁的入土行程3、旋耕切土节距4、投种高度5、翻土曲线6、渗灌7、谷粒的悬浮速度三、判断题(判断以下论述的正误,你认为正确的在答题纸相应的位置上划 “T”,错误的划“F”。每小题 2分,共 16分)1、当土壤与耕作部件表面的摩擦力和附着力大于土壤的凝聚力和土粒间的摩擦力时,耕作部件的表面就会粘土。2、牵引犁挂结的原则是:犁的挂结点必须在拖拉机的动力中心和犁的阻力中心的连线上。3、铧式犁作业时,其牵引阻力与机组作业速度的平方成反比。4、若圆盘耙的偏角变小,则耙片的推土、翻土作用变差,耙深变浅。5、在脱粒装置的滚筒与凹板之间的脱粒间隙中,入口间隙小于出口间隙。华中农业大学农业机械学试卷26、当机器的前进速度一定时,旋耕机的速比系数越大,则碎土效果越好。7、犁耕牵引阻力是指土壤作用在犁体上的总阻力。8、当型孔盘式排种器运动的线速度越大时,其充种性能越好。四、填空题 (每空 1分,共 18分)1、 铧式犁耕翻作业时,土垡稳定铺放的条件是_____________。2、改变外 ...

1、当您付费下载文档后,您只拥有了使用权限,并不意味着购买了版权,文档只能用于自身使用,不得用于其他商业用途(如 [转卖]进行直接盈利或[编辑后售卖]进行间接盈利)。
2、本站所有内容均由合作方或网友上传,本站不对文档的完整性、权威性及其观点立场正确性做任何保证或承诺!文档内容仅供研究参考,付费前请自行鉴别。
3、如文档内容存在违规,或者侵犯商业秘密、侵犯著作权等,请点击“违规举报”。

碎片内容

华中农业大学农业机械学期末考试试卷

小辰2+ 关注
实名认证
内容提供者

出售各种资料和文档

确认删除?
VIP
微信客服
  • 扫码咨询
会员Q群
  • 会员专属群点击这里加入QQ群
客服邮箱
回到顶部