电脑桌面
添加小米粒文库到电脑桌面
安装后可以在桌面快捷访问

学生证信息管理系统

学生证信息管理系统_第1页
1/16
学生证信息管理系统_第2页
2/16
学生证信息管理系统_第3页
3/16
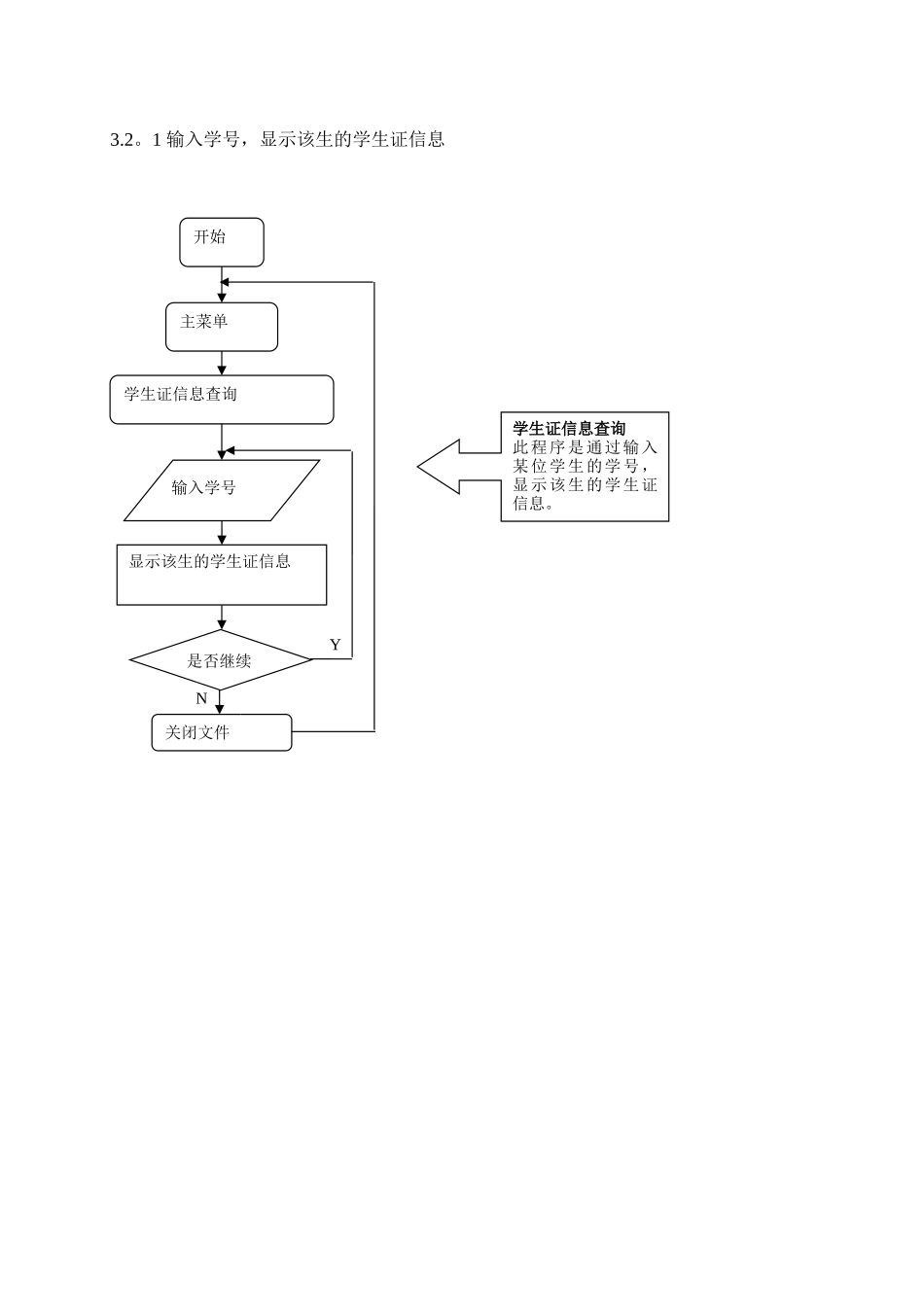
1 系统的意义及其功能本系统为《学生证管理程序》.系统任务描述:假设某校学生学生证基本信息主要包括:学号、姓名、所在系、班级等,本系统应能对这些基本信息进行管理,并要求具有以下功能:(1)通过键盘输入某位学生的学生证信息。学生证包含的信息请参看自己的学生证;(2)给定学号,显示某位学生的学生证信息;(3)给定某个班级的班号,显示该班所有学生的学生证信息;(4)给定某位学生的学号,修改该学生的学生证信息;2 系统的功能结构图以及调用关系3 系统功能详细分析学生证管理系统需要完成的功能主要有:从主函数进入各个子函数:子函数包括学生证信息的键入、查询信息的功能、修改学生证信息的功能、退出系统。具体功能如下:学生证管理程序输入学号输入某班级的班号输入某位学生的学号按学号排序或姓名排序来显示该班所有学生证信息的学生证信息显示该生学生证信息修改该生的学生证信息键入某位学生的学生证信息3.1 学生证信息的键入3。2 查询信息的功能查询记录的主要功能是通过不同的查询方式查询学生的信息。先是进入查询界面,再选择查询的方式,选择后将输出该学生的信息。共分为两种: 给定某个学生的学号,显示该学生的学生证信息; 给定某个班级的班号,按学号排序来显示该班所有学生的学生证信息; 按班级排序来显示该班所有学生的学生证信息;开始主菜单学生证信息的键入输入学生证信息是 否 继续保存文件YN学生证信息的键入此程序是将学生证信息录入文件3.2。1 输入学号,显示该生的学生证信息学生证信息查询此程序是通过输入某位学生的学号,显示该生的学生证信息。开始主菜单学生证信息查询输入学号显示该生的学生证信息关闭文件是否继续NY3。2。2 输入班号,显示该班所有学生的学生证信息学生证信息查询此程序是通过输入某班级的班号,然后选择按学号排序或班级排序,最后显示该班所有学生的学生证信息。开始主菜单学生证信息查询输入班号显示该班所有学生的学生证信息关闭文件是 否 继续NY按学号排序按班级排序3。3 修改学生证信息的功能4 运行界面主菜单界面学生证键入的界面个人学生证信息显示界面显示班级信息的选择输出方式的界面按学号排序显示该班所有学生的学生证信息界面按姓名排序显示该班所有学生的学生证信息界面显示班级信息的退出界面修改学生证信息的界面5 系统使用说明1、进入程序时,先以菜单形式显示所有命令,然后用户通过菜单项选择操作;例如:1 学生证信息的键入2 输入学号,显示该生...

1、当您付费下载文档后,您只拥有了使用权限,并不意味着购买了版权,文档只能用于自身使用,不得用于其他商业用途(如 [转卖]进行直接盈利或[编辑后售卖]进行间接盈利)。
2、本站所有内容均由合作方或网友上传,本站不对文档的完整性、权威性及其观点立场正确性做任何保证或承诺!文档内容仅供研究参考,付费前请自行鉴别。
3、如文档内容存在违规,或者侵犯商业秘密、侵犯著作权等,请点击“违规举报”。

碎片内容

学生证信息管理系统

一二三四传媒+ 关注
实名认证
内容提供者

大量资料供您选择,没有合适的可以联系小二。

确认删除?
VIP
微信客服
  • 扫码咨询
会员Q群
  • 会员专属群点击这里加入QQ群
客服邮箱
回到顶部