电脑桌面
添加小米粒文库到电脑桌面
安装后可以在桌面快捷访问

建设单位(业主方)工程项目管理流程图

建设单位(业主方)工程项目管理流程图_第1页
1/19
建设单位(业主方)工程项目管理流程图_第2页
2/19
建设单位(业主方)工程项目管理流程图_第3页
3/19
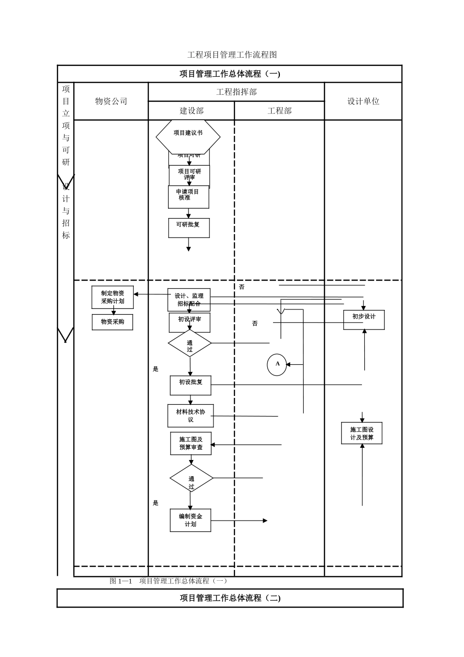
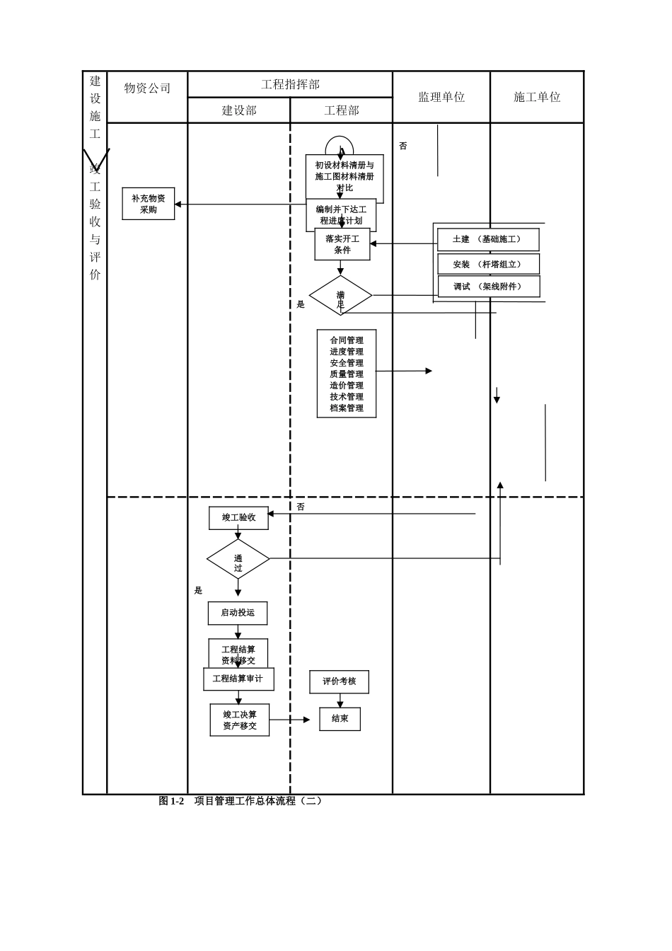
工程项目管理工作流程图项目管理工作总体流程(一)项目立项与可研设计与招标物资公司工程指挥部设计单位建设部工程部是是否 否 图 1—1 项目管理工作总体流程(一)项目管理工作总体流程(二)项目可研 可研批复项目可研评审 申请项目 核准设计、监理 招标配合初步设计初设评审通过初设批复材料技术协议施工图设计及预算 施工图及预算审查通过A项目建议书编制资金 计划制定物资采购计划物资采购 建设施工竣工验收与评价物资公司工程指挥部监理单位施工单位建设部工程部是否是否 图 1-2 项目管理工作总体流程(二)A初设材料清册与施工图材料清册对比补充物资 采购编制并下达工程进度计划落实开工 条件满足土建 (基础施工)调试 (架线附件)安装 (杆塔组立)合同管理进度管理安全管理质量管理造价管理技术管理档案管理竣工验收通过启动投运工程结算资料移交工程结算审计竣工决算资产移交评价考核结束施工协调管理流程图 工程指挥部监理单位施工单位建设部工程部否 是 条件满足 工程竣工后办理开工手续开始组织编写工程开 工报审表组织工程开工结束召开工程例会,解决相关施工出现的问题审批工程开工报审表负责落实解决影响工程施工的相关事项确认整改完成后提出复工申请参加启动工作下达工程暂停令审核工程开工报审表提出相关需要施工单位解决的施工问题是否下达工程暂停 令配合协调解决问题审批复工申请 图 1-3 施工协调管理流程 图 1—4 工程建设月报上报流程工程建设月报上报流程图 工程指挥部监理单位施工单位建设部工程部审查施工月报,并编制监理月报,每月 27 日前报工程部编制月报(包括各个专业本月工作情况,存在的困难和问 题 以 及 相 应 对策,下月进度计划 ),每月 23 日前报监理单位开始汇总物资、施工、监理月报,编制《电网建设月报》,每月 5日前报工程指挥部汇总物资、施工、监理工程建设情况,报有关部门 图 1—5 档案信息管理流程项目安全管理工作总体流程(一)项安全监察部工程指挥部参建单位 档案信息管理流程图 工程指挥部监理单位施工单位建设部工程部 项目 竣工收集自身负责的所有相关文档案及影像资料开始做好纸质文档的收发保管工作,每月整理影像资料审核工程竣工档案提出档案管理的 目标计划及要求确认工程档案管理目标、档案范围及要求审核相关文档按要求对文件资料 进行归档工作经施工单位审核后 上报验竣工资料工程竣工档案移交结束审查工程竣工档案确认...

1、当您付费下载文档后,您只拥有了使用权限,并不意味着购买了版权,文档只能用于自身使用,不得用于其他商业用途(如 [转卖]进行直接盈利或[编辑后售卖]进行间接盈利)。
2、本站所有内容均由合作方或网友上传,本站不对文档的完整性、权威性及其观点立场正确性做任何保证或承诺!文档内容仅供研究参考,付费前请自行鉴别。
3、如文档内容存在违规,或者侵犯商业秘密、侵犯著作权等,请点击“违规举报”。

碎片内容

建设单位(业主方)工程项目管理流程图

您可能关注的文档

确认删除?
VIP
微信客服
  • 扫码咨询
会员Q群
  • 会员专属群点击这里加入QQ群
客服邮箱
回到顶部