电脑桌面
添加小米粒文库到电脑桌面
安装后可以在桌面快捷访问

屋面钢结构工程监理实施细则

屋面钢结构工程监理实施细则_第1页
1/12
屋面钢结构工程监理实施细则_第2页
2/12
屋面钢结构工程监理实施细则_第3页
3/12
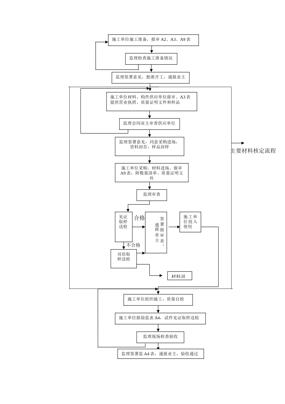
屋面钢结构工程监理实施细则1.工程概况:1.1 工程规模及特点1.1.1 工程位置:*****楼高层屋面钢结构工程位于烟台市*****号。 1.1.2 设计概况:建筑结构安全等级二级,主体结构的设计使用年限为50 年,风荷载基本的重现值为 50 年一遇;1.1.3 结构类型:钢结构,共三层。1.1.4 建筑特点:在已完工的混凝土屋面上增加钢结构层(1#、7#混凝土屋面标高为 86.35m,钢结构屋面标高为 96.55m;2#楼混凝土屋面标高为91.85m,钢结构屋面标高为 100.45m;3~5#楼混凝土屋面标高为98.15m,钢结构屋面标高为 107.75m;6#楼混凝土屋面标高为 91.85m,钢结构屋面标高为 101.55m)1.2 工程项目目标1.2.1 质量目标:达到合格标准;1.2.2 安全目标:有效控制工伤事故,杜绝重大恶性事故,一般负伤频率<2‰;1.2.3 环境目标:噪声排放达标,严格控制、最大限度减少化学危险品、油品的泄露,严禁发生重大火灾、爆炸事故;建筑材料有害物质含量达标。2.控制依据:2.1********设计的施工图纸;2.2 已批准的监理规划;2.3 经审核批准的施工组织设计;2.4《建筑工程施工质量验收统一标准》(GB50300-2001);2.5 工程测量法律规范(GB50026-2025);2.6 钢结构工程施工质量验收法律规范(GB50205-2001);2.7 建筑结构荷载法律规范(GB50068-2001);2.8 钢结构设计法律规范(GB50017-2025);2.9 建筑钢结构焊接规程(JGJ81-2025)2.10 建设工程监理法律规范(GB50318-2000);2.11 建筑施工手册(第四版);2.12 建筑施工扣件式钢管脚手架安全技术法律规范(JGJ130-2001);2.13 建筑施工高处作业安全技术法律规范(JGJ80-91);2.14 施工现场临时用电安全技术法律规范(JGJ46-2025);2.15 烟台市建筑施工现场安全管理规定;2.16 其他有关法律规范、规程、标准及规定、有关标准图集;3. 监理工作流程(见下图) 主要材料核定流程 合格 不合格 施工单位施工准备,报审 A2、A3、A9 表监理检查施工准备情况监理签署意见,批准开工,通报业主施工单位材料、构件供应单位报审、A3 表提供营业执照、质量证明文件和样品监理会同业主审查供应单位监理签署意见,同意采购进场,资料封存,样品封样施工单位采购、材料进场、报审A9 表,附数量清单、质量证明文件监理审查见证取样送检施工单位投入使用双倍取样送检签 署 报 审 表 ,通报 业 主材料退施工单位组织施工,质量自检施工单位报验监表 A4,试件见证取样送检监理现场检查验收监理...

1、当您付费下载文档后,您只拥有了使用权限,并不意味着购买了版权,文档只能用于自身使用,不得用于其他商业用途(如 [转卖]进行直接盈利或[编辑后售卖]进行间接盈利)。
2、本站所有内容均由合作方或网友上传,本站不对文档的完整性、权威性及其观点立场正确性做任何保证或承诺!文档内容仅供研究参考,付费前请自行鉴别。
3、如文档内容存在违规,或者侵犯商业秘密、侵犯著作权等,请点击“违规举报”。

碎片内容

屋面钢结构工程监理实施细则

确认删除?
VIP
微信客服
  • 扫码咨询
会员Q群
  • 会员专属群点击这里加入QQ群
客服邮箱
回到顶部