电脑桌面
添加小米粒文库到电脑桌面
安装后可以在桌面快捷访问

XX砂石厂安全评估报告

XX砂石厂安全评估报告_第1页
1/61
XX砂石厂安全评估报告_第2页
2/61
XX砂石厂安全评估报告_第3页
3/61
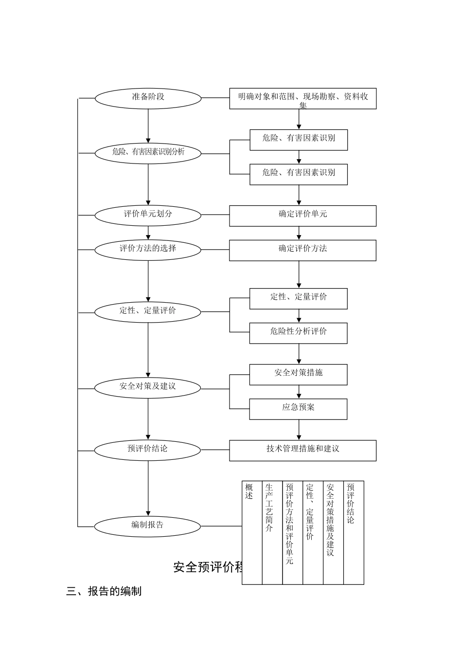
编 制 说 明本报告为%%%%%%%%%%%%%%%%%砂石厂的安全预评价报告。在评价工作开展前武汉理工大学非金属矿讨论设计所已完成了《%%%%%%%%%%%%%%%%%砂石厂开采设计方案》,本评价根据《%%%%%%%%%%%%%%%%%砂石厂开采设计方案》的内容,定性、定量分析和预测该建设项目可能存在的各种危险、有害因素的种类和程度,提出合理可行的安全对策措施及建议。预评价活动开展前,该建设项目的筹备工作已经展开,完成了方案设计,成立了工程建设所必须的组织机构,建立了一些相应的管理制度。本次预评价活动的基础较好,报告的对策措施对工程的下一步施工具有指导意义。一、评价对象及范围安全预评价对象为%%%%%%%%%%%%%%%%%砂石厂,评价范围由 4 个拐点坐标圈定,矿区面积约为 0.009 k㎡,开采深度+1105m 至+1015m 标高。矿区范围拐点坐标为:拐点 X Y1 X=3394196 Y=374770862X=3394234 Y=374771823X= 3394146 Y=374772124X=3394116 Y=37477118二、评价程序根据安全评价工作一般程序,结合%%%%%%%%%%%%%%%%%砂石厂特点,实行下列步骤开展评价工作。评价工作程序见图安全预评价程序图三、报告的编制准备阶段明确对象和范围、现场勘察、资料收集危险、有害因素识别危险、有害因素识别确定评价单元确定评价方法定性、定量评价危险性分析评价安全对策措施应急预案技术管理措施和建议概述生产工艺简介预评价方法和评价单元定性、定量评价安全对策措施及建议预评价结论危险、有害因素识别分析 评价单元划分评价方法的选择定性、定量评价安全对策及建议预评价结论编制报告报告编制遵循如下原则:合法性原则、科学性原则、公正性原则、针对性原则。报告编制运用如下原理:相关性原理、类推原理、惯性原理、量变到质变原理。报告编制的依据是《非煤矿山安全评价导则》和国家现行的法律、法规、技术标准、设计法律规范、技术操作规程等。编制程序与评价工作的程序一致,根据准备、辨识、评价、控制、结论的基本程序进行。前 言%%%%%%%%%%%%%%%%%砂石厂地处&&&&&&&&&&&&&&&&&&&镇响水洞村,行政隶属杨林桥镇所辖。根据《中华人民共和国安全生产法》第12 条和第 25 条的规定,%%%%%%%%%%%%%%%%%砂石厂委托**********对其进行安全预评价。根据委托方的要求,此次进行安全预评价,从实际出发,对该矿存在的危险有害因素进行定性、定量分析,对发生事故的可能性及其危害的严重程度进行评价,并据以提出消除、预防和降低事故的对策措施,以达到该项目建设取得...

1、当您付费下载文档后,您只拥有了使用权限,并不意味着购买了版权,文档只能用于自身使用,不得用于其他商业用途(如 [转卖]进行直接盈利或[编辑后售卖]进行间接盈利)。
2、本站所有内容均由合作方或网友上传,本站不对文档的完整性、权威性及其观点立场正确性做任何保证或承诺!文档内容仅供研究参考,付费前请自行鉴别。
3、如文档内容存在违规,或者侵犯商业秘密、侵犯著作权等,请点击“违规举报”。

碎片内容

XX砂石厂安全评估报告

您可能关注的文档

确认删除?
VIP
微信客服
  • 扫码咨询
会员Q群
  • 会员专属群点击这里加入QQ群
客服邮箱
回到顶部