电脑桌面
添加小米粒文库到电脑桌面
安装后可以在桌面快捷访问

不合格、返工处理流程图

不合格、返工处理流程图_第1页
1/7
不合格、返工处理流程图_第2页
2/7
不合格、返工处理流程图_第3页
3/7
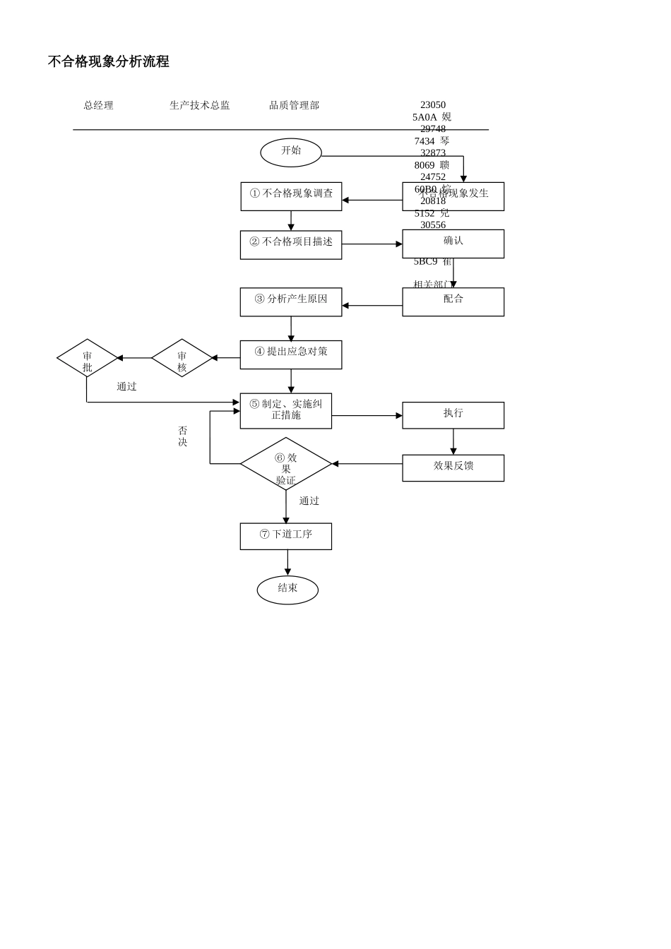
不合格品是指经检验和试验判定,产品品质特性与相关技术要求和图纸工程法律规范相偏离,不再符合接收准则的产品.包括废品、返修口和超差利用品(也称等外品)三种产品。这里关键是品质标准,没有品质标准是无法推断产品合格与否的。不合格品管理流程修订日期修订单号修订内容摘要页次 版次修订审核批准2025/03/30/系统文件新制定4A/0///22519 57F7 執 L27877 6CE5 泥 30025 7549 畉 E批准:审核:编制:不合格品管理流程不合格品管理流程不合格合格开始产品生产① 质检(抽检)生产总监品质管理部生产部门总经理⑥ 记录不合格品33235 81D3 臓8]21711 54CF 哏下一道工序结束⑤ 处理不合格品② 鉴定④ 隔离不合格品审批审批③ 标示不合格现象分析流程通过通过开始不合格现象发生② 不合格项目描述③ 分析产生原因生产技术总监品质管理部23050 5A0A 娊29748 7434 琴32873 8069 聩24752 60B0 悰20818 5152 兒30556 775C 睜23497 5BC9 寉相关部门总经理配合⑤ 制定、实施纠正措施执行⑦ 下道工序结束④ 提出应急对策效果反馈⑥ 效果验证否决确认① 不合格现象调查审核审批~b28239 6E4F 湏^623859 5D33 崳 20371 4F93 侓报废品处理流程开始检验产成品不合格确认② 提出报废审核审批执行报废通知财务分析报告④ 审核黄审批存档配合结束z35830 8BF6 诶 38955 982B 頫 J29579 738B 王生产技术总监品质管理部生产部生产单位总经理① 质检审批反馈③ 结果确认产品品质处罚流程通过开始产成品送检① 质检发现品质问题确认② 明确品质责任39848 9BA8 鮨38871 97D7 韗28770 7062 灢28324 6EA4 溤24305 5EF1 廱3X27069 69BD 榽审核审批生产技术总监品质管理部生产部生产单位总经理出现品质事故③ 开具品质处罚通知单④ 发出处罚通知单⑤ 记录存档结束否决接收处罚返工处理工作流程合格L~T31365 7A85 窅35021 88CD 裍27431 6B27 欧 (@通过开始品质异常现象发生① 品质异常现象调查③ 不合格项目描述确认④ 分析产生原因审核审批生产技术总监品质管理部生产部门总经理结束⑤ 提出返工决定② 品质检验样品送检⑦ 成品检验⑥ 生产线返工⑧ 通知生产部门

1、当您付费下载文档后,您只拥有了使用权限,并不意味着购买了版权,文档只能用于自身使用,不得用于其他商业用途(如 [转卖]进行直接盈利或[编辑后售卖]进行间接盈利)。
2、本站所有内容均由合作方或网友上传,本站不对文档的完整性、权威性及其观点立场正确性做任何保证或承诺!文档内容仅供研究参考,付费前请自行鉴别。
3、如文档内容存在违规,或者侵犯商业秘密、侵犯著作权等,请点击“违规举报”。

碎片内容

不合格、返工处理流程图

确认删除?
VIP
微信客服
  • 扫码咨询
会员Q群
  • 会员专属群点击这里加入QQ群
客服邮箱
回到顶部