电脑桌面
添加小米粒文库到电脑桌面
安装后可以在桌面快捷访问

员工招聘配置VIP免费

员工招聘配置_第1页
1/45
员工招聘配置_第2页
2/45
员工招聘配置_第3页
3/45
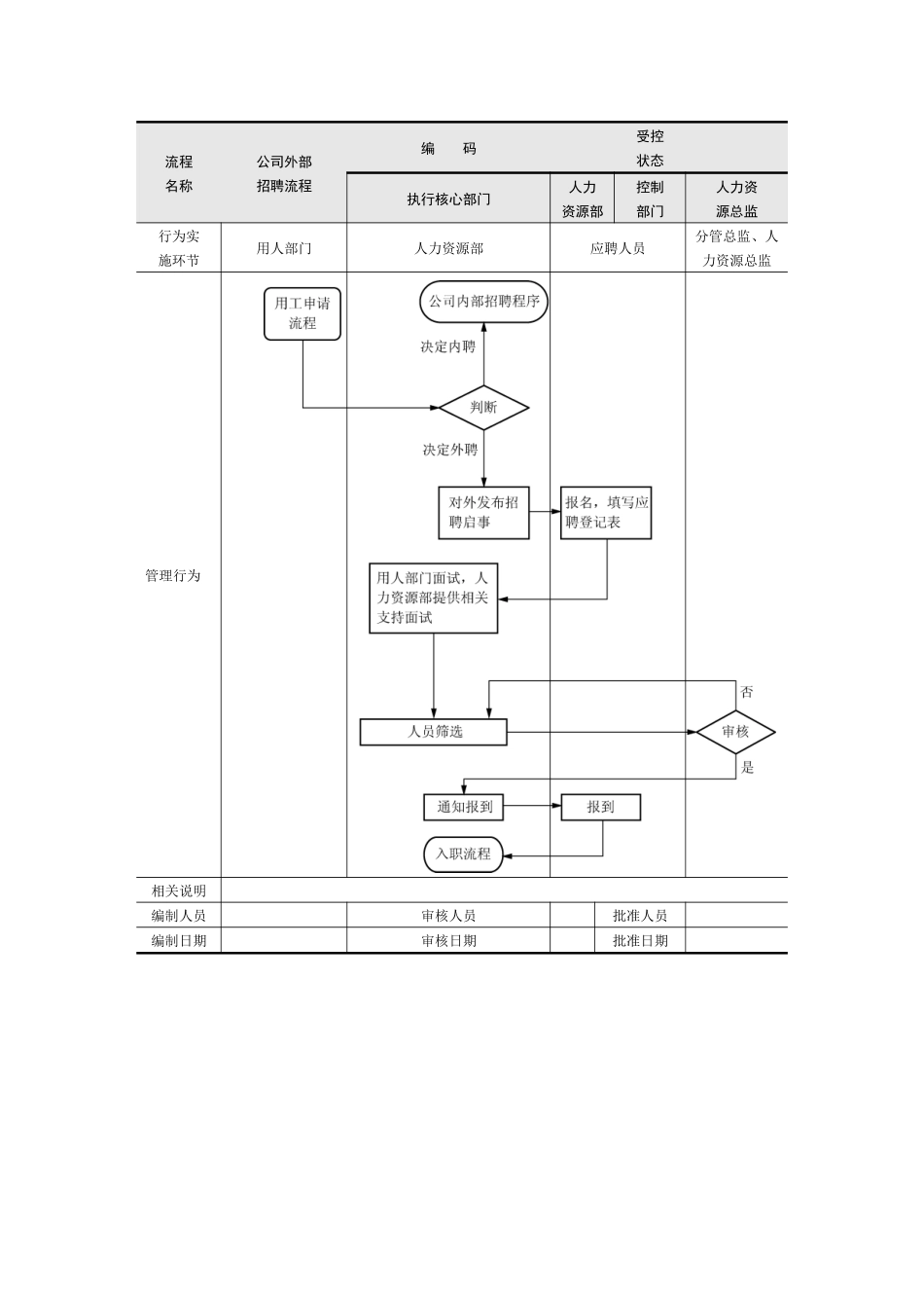
5.3.1内部招聘工作流程图5-1所示为内部招聘工作流程。图5-1内部招聘工作流程5.3.2外部招聘工作流程表5-2所示为外部招聘工作流程。表5-2外部招聘工作流程流程名称公司外部招聘流程编码受控状态执行核心部门人力资源部控制部门人力资源总监行为实施环节用人部门人力资源部应聘人员分管总监、人力资源总监管理行为相关说明编制人员审核人员批准人员编制日期审核日期批准日期5.3.3校园招聘工作方案招聘工作是一个系统工程,招聘方案需包括具体的招聘计划所要达成的目标、招聘实施流程、招聘时间安排、实施细则、费用预算以及注意事项等。一般来说,校园招聘工作方案主要包括以下内容。(1)招聘的原因、目的、目标。(2)招聘的职位、人数。(3)招聘的渠道(包括报纸、网络、招聘会以及猎头等方式)。(4)招聘的时间以及完成时间。(5)招聘公司简介。(6)招聘职位描述、职位要求、薪酬待遇。(7)招聘的费用预算。(8)设计一个符合本公司要求的招聘广告供参考。(9)校园招聘的实施。确定招聘院校方案。先与校方进行联系,做好前期企业宣传工作。公司招聘组成员前往目的地,进入学校设摊招聘。收取简历资料,与学生进行面谈。确定录取人员,并就此宣讲公司规模、发展史及今后发展前景、用人政策。协商签订就业协议。5.3.4内部竞聘工作方案内部竞聘工作方案包括以下6项内容。1.目的为了规范企业的内部竞聘工作,更好地发掘企业内部的优秀人才,提高员工的工作积极性,特制定本方案。2.内部竞聘原则内部竞聘原则,首先是公平、公正、公开;其次是能岗匹配、择优录取;最后,企业发展与员工职业发展规划相结合。3.竞聘小组的确定竞聘工作小组成员的来源主要分为以下3个部分。(1)总经理及高管人员。主要负责把关职位候选人的整体能力和最终决策。(2)人力资源部工作人员。全面负责整个竞聘工作的实施,包括资料的准备以及考核方案的制订与实施等。(3)外部聘请的专家。必要时,企业可以聘请外部人力资源专家,与企业人力资源部的工作人员共同进行试题设计、制定评分标准和进行人员考核等。根据候选人的表现,竞聘工作小组做出相应的决策。专家提醒员工申请是指当中高层领导职位出现空缺时,企业发布职位公告,由员工自主申请该职位。专家提醒4.申请资格申请资格主要包括:身体健康,工作态度端正,遵守企业的规章制度,热爱企业,维护企业的利益以及具备竞聘岗位的任职资格等相关条件。5.竞聘流程企业内部参与竞聘的人员主要通过部门推荐和员工申请两种方式产生。(1)部门推荐竞聘。部门推荐是由各部门经理填写《优秀员工推荐表》,提交人力资源部。经人力资源部审核合格后,候选人接受竞聘工作小组的考核。(2)员工申请竞聘。通过员工自主申请的方式进行竞聘时,各部门必须协同人力资源部做好协调工作,以免影响企业开展正常工作。员工申请竞聘的操作步骤有以下5点内容。①人力资源部组建竞聘工作小组,发布竞聘公告。②符合条件且有竞聘意愿的员工,填写《员工内部竞聘申请表》。③申请表填写完毕后,由直接主管签署审核建议,然后提交到竞聘工作小组。④竞聘工作小组对应聘员工进行全面的资格审查。⑤人力资源部、用人部门配合竞聘工作小组对审核合格的应聘员工进行考核,考核方式包括笔试和面试两种。竞聘考核小组根据考核的结果做出录用决策。6.竞聘结果竞聘结果包括以下内容。(1)企业按照择优录用原则,确定岗位人选。人力资源部在协调相关部门办好员工调动手续的同时,也要做好竞聘失败员工的思想工作,以免影响他们的工作积极性。(2)被录用的员工需要三个月的试用期。若在试用期间,发现员工不能胜任,则根据企业规定将员工退回到原来的工作岗位。(3)空缺的岗位由人力资源部根据企业的相关规定及时配备人员。5.4.1制作招聘计划表单表5-3所示为招聘计划表。按照公司实际需求分析招聘任务,有重点地实施招聘工作。填表指导公司招聘成本把内、外部成本包括进来不仅是人力资源会计的要求,也是出于把招聘工作当做一种系统的动态工作流程考虑,它使得人力资源招聘与员工薪酬联系起来。人力资源部负责对招聘成本费用进行统计。填表指导表5-3招聘计划表招聘计划人员种类具备资格条件招聘渠...

1、当您付费下载文档后,您只拥有了使用权限,并不意味着购买了版权,文档只能用于自身使用,不得用于其他商业用途(如 [转卖]进行直接盈利或[编辑后售卖]进行间接盈利)。
2、本站所有内容均由合作方或网友上传,本站不对文档的完整性、权威性及其观点立场正确性做任何保证或承诺!文档内容仅供研究参考,付费前请自行鉴别。
3、如文档内容存在违规,或者侵犯商业秘密、侵犯著作权等,请点击“违规举报”。

碎片内容

员工招聘配置

您可能关注的文档

海纳百川+ 关注
实名认证
内容提供者

热爱教学事业,对互联网知识分享很感兴趣

确认删除?
VIP
微信客服
  • 扫码咨询
会员Q群
  • 会员专属群点击这里加入QQ群
客服邮箱
回到顶部