电脑桌面
添加小米粒文库到电脑桌面
安装后可以在桌面快捷访问

施工监理旁站实施细则VIP免费

施工监理旁站实施细则_第1页
1/11
施工监理旁站实施细则_第2页
2/11
施工监理旁站实施细则_第3页
3/11
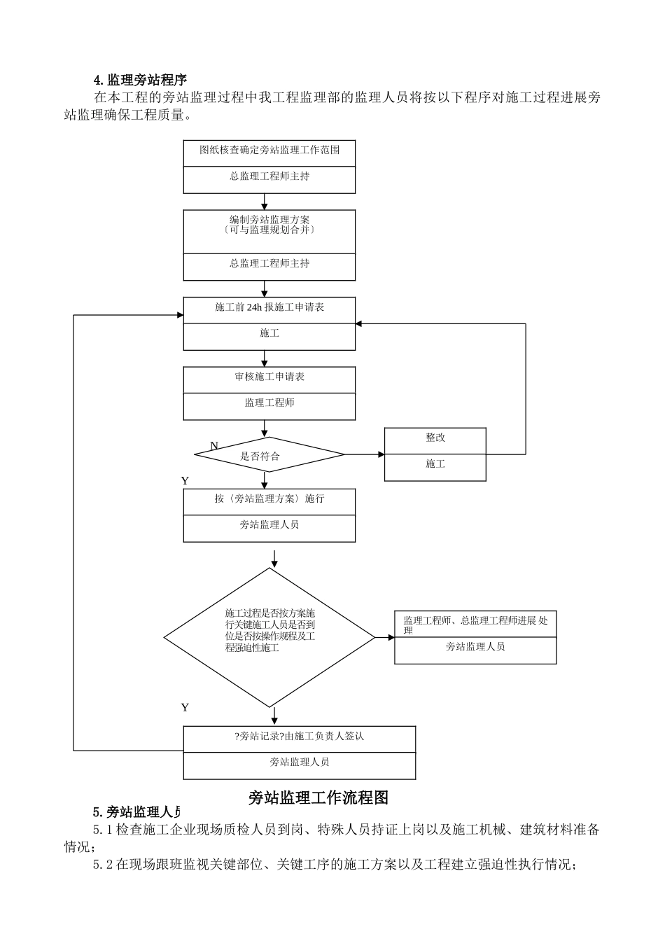
B13B13工程监理施行细那么监理施行细那么〔施工监理旁站〕内容提要:工程概况及特点监理工作范围与内容监理工作根据监理工作程序监理人员的职责监理控制要点及工作措施工程监理机构〔章〕:专业监理工程师:总监理工程师:日:江苏建立监制施工监理旁站施行细那么1.工程概况及特点:1.1******工程位于**************,总面积约****平方米地上**层地下**层主要由*****组成。地下是***,地上主要是***建筑高度是***米构造形式为**,根底形式为****。耐火等级是***抗震设防烈度是****。1.2该工程建立是***施工是***设计是***〔简单描绘〕2.旁站监理的范围与内容旁站监理是指监理人员在施工阶段的监理中对与工程构造、使用功能有重大关系事后难于检查、补救的关键部位、特殊过程的施工质量施行全过程现场跟班监视活动。我工程监理部将按照建立部?房屋建筑工程施工旁站监理理〔〕?及、相关规定在本工程施工阶段监理中对关键部位、关键工序的施工质量施行全过程旁站监理。本工程旁站监理的特殊过程、关键工序有:土方回填、混凝土灌注桩浇筑、地下连续墙、钢构造安装、梁柱节点钢筋隐蔽过程、混凝土浇筑、预应力张拉、卷材防水层细部构造处理、后浇带。〔根据工程工程详细情况增加删减〕旁站监理的内容有:施工准备情况、施工自然条件的符合性、施工操作过程、施工原材料检验、现场原材料试验、突发的应急处理、施工记录检查、旁站监理记录等。3.旁站监理根据〔根据工程工程详细情况增加删减〕3.1工程建立有关、、规程。?建筑法??建筑工程质量理??合同法??房屋建筑工程施工旁站监理理〔〕??建立工程监理人员岗位职责理规定?*************3.2工程建立强迫性技术主要有:?建筑工程监理??建筑工程施工质量验收统一??地基与根底工程施工及验收??混凝土外加剂应用??混凝土质量控制??混凝土构造工程施工及验收??混凝土搅拌站〔楼〕技术条件??混凝土泵送施工技术规程??混凝土强度检验评定??预拌混凝土??钢筋机械连接通用技术规程??钢筋焊接及验收规程??砌体工程施工及验收??混凝土小型空心砌块建筑技术规程??建筑工程质量检验评定??建筑机械使用平安技术规程??施工现场临时用电平安技术规程??建筑工程施工现场供用电平安??建筑施工高处作业平安技术规程??建筑施工平安检查??给水排水道工程施工及验收??建筑地基根底工程施工质量验收??砌体构造工程施工及验收??混凝土构造工程施工及验收??地基与根底工程施工及验收?**************3.3合同建立与监理签订的建立工程监理合同建立与施工签订的建筑工程施工合同施工企业与专业队签订的工程合同**************3.4勘察设计本工程地质勘察资料3.5施工与施工监理施工组织设计监理规划4.监理旁站程序在本工程的旁站监理过程中我工程监理部的监理人员将按以下程序对施工过程进展旁站监理确保工程质量。NYNNY5.旁站监理人员的职责5.1检查施工企业现场质检人员到岗、特殊人员持证上岗以及施工机械、建筑材料准备情况;5.2在现场跟班监视关键部位、关键工序的施工方案以及工程建立强迫性执行情况;旁站监理工作流程图图纸核查确定旁站监理工作范围总监理工程师主持编制旁站监理方案〔可与监理规划合并〕总监理工程师主持施工前24h报施工申请表施工审核施工申请表监理工程师按〈旁站监理方案〉施行旁站监理人员?旁站记录?由施工负责人签认旁站监理人员是否符合整改施工监理工程师、总监理工程师进展处理旁站监理人员施工过程是否按方案施行关键施工人员是否到位是否按操作规程及工程强迫性施工5.3核查进场建筑材料、建筑构配件、设备和商品混凝土的质量检验等并可在现场监视施工企业进展检验或者委托具有资格的第三方进展复验;5.4做好旁站监理记录和监理日志保存旁站监理原始资料;5.5在施行旁站监理时发现质量问题应要求承建商整改必要时向总监和业主采取必要措施。5.6工程开工后将旁站监理资料存档备查。6.关键部位、关键工序的旁站监理措施6.1在工程开场前工程监理部应根据本工程的特点由总监理工程师组织制定详细的旁站监理方案确定旁站的关键部位、关键工序旁站的监控要点。6.2旁站监理人员熟悉施工图纸、检测和技术、为现场旁站监视做好准备。6.3审批承建商...

1、当您付费下载文档后,您只拥有了使用权限,并不意味着购买了版权,文档只能用于自身使用,不得用于其他商业用途(如 [转卖]进行直接盈利或[编辑后售卖]进行间接盈利)。
2、本站所有内容均由合作方或网友上传,本站不对文档的完整性、权威性及其观点立场正确性做任何保证或承诺!文档内容仅供研究参考,付费前请自行鉴别。
3、如文档内容存在违规,或者侵犯商业秘密、侵犯著作权等,请点击“违规举报”。

碎片内容

施工监理旁站实施细则

确认删除?
VIP
微信客服
  • 扫码咨询
会员Q群
  • 会员专属群点击这里加入QQ群
客服邮箱
回到顶部