电脑桌面
添加小米粒文库到电脑桌面
安装后可以在桌面快捷访问

网优KPI优化手册VIP免费

网优KPI优化手册_第1页
1/29
网优KPI优化手册_第2页
2/29
网优KPI优化手册_第3页
3/29
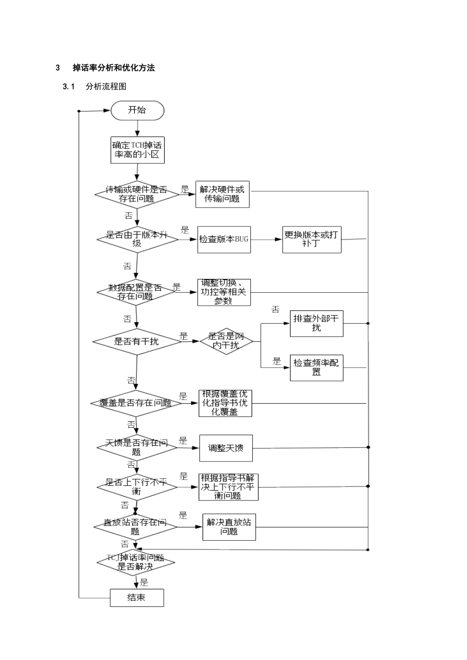
目录1掉话率定义说明..................................................................31.1掉话率含义..............................................................31.2公式....................................................................32影响掉话率的因素..............................................................33掉话率分析和优化方法..........................................................43.1分析流程图..............................................................43.2定位及优化方法说明......................................................53.2.1硬件故障..........................................................53.2.2传输问题..........................................................53.2.3版本升级..........................................................63.2.4参数设置问题......................................................63.2.5网内外干扰........................................................93.2.6覆盖问题.........................................................103.2.7天馈问题.........................................................113.2.8上下行不平衡.....................................................114高掉话率小区优化案例.........................................................124.1案例一:外界干扰导致的掉话.............................................124.2案例二:上下行不平衡问题导致掉话.....................................一三4.3案例三:直放站问题引起的掉话...........................................144.4案例四:邻区漏加导致过覆盖,最终掉话.................................一五4.5案例五:频率干扰导致掉话...............................................174.6案例六:硬件故障导致高掉话问题.........................................194.7案例七:跳线问题引起的高掉话...........................................204.8案例八:传输问题引起的掉话.............................................214.9案例九:硬件隐性故障引起的上行质量和掉话问题...........................224.10案例十:干扰问题导致高掉话.............................................234.11案例十一:由射频跳频引起的上行干扰导致掉话增加.........................244.12案例十二:外界干扰问题导致的高掉话.....................................254.一三...........................................案例十三:天馈接反导致的高掉话274.14案例十四:硬件问题导致掉话次数较多.....................................281掉话率定义说明1.1掉话率含义掉话率反映了在给移动台成功分配了信道之后,发生的掉话次数占占用成功次数的比例。掉话率是保持类的重要性能指标之一,也是局方重点考核的指标之一,它反映了用户在正常接入信道后由于各种原因没能正常结束通话的概率。掉话率过高会直接影响用户感受。1.2公式32公式掉话率=掉话次数/业务信道分配成功次数(不含切换)*100%=[掉话次数]/[呼叫占用成功次数]*100%6000公式:掉话率=掉话次数/业务信道分配成功次数(不含切换)*100%=[A接口清除请求次数()(业务信道)]/([呼叫占用成功次(业务信道)]+[切换占用成功次数(业务信道)])*100%2影响掉话率的因素根据各地网络投诉案例及优化经验,对掉话率异常的情况进行总结,影响掉话率的主要因素有:硬件故障传输问题版本升级参数设置问题网内外干扰覆盖问题天馈问题上下行不平衡3掉话率分析和优化方法3.1分析流程图3.2定位及优化方法说明3.2.1硬件故障当出现或合路器故障的情况时,将会造成占用困难,掉话率上升。当硬件出现故障时,有可能导致小区频繁退服,造成掉话。一、检查硬件故障可以通过查看基站告警或在M2000客户端网络拓扑界面直接查看硬件状态。主要的告警如下表所示:告警告警名称2204载频单板通讯告警4176主集接收...

1、当您付费下载文档后,您只拥有了使用权限,并不意味着购买了版权,文档只能用于自身使用,不得用于其他商业用途(如 [转卖]进行直接盈利或[编辑后售卖]进行间接盈利)。
2、本站所有内容均由合作方或网友上传,本站不对文档的完整性、权威性及其观点立场正确性做任何保证或承诺!文档内容仅供研究参考,付费前请自行鉴别。
3、如文档内容存在违规,或者侵犯商业秘密、侵犯著作权等,请点击“违规举报”。

碎片内容

网优KPI优化手册

您可能关注的文档

确认删除?
VIP
微信客服
  • 扫码咨询
会员Q群
  • 会员专属群点击这里加入QQ群
客服邮箱
回到顶部