电脑桌面
添加小米粒文库到电脑桌面
安装后可以在桌面快捷访问

某酒业生产企业员工工资增涨流程VIP免费

某酒业生产企业员工工资增涨流程_第1页
1/1
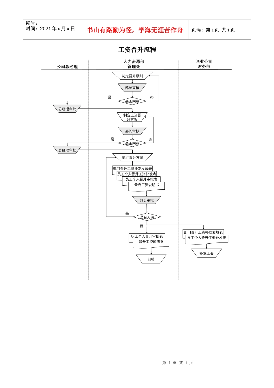
第1页共1页编号:时间:2021年x月x日书山有路勤为径,学海无涯苦作舟页码:第1页共1页第49页Sinotrust公司总经理酒业公司财务部人力资源部管理处制定工资晋升方案制定晋升原则部长审核总经理审批部长审核总经理审批执行晋升方案部门晋升工资补发发放表员工个人晋升工资补发表部门晋升工资补发发放表员工个人晋升工资补发表补发工资员工个人晋升审批表晋升工资说明书部长审批是否无误是否是否同意是否是否同意是否职工个人晋升审批表晋升工资说明书归档工资晋升流程

1、当您付费下载文档后,您只拥有了使用权限,并不意味着购买了版权,文档只能用于自身使用,不得用于其他商业用途(如 [转卖]进行直接盈利或[编辑后售卖]进行间接盈利)。
2、本站所有内容均由合作方或网友上传,本站不对文档的完整性、权威性及其观点立场正确性做任何保证或承诺!文档内容仅供研究参考,付费前请自行鉴别。
3、如文档内容存在违规,或者侵犯商业秘密、侵犯著作权等,请点击“违规举报”。

碎片内容

某酒业生产企业员工工资增涨流程

您可能关注的文档

确认删除?
VIP
微信客服
  • 扫码咨询
会员Q群
  • 会员专属群点击这里加入QQ群
客服邮箱
回到顶部