电脑桌面
添加小米粒文库到电脑桌面
安装后可以在桌面快捷访问

质量保证措施和创优计划VIP专享VIP免费

质量保证措施和创优计划_第1页
1/43
质量保证措施和创优计划_第2页
2/43
质量保证措施和创优计划_第3页
3/43
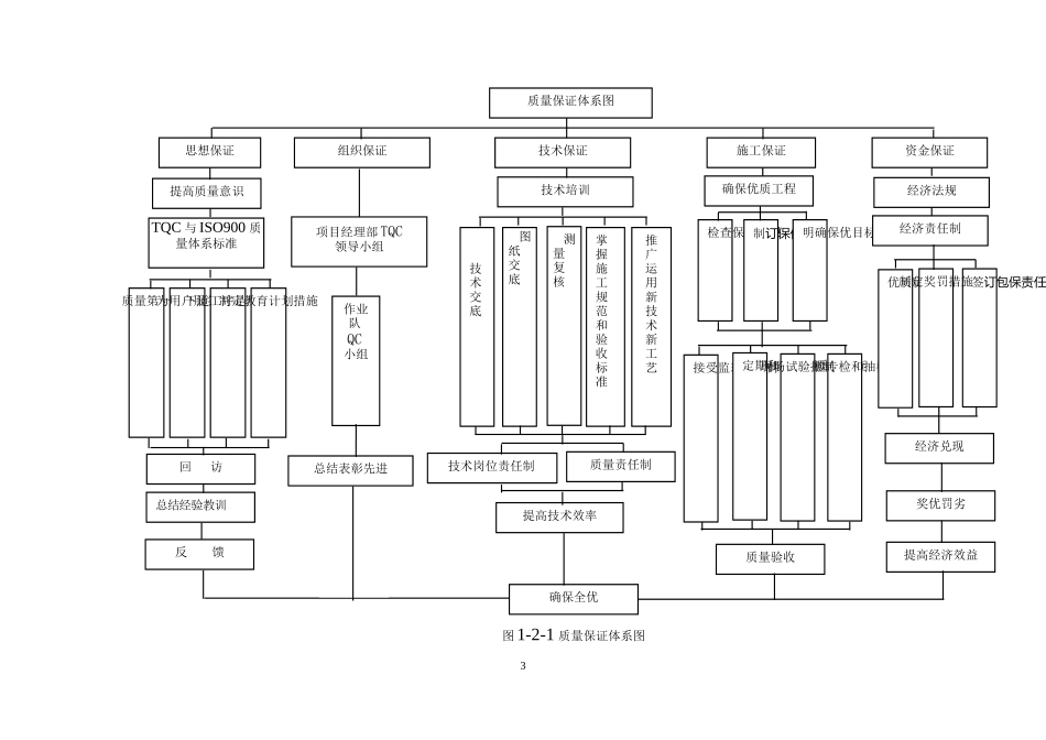
第四章质量保证一、质量目标和质量保证体系1、质量目标全部工程达到国家有关的质量验收标准及业主招标文件中关于工程质量标准的要求,单位工程、分部工程、分项工程和检验批一次验收合格率均达到100%。争创国家优质工程。无大、重大质量事故。竣工文件真实可靠,规范整洁,完整无缺,一次验收交接合格。2、质量保证体系2.1质量保证体系要素构成及分配本投标人建立的质量管理体系达到了下列要求:明确了质量管理所需要的过程;明确了各个质量管理过程的顺序和相互关系,质量手册中做了简要描述,具体内容主要在程序文件和管理制度中描述;对各项质量管理活动规定了准则和程序,并提供资源保证;在相关的程序和文件中规定了质量记录的要求和传递途径,保证相关人员得到必要的信息;对质量管理过程和工程产品实现过程通过检验、试验、检查、审核、评审等手段进行监控、测量,并进行分析,发现问题,解决问题,改进质量体系。质量保证体系各要素在项目经理部各部门进行分解,使质量要素处于受控状态。本投标人质量保证体系的各要素在该工程各管理部门中职责分配如下:ISO9001质量保证体系要素构成及分配要素主要职能(▲)相关职能(△)编号内容项目经理项目副经理总工程师工程技术部物资设备部计划财务部安质环保部综合管理部1管理职责▲△△△△△△△2管理评审▲△△△△△△△3产品实现的策划▲△△△△△△4文件与资料控制△△△△△▲15记录控制△▲6采购△▲△△△7过程控制▲△△△△8人力资源△▲9设施△△△▲10工作环境▲11生产的提供△▲△△△12服务的提供△▲13监视和测量装置的控制△▲△△14过程监视和测量△△▲15不合格品控制△△△▲△16数据分析△▲△△△△17纠正和预防措施△▲△△△18过程实施▲△△△△19验交及保修回访▲△△2质量保证体系图技术保证组织保证思想保证施工保证提高质量意识TQC与ISO900质量体系标准质量第一为用户服务下道工序是用户制定教育计划措施回访总结经验教训反馈项目经理部TQC领导小组作业队QC小组总结表彰先进技术培训图纸交底测量复核掌握施工规范和验收标准推广运用新技术新工艺技术交底提高技术效率质量责任制技术岗位责任制确保优质工程检查保优效果制订保优措施明确保优目标接受监理工程师监督定期和不定期质量检查自检专检和抽检现场试验控制质量验收确保全优资金保证经济法规经济责任制优质优价签订包保责任书制定奖罚措施经济兑现奖优罚劣提高经济效益图1-2-1质量保证体系图3第4页共43页编号:时间:2021年x月x日书山有路勤为径,学海无涯苦作舟页码:第4页共43页2.2质量职责项目部主要管理人员及职能部门所担负的质量职责如下表:主管部门职责项目经理为该线的质量责任人,实施质量终身责任制。贯彻实施本投标人质量方针和质量目标,严格执行质量保证手册,负责全线施工生产的组织协调和指挥工作,对工程施工质量全面负责。严格履行合同文件有关条款的规定,加强内外、上下协调,合理组织施工力量,保证工程质量和工期。对本工程的施工进度、工程质量及质量体系的执行情况进行监督检查。定期组织安全生产、工程质量大检查,确保质量体系的有效运行。及时参加建设单位组织的施工协调等工作会议,配合建设单位组织好验收、开通和交付工作。技术负责人贯彻实施本投标人质量方针和质量目标,严格执行质量保证手册和程序文件,对工程质量负责。对项目经理负责,加强内外、上下协调,合理组织施工力量,保证工程质量和工期。协助项目经理对工程的施工进度、工程质量及质量体系的执行情况进行监督检查。参加安全生产、工程质量大检查,确保施工安全和质量体系的有效运行。负责召开质量分析会,负责对质量问题的审定和改进措施的检查落实,配合建设单位组织好工程验收、开通、交付工作。负责编制本工程质量培训计划,并组织落实,对培训效果负责。总工程师贯彻实施本投标人质量方针和目标,检查落实质量保证手册和程序文件的执行情况,对工程质量管理和工程质量负技术责任。负责组织施工设计文件的会审工作,主持特殊和重点项目施工方案审批及工作。主持制定新设备、新材料的首次安装标准及作业指导书的编制,并组织技术交底和指导实施...

1、当您付费下载文档后,您只拥有了使用权限,并不意味着购买了版权,文档只能用于自身使用,不得用于其他商业用途(如 [转卖]进行直接盈利或[编辑后售卖]进行间接盈利)。
2、本站所有内容均由合作方或网友上传,本站不对文档的完整性、权威性及其观点立场正确性做任何保证或承诺!文档内容仅供研究参考,付费前请自行鉴别。
3、如文档内容存在违规,或者侵犯商业秘密、侵犯著作权等,请点击“违规举报”。

碎片内容

质量保证措施和创优计划

确认删除?
VIP
微信客服
  • 扫码咨询
会员Q群
  • 会员专属群点击这里加入QQ群
客服邮箱
回到顶部