电脑桌面
添加小米粒文库到电脑桌面
安装后可以在桌面快捷访问

城市污水处理厂污水处理工艺对VOCs挥发特征影响VIP免费

城市污水处理厂污水处理工艺对VOCs挥发特征影响_第1页
1/8
城市污水处理厂污水处理工艺对VOCs挥发特征影响_第2页
2/8
城市污水处理厂污水处理工艺对VOCs挥发特征影响_第3页
3/8
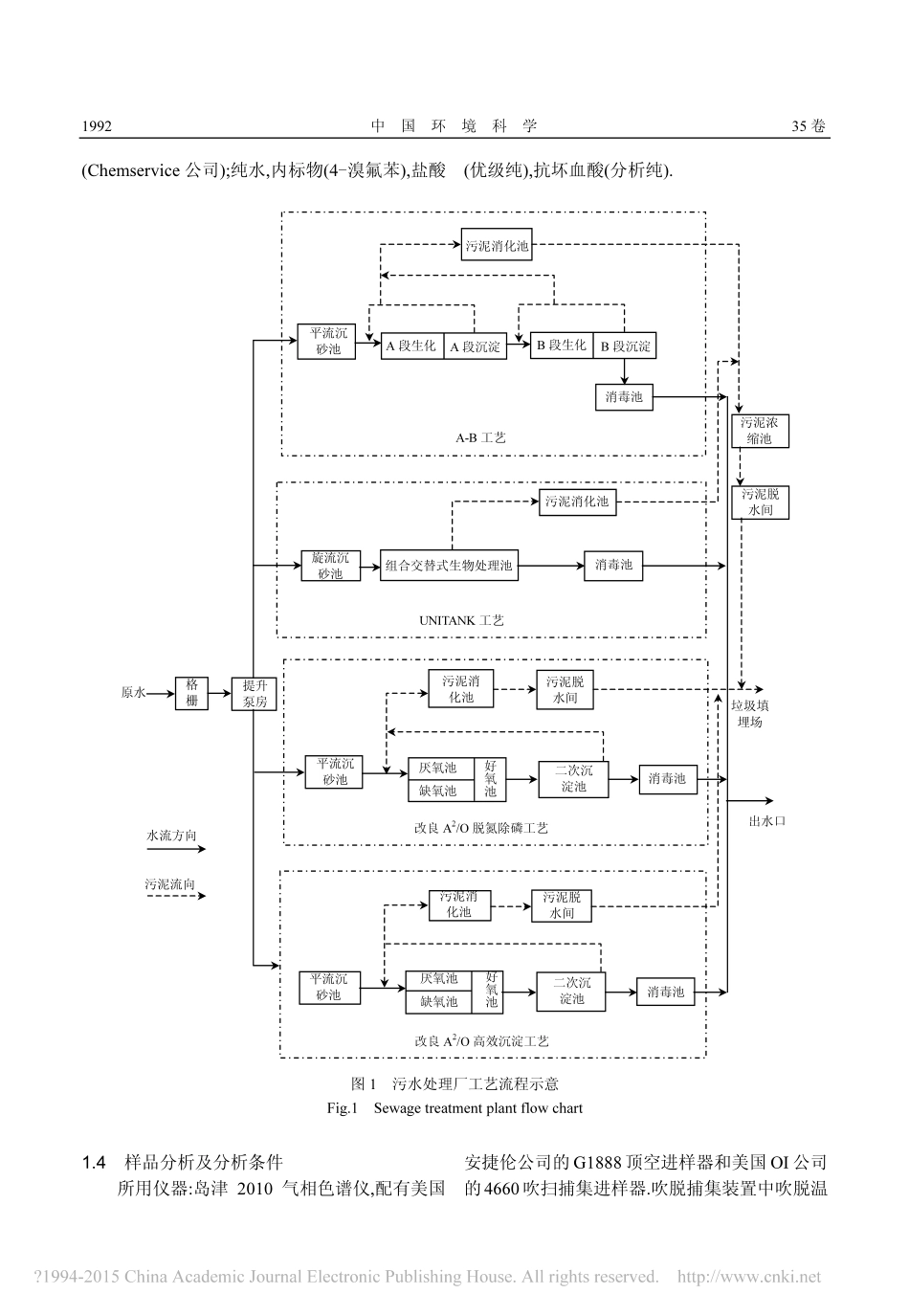
中国环境科学2015,35(7):1990~1997ChinaEnvironmentalScience城市污水处理厂污水处理工艺对VOCs挥发特征影响耿雪松1,2,张春林1*,王伯光1(1.暨南大学,大气环境安全与污染控制研究所,广东广州510632:2.暨南大学环境学院,广东广州510632)摘要:对广州市某污水处理厂入厂原水进行了现场水样采集,用吹扫捕集-气相色谱质谱法测定了水样中VOCs含量.在污水处理厂入水口中共检出20种VOCs,浓度范围为0.1789~21.89µg/L.基于实测数据和构筑物结构参数,对该厂4种不同的污水处理工艺流程(包括A-B工艺,UNITANK工艺,改良A2/O脱氮除磷工艺和改良A2/O高效沉淀工艺)利用WATER9模型计算了各工艺主要构筑物VOCs的挥发速率和挥发总量.挥发速率最大工艺为A-B工艺,其值为0.2318g/s;构筑物加盖的改良A2/O高效沉淀工艺挥发速率最小为0.0426g/s.各个工艺中挥发速率最大的单元有生物处理池和沉淀池,主要成分有苯、甲苯、三氯甲烷、四氯乙烯.根据VOCs挥发速率和污水处理量计算了VOCs在构筑物加盖和不加盖情况下的排放因子,并估算了珠江三角洲地区污水处理厂VOCs的总排放量,发现构筑物加盖可大大减少城市污水处理厂的排放率,削减率可达到74.72%.关键词:污水处理厂;VOCs;WATER9;排放因子中图分类号:X511文献标识码:A文章编号:1000-6923(2015)07-1990-08Effectsoftreatmentprocessesontheemissioncharacteristicsofvolatileorganiccompounds(VOCs)inamunicipalsewagetreatmentplant.GENGXue-song1,2,ZHANGChun-lin1*,WANGBo-guang1(1.InstituteofAtmosphereEnvironmentalSafetyandPollutionControl,JinanUniversity,Guangzhou510632,China;2.CollegeofEnvironmentalEngineering,JinanUniversity,Guangzhou,510632,China).ChinaEnvironmentalScience,2015,35(7):1990~1997Abstract:Sewagetreatmentplantcouldbeapotentialexposuretovolatileorganiccompounds(VOCs)inurbanenvironment.RawwatersampleswerecollectedfromtheinletofamunicipalsewagetreatmentplantinGuangzhouandwereanalyzedbypurge-trapconcentratorandhigh-resolutiongaschromatographycoupledwithmassspectrometry.20individualcompoundswerediscoveredwithaconcentrationrangedfromapproximately0.1789to21.89µg/Lintheinletwater.TheemissionratesandthetotalamountwerecalculatedemployingthemodelofWATER9basedonthemeasureddataandunitsstructuralparameters.Amongthefourprocesses(A-Bprocess,UNITANKprocesses,improvedA2/Oprocessconcentratedonnitrogenandphosphorusremoval,improvedA2/Oprocesswithefficientsedimentationtank),A-Bprocesshadthehighestemissionrateof0.2318g/s,whilethecoveredA2/Oprocesswithefficientsedimentationtankhadthelowestemissionrateof0.0426g/s.ThebiologicaltankandsedimentationtankwerethetwomajorunitsthatcontributedthelargestVOCsemissioninalltheunitsandthemostabundantVOCsconsistedofBenzene,toluene,chloroformandtetrachloroethylene.TheemissionfactorsofcoveredanduncoveredunitswerecalculatedbyWATER9modelbasedonemissionratesandsewagetreatmentamountsandVOCsemissionsofsewagetreatmentplantsinPearlRiverDeltaregionwereestimatedaswell,theresultsindicatedthatcoveredunitswillgreatlyreducetheamountofVOCsemissionswiththereductionrateupto74.72%.Keywords:sewagetreatmentplant;VOCs;WATER9;emissionfactor在我国经济发达的地区,区域性大气复合污染问题已引起了广泛关注,以臭氧为特征的区域性光化学烟雾污染和以细颗粒物为特征的灰霾天气频繁出现[1],挥发性有机化合物(VOCs)作为这些大气二次污染现象形成的重要前体物,是导致区域空气质量下降的关键污染物之一.此外,某些VOCs成分(如苯、甲醛、丁二烯)可刺激眼、鼻、喉、呼吸道黏膜,损害血液系统和神经系统,长期接触可引发致癌效应,严重威胁人类的生存收稿日期:2014-11-25基金项目:国家自然科学基金(U1201232)*责任作者,副教授,zhchunlin@163.com7期耿雪松等:城市污水处理厂污水处理工艺对VOCs挥发特征...

1、当您付费下载文档后,您只拥有了使用权限,并不意味着购买了版权,文档只能用于自身使用,不得用于其他商业用途(如 [转卖]进行直接盈利或[编辑后售卖]进行间接盈利)。
2、本站所有内容均由合作方或网友上传,本站不对文档的完整性、权威性及其观点立场正确性做任何保证或承诺!文档内容仅供研究参考,付费前请自行鉴别。
3、如文档内容存在违规,或者侵犯商业秘密、侵犯著作权等,请点击“违规举报”。

碎片内容

城市污水处理厂污水处理工艺对VOCs挥发特征影响

您可能关注的文档

确认删除?
VIP
微信客服
  • 扫码咨询
会员Q群
  • 会员专属群点击这里加入QQ群
客服邮箱
回到顶部