电脑桌面
添加小米粒文库到电脑桌面
安装后可以在桌面快捷访问

工程监理总程序VIP免费

工程监理总程序_第1页
1/12
工程监理总程序_第2页
2/12
工程监理总程序_第3页
3/12
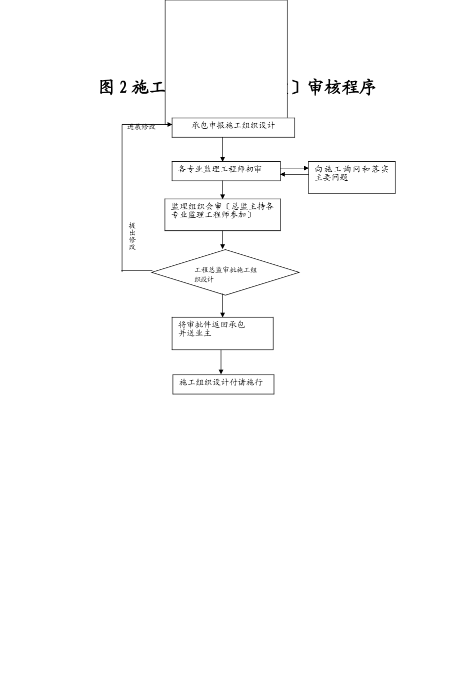
图1工程监理总程序签订业主工程师及监理合同组织工程监理站机构进展监理准备工作编制工程施工总体理规划、编写监理规划及施行细那么报业主审批参与业主施工、设备工作工程监理部进驻现场开工前手续监理人员监理工程师权限监理程序使用表格送施工承包工程经理部施工现场调查施工组织设计审批组织图纸会审对分包资质审核第一次工地会议审批开工签发开工施行监视与理催促承包商严格按规定图纸及工艺施工按规定要求合同理信息理各方关系的协调组织开工初验整理合同、技术资料、编开工验收评估协助业主组织施工验收参与质检部门核定质量等级签发施工移交证书、施工阶段监理完毕分析、检查原因施行返修、返工监理不合格控制质量控制进度控制平安控制审核工程量审核审核签发工程付款单处理索赔上岗人员资格审核原材料预控构配件预控设备预控分项分部及工程质量控制及验收参加质量事故分析监视事故处理方案执行审核总进度方案审核年、季、月施工进度方案实际进度与方案进度比照分析检查施工安培人员落实重要工序平安技术措施审批平安防护措施齐备图2施工组织设计〔方案〕审核程序承包申报施工组织设计各专业监理工程师初审监理组织会审〔总监主持各专业监理工程师参加〕将审批件返回承包并送业主施工组织设计付诸施行向施工询问和落实主要问题工程总监审批施工组织设计进展修改提出修改图3分包资格审查程序不同意选择分包总承包填写?分包资格报审?表?监理工程师审查、协调、签认审核总承包与分包签订分包合同分包进驻现场图4图纸会审控制程序各专业监理工程师熟悉施工图纸、初审提出问题总监主持监理部会审各专业监理工程师整理列出问题总监理工程师审核问题问题汇总问题汇总报业主各专业监理工程师将图纸汇总问题在业主、施工、设计、监理四方的图纸会审会上提出已准备好的图纸问题落实问题整理归档、写进图5合同理工作程序掛未履约图6施工阶段进度控制程序合同签定意向合同订立审批制度合同会谈合同评审合同履约检查合同登记保制度合同统计制度合同资料整理归档制度合同履约检查制度索赔处理写明索赔事项原因报业主审批合同签字承包根据工总目的编制施工总进度方案填写?施工进度方案报审表?应附有:编制材料、设备采购方案、劳动力使用方案、施工机械使用方案总监理工程师审批进度方案承包编制年、季、月进度方案填写?施工进度方案报审表?总监理工程师审批年、季、月方案承包按方案组织施行监理工程师对进度施行情况进展检查、分析根本实现方案目的标严重偏离方案目的承包编制下一方案总监理工程师签发严重偏离方案书承包纠正进度方案偏离承包继续施工实现工总目的否图7单项工程、工程、分局部项工程进度控制程序指挥部根据总体规划拟定的规划工建立与承包签订施工承包合同明确的合同工承包编制的施工组织设计和进度网络单项工程起止工监理审批并提出进度控制要点和阶段必保目的承包编制年、季度施行方案监理审批施行方案承包组织方案施行分局部项工程进度工施行情况工程方案工与实际比照情况监理检查方案与实际的比照分析进度失控各种因素、并提出组织、合同、技术的协调措施。配套工程方案工与实际比照情况施工按协调措施和赶工措施组织正常施工实现工的总目的图8施工阶段质量控制程序审批开工申请下达开工承包申报材料合格证复验单承包申报施工方案进展复检或更换材料监理工程师审批合格分部、分项工程施工施工试验及监理取样各分项、隐蔽工程自检填报工程报验单监理工程师现场检查及审查试验签发工程检验认可书并在自检资料上签字整改不合格合格合格下一道工序施工分部工程完成承包填写分部工程监理工程师现场检查检查结果签发分部工程检验认可书监理工程师签收不合格附分项(隐蔽)工程报验单和分项工程检验认可书合格签改不合格附:①隐验单②预验单③质量保证资料④分项工程质量评定表②③④不合格修改不合格图9隐蔽工程质量控制程序承包自检合格向监理申报?工承包验单?并附隐检记录质评表及有关资料专业监理工程师现场检查验收监理工程师在隐蔽记录单上签字认可承包可进展下道工序施工两次检查验收监理工程师下达监理提出整改要求承包整改后再次申请下达不合格工程限整改整改后第三...

1、当您付费下载文档后,您只拥有了使用权限,并不意味着购买了版权,文档只能用于自身使用,不得用于其他商业用途(如 [转卖]进行直接盈利或[编辑后售卖]进行间接盈利)。
2、本站所有内容均由合作方或网友上传,本站不对文档的完整性、权威性及其观点立场正确性做任何保证或承诺!文档内容仅供研究参考,付费前请自行鉴别。
3、如文档内容存在违规,或者侵犯商业秘密、侵犯著作权等,请点击“违规举报”。

碎片内容

工程监理总程序

确认删除?
VIP
微信客服
  • 扫码咨询
会员Q群
  • 会员专属群点击这里加入QQ群
客服邮箱
回到顶部