电脑桌面
添加小米粒文库到电脑桌面
安装后可以在桌面快捷访问

混凝土结构工程监理实施细则bVIP免费

混凝土结构工程监理实施细则b_第1页
1/24
混凝土结构工程监理实施细则b_第2页
2/24
混凝土结构工程监理实施细则b_第3页
3/24
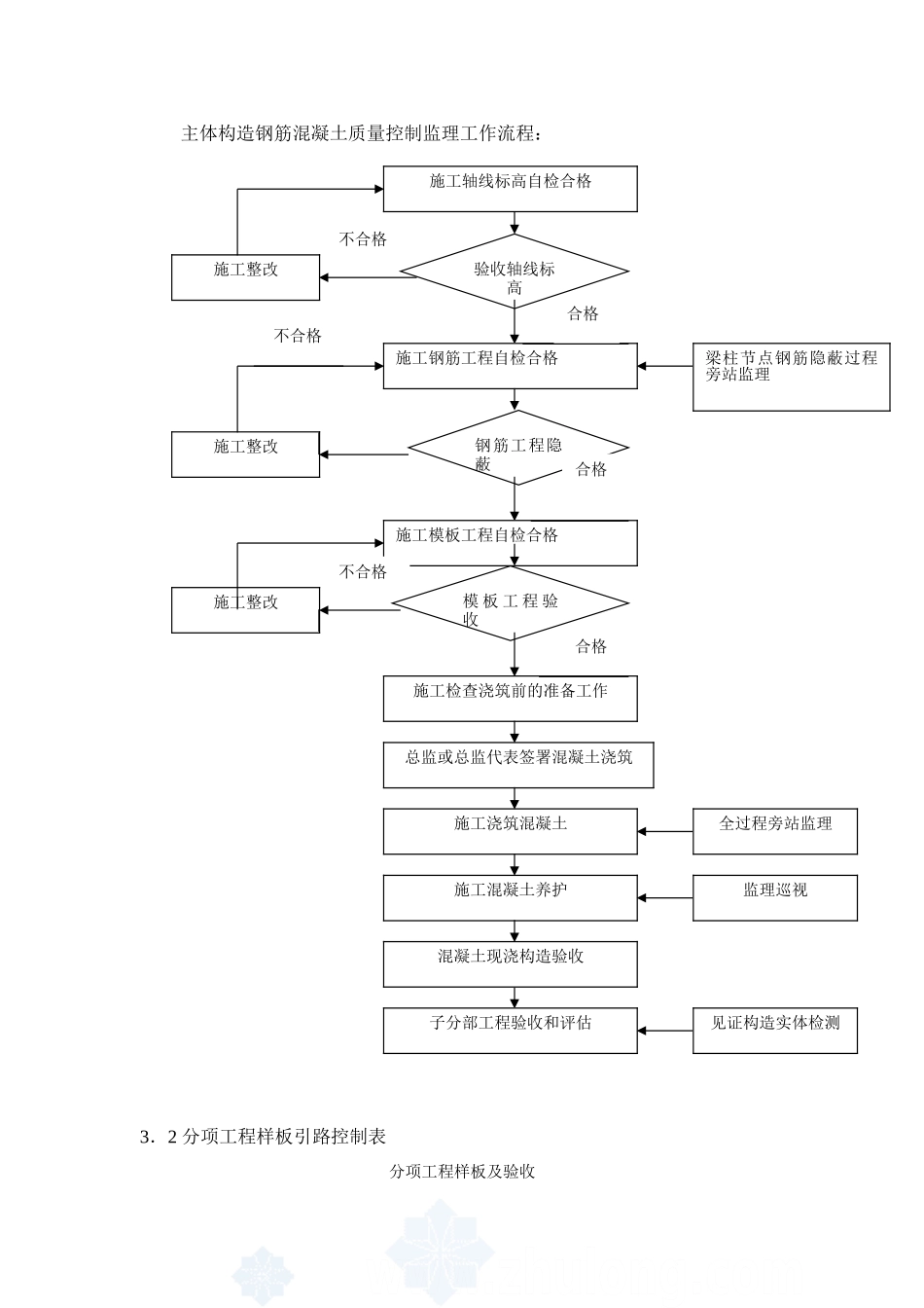
*********混凝土结构工程监理实施细那么编制人:批准人:批准时间:混凝土构造工程监理施行细那么1.专业工程概况与特点本工程主要参与如下:建立:设计:施工:监理:2.监理工作根据和验收规定2.1监理工作根据序名称编1混凝土构造工程施工质量验收GB50204—20022建筑工程施工质量验收统一GB50300—20013建立工程监理GB50319—20004建筑工程冬施工规程JGJ104—975钢筋焊接及验收规程JGJ18—962.2验收一般规定根据?建筑工程施工质量验收统一?砼构造工程属于主体分部或地基根底的一个子分布对于地下砼构造也可适用但应补充地下砼构造的特殊规定。砼主体构造主要包括钢筋、模板、砼、预应力和现浇构造五个分项每个分项工程应按楼层和伸缩缝划分成假设干个检验批。子分部工程验收应遵循以下原那么:检验批验收合格分项工程验收合格子分部工程验收合格〔包括构造实体质量检测〕3.监理工作流程及分项工程样板引路控制表3.1监理质量控制工作流程主体构造钢筋混凝土质量控制监理工作流程:3.2分项工程样板引路控制表分项工程样板及验收施工轴线标高自检合格验收轴线标高施工钢筋工程自检合格钢筋工程隐蔽施工模板工程自检合格模板工程验收施工检查浇筑前的准备工作总监或总监代表签署混凝土浇筑施工浇筑混凝土施工混凝土养护混凝土现浇构造验收子分部工程验收和评估合格合格合格梁柱节点钢筋隐蔽过程旁站监理监理巡视全过程旁站监理见证构造实体检测施工整改施工整改施工整改不合格不合格不合格施工阶段样板样板确认过程验收备注根底及主体阶段模板支撑监理部、工程部监理部工程部抽查柱梁板钢筋筋绑扎监理部、工程部监理部工程部抽查砼楼面收浆监理部、工程部监理部工程部抽查砼导墙监理部、工程部监理部工程部抽查穿墙预埋监理部、工程部监理部工程部抽查钢板网安装监理部、工程部监理部、工程部4.监理工作的控制要点及目的值4.1模板分项工程楼层底模及其支架撤除时的砼强度应参照同条件养护试件强度试验并应符合要求:板〔≤2m〕底模撤除时的砼同条件养护试件强度要求:≥50砼设计强度;板〔>2m≤8〕底模撤除时的砼同条件养护试件强度要求:≥75砼设计强度;梁〔≤8m〕底模撤除时的砼同条件养护试件强度要求:≥75砼设计强度;悬臂构件底模撤除时的砼同条件养护试件强度要求:≥100砼设计强度;固定在模板上的预埋件、预留孔洞均不得遗漏且应安装结实其偏向应符合要求:预埋钢板中心线位置允许偏向:3mm;预埋、预留孔中心线位置允许偏向:3mm;预留洞中心线位置允许偏向:10mm、预留洞尺寸允许偏向〔±10mm0〕;插筋中心线位置允许偏向:5mm、插筋外露长度允许偏向〔±10mm0〕;模板安装的偏向应符合要求:轴线位置允许偏向:5mm;底模上外表标高允许偏向:±5mm;柱、墙、梁截面尺寸允许偏向:(+4mm-5mm);层高垂直度〔不大于5m〕允许偏向:6mm;相邻两板外表上下差允许偏向:2mm;外表平整允许偏向5mm;4.2钢筋分项工程受力钢筋的弯钩和弯折应符合以下规定:HPB235级钢筋末端应作180º弯钩其弯弧内直径不应小于钢筋直径的2.5倍弯钩的弯后平直部分长度不应小于钢筋直径的3倍;当HRB235级钢筋末端作135º弯钩时其弯弧内直径不应小于钢筋直径的4倍弯钩的弯后平直部分长度应符合设计要求;钢筋作不大于90º的弯折时弯折处的弯弧内直径不应小于钢筋直径的5倍。箍筋的末端应作弯钩弯钩形式应符合以下规定:弯钩的弯弧内直径在满足上条要求的同时不应小于受力钢筋直径;弯钩的弯折角度应为135º〔有抗震要求〕;箍筋弯后平直部分长度不应小于箍筋直径的10倍〔有抗震要求〕。钢筋加工的形状、尺寸应符合设计要求其偏向应符合要求:受力钢筋顺长度方向全长的净尺寸允许偏向:±10mm;弯起钢筋的弯折位置允许偏向:±20mm;箍筋内净尺寸允许偏向:±5mm。钢筋安装位置的偏向应符合要求:绑扎钢筋网长、宽允许偏向:±10mm;网眼尺寸允许偏向:±20mm;受力钢筋间距允许偏向:±10mm;排距允许偏向:±5mm;保护层厚度允许偏向:柱、梁为±5mm;板、墙为±3mm;绑扎箍筋间距允许偏向:±20mm;预埋件中心线位置允许偏向:5mm;程度高差允许偏向〔+3mm0〕。4.3混凝土分项工程砼施工和试块留置...

1、当您付费下载文档后,您只拥有了使用权限,并不意味着购买了版权,文档只能用于自身使用,不得用于其他商业用途(如 [转卖]进行直接盈利或[编辑后售卖]进行间接盈利)。
2、本站所有内容均由合作方或网友上传,本站不对文档的完整性、权威性及其观点立场正确性做任何保证或承诺!文档内容仅供研究参考,付费前请自行鉴别。
3、如文档内容存在违规,或者侵犯商业秘密、侵犯著作权等,请点击“违规举报”。

碎片内容

混凝土结构工程监理实施细则b

精品中小学资料+ 关注
实名认证
内容提供者

精品文档

确认删除?
VIP
微信客服
  • 扫码咨询
会员Q群
  • 会员专属群点击这里加入QQ群
客服邮箱
回到顶部