电脑桌面
添加小米粒文库到电脑桌面
安装后可以在桌面快捷访问

市政道路工程VIP免费

市政道路工程_第1页
1/34
市政道路工程_第2页
2/34
市政道路工程_第3页
3/34
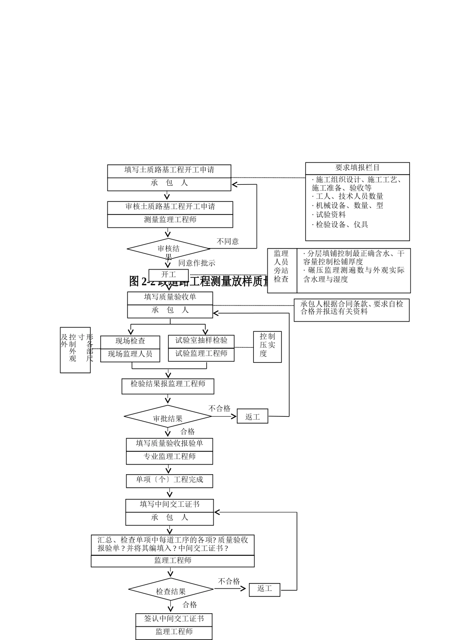
政道路工程一、专业工程特点政道路工程是城建立的主要组成局部是为城居民消费和生活效劳的为城的繁荣和开展提供了必要的条件。政道路工程通常开工急、工短、质量控制难度大;且施工场地狭窄常常影响工程施行地段的环境和交通给人们消费和生活带来不便也增加了工程建立进度控制、质量控制的难度。另外政道路工程通常地下线比拟复杂在工程建立施行过程中常常遇到地下线位置不清的情况容易发惹事故因此监理应要求承包人在开工前多作调查研究摸清施工地段地下线情况防止挖断线影响施工进度和造成经济损失政道路工程质量监理是指工程在施工阶段从测量放样到路基、基层、面层的施工全过程进展的质量检查、监视、和理。二、监理工作流程1、政道路工程质量监理工作流程见图2-12、政道路工程测量放样质量监理工作流程见图2-23、土质路基质量监理工作流程见图2-34、石质路基质量监理工作流程见图2-45、砂〔砾〕石基层质量监理工作流程见图2-56、碎石基层监理工作流程见图2-67、石灰土〔水泥稳定土〕基层监理工作流程见图2-78、水泥混凝土面层质量监理工作流程见图2-89、沥青混凝土面层质量监理工作流程〔另见沥青砼施行细那么〕10、侧石、缘石、人行道质量监理工作流程见图2-911、雨水井、支质量监理工作流程见图2-10图2-1政道路工程质量监理工作流程同意作批示不同意填写政道路工程开工申请承包人审核政道路工程开工申请监理工程师审核结果开工道路工程测量放样测量监理工程师审核检查地下线施工监理监视检查路基工程施工监理监视检查道路构造层施工监理监视检查附属工程施工监理检查道路面层施工监理监视检查按要求需填报内容·施工组织设计方案施工工工序质量质量体系·工人、技术人员数量·主要机具设备品种数量·施工场地准备情况·材料到场情况材料试验等·分包人的资质证书交工、验收监理工程师签认合格不合格审核检查施工测量放样报验单测量监理工程师审查结果填写政道路测量放样报验单承包人签认质量验收报验单监理工程师进展下道工序重测承包人根据要求自检合格并根据测量放样资料控制中线位置、高程、横断面图2-2政道路工程测量放样质量监理工作流程合格合格不合格不合格同意作批示不同意填写土质路基工程开工申请承包人审核土质路基工程开工申请测量监理工程师审核结果开工填写质量验收单承包人现场检查现场监理人员试验室抽样检验试验监理工程师检验结果报监理工程师填写质量验收报验单专业监理工程师检查结果形各部尺寸控制外观及外要求填报栏目·施工组织设计、施工工艺、施工准备、验收等·工人、技术人员数量·机械设备、数量、型·试验资料·检验设备、仪具监理人员旁站检查·分层填铺控制最正确含水、干容量控制松铺厚度·碾压监理测遍数与外观实际含水理与湿度承包人根据合同条款、要求自检合格并报送有关资料控制压实度单项〔个〕工程完成审批结果返工填写中间交工证书承包人签认中间交工证书监理工程师返工汇总、检查单项中每道工序的各项?质量验收报验单?并将其编填入?中间交工证书?监理工程师图2-3土质路基质量监理工作流程不同意合格合格不合格不合格同意作批示填报石质路基开工申请承包人审核石质路基开工监理工程师审核结果要求填报以下内容和资料·施工组织方案、施工及有关质量·经部门批准后的爆破施工设计和平安防护技术措施·工人、技术人员数量·爆破器材设备及施工机具数量·有关试验资料开工填报石质路基质量验收报验单承包人现场检查现场监理人员检验结果报监理工程师·监理人员检查开挖、填石施工质量·专业监理工程检验爆破作业及平安护措施根据合同条款要求规定自检合格并报资料审核结果返工填写质量验收报验单专业监理工程师返工签发中间交工证书监理工程师审查结果工序完成填写中间交工证书承包人专业监理工程师抽检图2-4石质路基质量监理工作流程不合格承包人按合同规定及要求自检合格并报有关资料合格合格不合格填报施工放样报验单承包人审核施工放样报验单测量监理工程师查验结果摊铺砂〔砾〕石料监理旁站检查进展稳压监理旁站找补整形监理旁站检查进展碾压监理旁站检查压实度及外观验收检测承包人自检双方选择位置填写质量验收报验单承包人填写...

1、当您付费下载文档后,您只拥有了使用权限,并不意味着购买了版权,文档只能用于自身使用,不得用于其他商业用途(如 [转卖]进行直接盈利或[编辑后售卖]进行间接盈利)。
2、本站所有内容均由合作方或网友上传,本站不对文档的完整性、权威性及其观点立场正确性做任何保证或承诺!文档内容仅供研究参考,付费前请自行鉴别。
3、如文档内容存在违规,或者侵犯商业秘密、侵犯著作权等,请点击“违规举报”。

碎片内容

市政道路工程

确认删除?
VIP
微信客服
  • 扫码咨询
会员Q群
  • 会员专属群点击这里加入QQ群
客服邮箱
回到顶部