电脑桌面
添加小米粒文库到电脑桌面
安装后可以在桌面快捷访问

动力照明配电箱安装工艺VIP免费

动力照明配电箱安装工艺_第1页
1/14
动力照明配电箱安装工艺_第2页
2/14
动力照明配电箱安装工艺_第3页
3/14
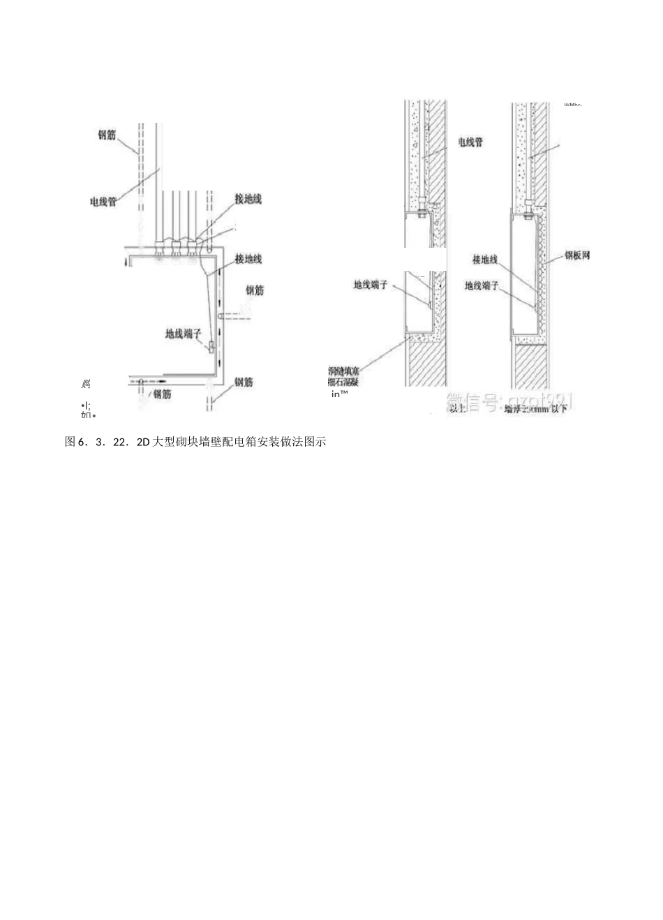
动力照明配电箱安装工艺1.配电箱开孔应与配管吻合,并应在订货时就明确提出敲落孔的数量及规格,否则应用开孔器现场开孔;不得采用电、气焊切割。2.暗装配电箱应配合土建将箱体同时按图纸要求安装于墙内,若预留洞口,应考虑需配管侧留置高度、宽度和应根据配管的直径、煨弯的倍数,比箱体应大300〜500mm,不配管侧不宜大于80mm;配管必须到位,附件应齐全,在配管和接地线作好以后,并填好隐蔽工程记录,监理认证后,可将洞口周围用细石混凝土或水泥沙浆填实填牢,各种暗装配电箱作法(配管为钢管)可参照图6.3.22.2A.B.C.D.E.F.G.H。膨嫌子图6.3.22.2A暗装配电箱后期安装做法图示(单位:mm)四垃水泥砂龊或观灘业地线端子.;U•钢板网樓炖馥配电籀图6.3.22.2B钢筋混凝土墙配电箱安装做法图0.aI配电^E'-、加菠轻钢构谨拄”一接地线加强图6.3.22.2C轻质墙配电箱安装做法图购朋.•I;或概砂如•配电厂——甘廿甘iFlriuI图6.3.22.2D大型砌块墙壁配电箱安装做法图示WMhr-、''7in™Tbarii,电线回填水泥砂地线接地J接地端1预留rOOQOO钢板g配电箱配电箱半露出墙壁安装做法接迪配电辂接地端子7地线夹回填水瀝砂浆“;m:川战賢配电箱半露出墙壁安装做法(二)图6.3.22.2E配电箱半露墙壁安装做法图示接地地线夹地端补强螺栓紧固连接■角钢补强柱加强柱电线轻钢龙骨"配电图6.3.22.2F轻质墙上半露配电箱安装做法图图6.3.22.2H木结构轻质墙配电箱半露出墙壁安装做法图示补强柱接地端子补强村丙I'訐号:1戸I1■J轻钢龙骨配电啟补强柱电线借[--接地线图6.3.22.2G轻质墙半露配电箱安装做法图示*嫌邂或找雜地红观补强结拍管卡接地找,木嫌陵世料栓接地缆配电糠如无;木结构芒柱T?p建接怦農地端子补蛊轴柜电裁怦3.明装配电箱的固定可采用预埋铁件或开角螺栓,小型的可预埋木砖但应防腐,也可根据实际情况采用膨胀螺栓和U卡子、串心螺栓、支架等作法,可参照图6.3.22.3A.B.C.D。图6.3.22.3A明装配电箱安装做法图示图6.3.22.3B明装配电箱安装做法图示接地端0Q00000000町-idkli.JH嗾杆螺拴辎固蛭栓胀管轉輕地线夹苣吏架扁耦混凝土砌快焊角角铁补强園钢第钢甫补强圆钢图6.3.22.3C轻质墙上明装配电箱安装做法图示(适用于较重配电箱的安电綾管暗敷设补遐圆补强圆钢焊M焊焊接地端电钱辭敷设电线管明敷设角铁轻钢龙骨轻钢龙骨也0螺图6.3.22.3D轻质墙上明装配电箱安装做法图示(适用于较轻配电箱的安装)焊电线焊接线盒焊接接地端(1)自制配电箱(盘),金属盘面和金属门均应有可靠的,明显的裸软铜线接地。(2)配电箱(盘)上的电气仪表应牢固、平整、整洁,间距均匀,端子排牢固,接线方便。开关启闭灵活,零部件齐全。从衬底由出线孔引至盘面配线,应装绝缘护口(瓷嘴、塑料或胶皮圈),其排列间距应满足表6.3.22.4的要求。表6.3.22.4电器、仪表排列间距要求(mm)(3)垂直安装的各种开关,熔断器等上端应接电源侧,下端应接负荷侧,横装时(面向盘面)左侧应接电源,右侧应接负荷。(4)配电箱(盘)的电源指示灯,其电源应接至总开关,电源侧并应装单独熔断器5.TN-C、TN-C-S系统PEN线应在进户线处作好重复接地,并应在总配电箱体上连接牢固,接触良好,TN-C-S系统从电源进线箱二次引出的PE线和N线应严格区分开来不可混同。6•配电箱内应设PE线和N线端子排(汇流排),并应安装操作接线方便,引进PE和N线应先进端子排,然后在由端子排处引向各配线点。7•箱内器具应安装牢固、整齐,箱内配线应排更整齐,美观并应有余量,导线较多时应绑扎成束,并按配线顺序理顺,逐个剥削套入标志头压线。8•一、二次线路绝缘电阻测试,按表鲁DQ-021并作好记录,监理人员旁站认证。9•需要调试的仪表、器具、开关应按有关规定试验,满足规范、设计或配电箱技术文件的要求。10•配电箱设有漏电保护器的,应在安装前或安装后,要做模拟动作,用漏电开关检测仪检测漏电开关动作电流值;通电后交验前应通过试验按钮或插座检验器检查动作可靠性及相序,并按鲁DQ-023表填好记录。6.3.23送电、试运行1.送电前的准备工作:(1)准备好经检测合格的验电器绝缘靴、绝缘手套、临时接地编织铜线、绝缘胶垫、粉沫灭火器等。彻...

1、当您付费下载文档后,您只拥有了使用权限,并不意味着购买了版权,文档只能用于自身使用,不得用于其他商业用途(如 [转卖]进行直接盈利或[编辑后售卖]进行间接盈利)。
2、本站所有内容均由合作方或网友上传,本站不对文档的完整性、权威性及其观点立场正确性做任何保证或承诺!文档内容仅供研究参考,付费前请自行鉴别。
3、如文档内容存在违规,或者侵犯商业秘密、侵犯著作权等,请点击“违规举报”。

碎片内容

动力照明配电箱安装工艺

确认删除?
VIP
微信客服
  • 扫码咨询
会员Q群
  • 会员专属群点击这里加入QQ群
客服邮箱
回到顶部