电脑桌面
添加小米粒文库到电脑桌面
安装后可以在桌面快捷访问

安全系统的集成项目的工作流程VIP免费

安全系统的集成项目的工作流程_第1页
1/14
安全系统的集成项目的工作流程_第2页
2/14
安全系统的集成项目的工作流程_第3页
3/14
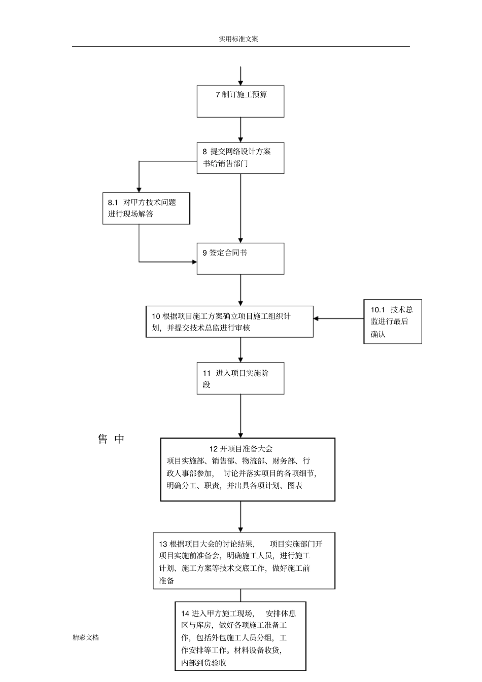
实用标准文案精彩文档安全集成项目——工作流程项目实施阶段工作流程:一、流程图售前是否1销售代表提出服务请求,填写服务请求表格2根据项目需求技术总监安排相应工程师响应服务请求,配合销售部门的设计或服务工作3是否需要对客户进行现场服务(现场勘察)3.1进行现场勘察,记录客户需求,填写调查报告3.2由销售方提供客户需求报告4汇总所有的项目数据,开会对项目情况进行讨论5进行网络解决方案的设计与制作6网络部对方案可行性进行,根据标书确认方案6.1技术总监进行最后确认实用标准文案精彩文档售中7制订施工预算8提交网络设计方案书给销售部门8.1对甲方技术问题进行现场解答9签定合同书10根据项目施工方案确立项目施工组织计划,并提交技术总监进行审核11进入项目实施阶段10.1技术总监进行最后确认12开项目准备大会项目实施部、销售部、物流部、财务部、行政人事部参加,讨论并落实项目的各项细节,明确分工、职责,并出具各项计划、图表13根据项目大会的讨论结果,项目实施部门开项目实施前准备会,明确施工人员,进行施工计划、施工方案等技术交底工作,做好施工前准备14进入甲方施工现场,安排休息区与库房,做好各项施工准备工作,包括外包施工人员分组,工作安排等工作。材料设备收货,内部到货验收实用标准文案精彩文档15开始进行项目的施工,根据分组情况,各分项目负责人监督施工,并将发现的问题及时上报项目经理16项目经理在工程施工过程中对各分段项目的各个环节进行抽查,及时发现问题并现场提供指导17各分段项目结束后分段项目负责人提供阶段工程竣工报告,项目经理安排进行下一阶段施工18全部综合布线项目完成后,各分段负责人提供安装文档,整理场地卫生,检查合格后土木施工人员与部分技术人员离场,网络测试开始,网络设备安装调试人员进场,开始网络设备的安装调试19网络测试:根据各种工程图纸进行测试,并向项目经理提供测试报告等文档20网络设备安装调试,填写设备安装报告,并提供技术文档项目经理抽查测试结果实用标准文案精彩文档售后21项目经理组织,个分项目负责人参加对整个项目进行内部总验收。并且制作甲方验收报告22提前一天通知甲方并且陪同甲方项目负责人对整个工程项目进行总验收,技术人员演示各项功能。验收完毕项目经理部分技术人员离场23项目交接技术人员向甲方技术负责人员进行项目交接,提交各种技术文档,并进行相应技术培训后离场项目实施流程完毕24建立客户服务档案25销售代表根据客户要求,提出客户服务申请26技术总监根据故障类型,指派相关技术人员受理服务实用标准文案精彩文档27技术工程师根据客户档案与故障现象与甲方进行联系28进行电话故障的分析与排除28.1排除28.2未排除填写客户服务报告,注明故障现象服务人员填写出差申请单,申请到场服务29销售代表,技术总监签字同意出差服务30服务工程师到达用户现场进行故障排除30.1排除30.2未排除向技术总监汇报现场情况,技术总监安排处理31问题排除后,请客户在服务报告单上签字确认,服务工程师回公司32到公司后服务人员找总监签字,确认服务完成33技术人员凭服务单报销出差的各项费用,将服务单归档,服务结束实用标准文案精彩文档二、工作流程说明1、根据销售部门提出的服务请求由销售代表填写服务请求表格,在服务请求表格中详细填写以下信息:用户详细信息、服务请求类型、服务内容、服务请求时间等等信息。2、网络技术的受理人员将销售或业务部门的服务申请单提交给部门主管,由部门技术主管结合当前的工作安排以及申请服务的技术类型,合理的安排相应的技术人员受理该项服务(设计服务)。3、根据销售部门对整个项目的了解情况,以及网络技术部门对方案设计数据的需求情况决定是否需要对用户进行上门调研。3.1需要项目上门调研。由网络技术部门主观指派响应的技术人员上门对客户的情况进行了解,填写项目调研、现场勘察的各种表格。3.2不需要项目上门调研。销售方已经充分了解了用户的需求,由销售方填写用户需求的表格。4、将项目调研的各种数据进行汇总整理,结合项目的需求开展项目讨论,成立项目小组,根据项目的类型指派相应技术人员进行方案的设计,相关销...

1、当您付费下载文档后,您只拥有了使用权限,并不意味着购买了版权,文档只能用于自身使用,不得用于其他商业用途(如 [转卖]进行直接盈利或[编辑后售卖]进行间接盈利)。
2、本站所有内容均由合作方或网友上传,本站不对文档的完整性、权威性及其观点立场正确性做任何保证或承诺!文档内容仅供研究参考,付费前请自行鉴别。
3、如文档内容存在违规,或者侵犯商业秘密、侵犯著作权等,请点击“违规举报”。

碎片内容

安全系统的集成项目的工作流程

文库当当响+ 关注
实名认证
内容提供者

该用户很懒,什么也没介绍

确认删除?
VIP
微信客服
  • 扫码咨询
会员Q群
  • 会员专属群点击这里加入QQ群
客服邮箱
回到顶部