电脑桌面
添加小米粒文库到电脑桌面
安装后可以在桌面快捷访问

合肥给排水及消防工程监理细则VIP专享VIP免费

合肥给排水及消防工程监理细则_第1页
1/21
合肥给排水及消防工程监理细则_第2页
2/21
合肥给排水及消防工程监理细则_第3页
3/21
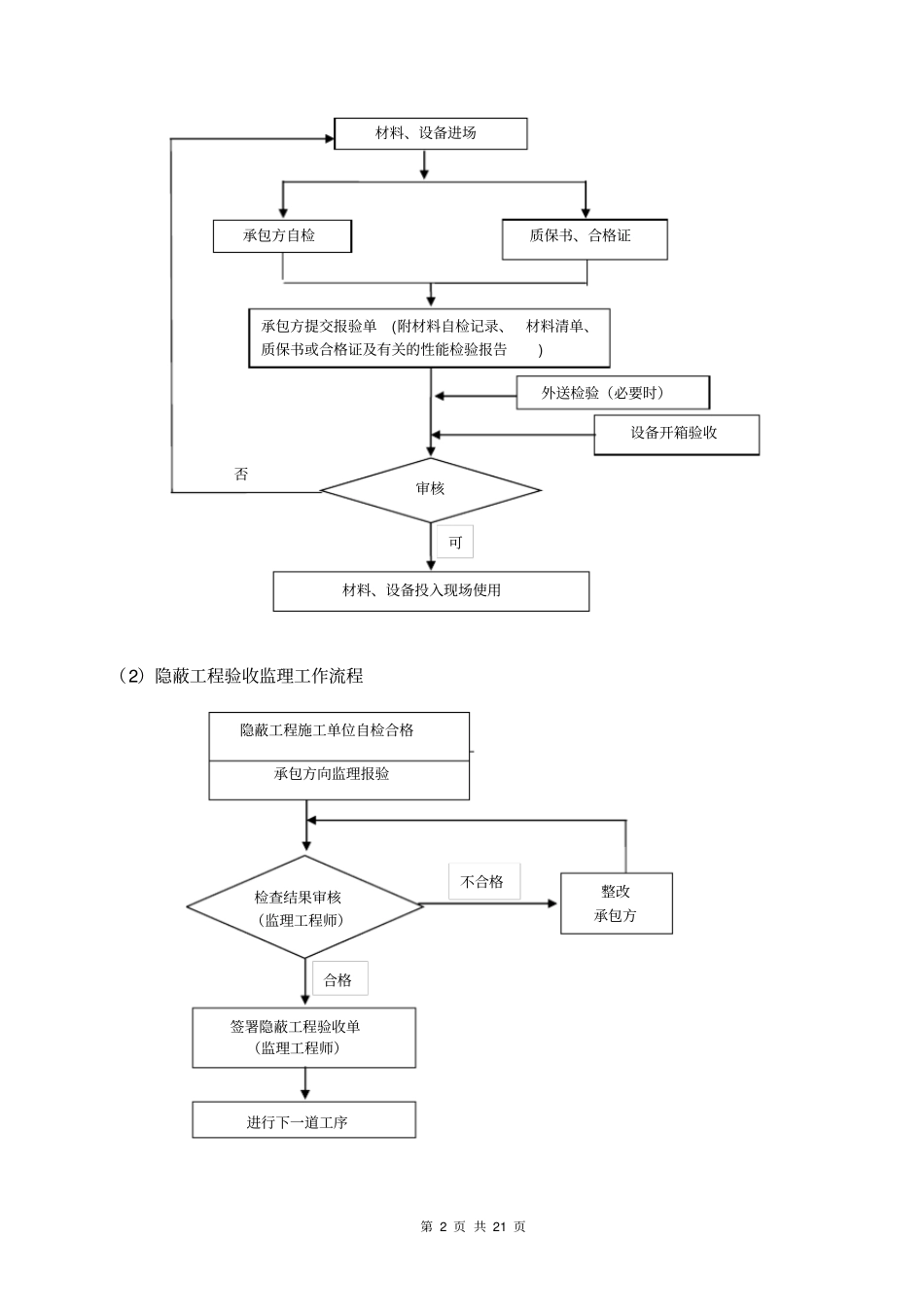
合 肥 市 轨 道 交 通 工 程1 号线滨湖车辆段与综合基地工程监理实施细则B13(给排水及消防工程)内容提要:工程概况监理依据监理工作流程监理控制要点监理控制目标值监理工作方法及措施安全、文明施工控制措施及监理控制要点项目监理机构(章) :专业监理工程师:总监理工程师:日期:第 1 页 共 21 页一、工程概况及适用范围合肥市轨道交通 1 号线二期工程滨湖车辆段与综合基地位于终点站徽州大道站后,规划西藏路与规划珠江路交口,总用地30.815 公顷。滨湖车辆基地功能定位为线网中的大架修基地,承担合肥市轨道交通1 号线、 5 号线、 5A、5B号线车辆的大架修任务,承担1号线配属车辆的定临修任务,承担本段配属车辆的停放、列检、月检、车辆清洗、清洁和消毒任务,负责车辆基地的一般行政、技术管理、材料供应和后勤管理等工作。场区内布置有生产区、生活区、其他辅助建筑设施以及厂区道路、绿化。工程包括房屋的土建工程、动力照明、通风空调、给排水及消防、室外管线、道路、挡墙工程和轨道工程等内容。其中场内房屋建筑共有17 个单体,即联合检修库、运用库、物资总库、综合维修中心、综合维修车间、工程车库、含油污水处理站、空压机站、特种车库、材料棚、混合变电所、信号楼、洗车库、内燃机车库、轮对受电弓动态检测站、易燃品库和门卫室。标段总建筑面积100553 平方米。给排水及消防的使用范围为材料棚、内燃机车库、门卫、工程汽车库、洗车库、、特种车库、空压机站、信号楼、混合变电所、物资总库、综合维修车库、易燃品库、含油污水处理站、联合检修库、运用库、综合维修中心、等16 个单体的给水、排水、消防及室外给排水。二、 监理依据1、本工程招标文件及所列的《技术要求》2、现有设计图纸3、本工程监理规划4、《建设工程监理规范》 (GB0319-2000) 5、《建筑工程施工质量验收统一标准》 (GB50300-2013)6、《砌体工程现场检测技术标准》 (GB/T50315-2011)7、《混凝土结构试验方法标准》 (GB/T50152-2012)8、《建筑给排水采暖工程施工质量验收规范》(GB50242-2002)9、《给水排水管道工程施工及验收规范》GB50268-2008 10、施工单位上报施工方案三、监理工作流程(1) 材料、设备进场检验工作流程第 2 页 共 21 页(2)隐蔽工程验收监理工作流程承包方提交报验单(附材料自检记录、材料清单、质保书或合格证及有关的性能检验报告) 外送检验(必要时)设备开箱验收审核否可材料、设...

1、当您付费下载文档后,您只拥有了使用权限,并不意味着购买了版权,文档只能用于自身使用,不得用于其他商业用途(如 [转卖]进行直接盈利或[编辑后售卖]进行间接盈利)。
2、本站所有内容均由合作方或网友上传,本站不对文档的完整性、权威性及其观点立场正确性做任何保证或承诺!文档内容仅供研究参考,付费前请自行鉴别。
3、如文档内容存在违规,或者侵犯商业秘密、侵犯著作权等,请点击“违规举报”。

碎片内容

合肥给排水及消防工程监理细则

确认删除?
VIP
微信客服
  • 扫码咨询
会员Q群
  • 会员专属群点击这里加入QQ群
客服邮箱
回到顶部