2012年山东省事业单位招录(公共基础知识)真题试卷精选(题后含答案及解析)题型有:1.单项选择题2.多项选择题9.材料作文题单项选择题1.银...
山东省事业单位招录公共基础知识(刑法)模拟试卷5(题后含答案及解析)题型有:1.单项选择题2.多项选择题3.判断题单项选择题1.某甲在一胡同...
第一篇马克思主义哲学第一章哲学和马克思主义哲学第一节哲学和哲学的基本问题一、什么是哲学所谓世界观,是指人们对整个世界的总体看法和根...
2017年湖北省选调生招录考试综合知识和行政职业能力测验真题(总分:100.00,做题时间:120分钟)一、综合知识第一部分综合知识(总题数:62,...
第1页共9页编号:时间:2021年x月x日书山有路勤为径,学海无涯苦作舟页码:第1页共9页2010年江苏省海门市招录紧缺专业党政人才简章江苏省海...
第1页共12页编号:时间:2021年x月x日书山有路勤为径,学海无涯苦作舟页码:第1页共12页鹤壁市公开选拔高层次专业人才公告经研究,决定面向...
第1页共7页编号:时间:2021年x月x日书山有路勤为径,学海无涯苦作舟页码:第1页共7页重庆市公开招录事业单位工作人员《综合基础知识》模拟...
第1页共4页【仅供参考】医院见习生招录年度工作计划部门:_________姓名:_____________年___月___日(此文内容仅供参考,可自行修改)医院...
第1页共30页编号:时间:2021年x月x日书山有路勤为径,学海无涯苦作舟页码:第1页共30页重庆市事业单位招录工作人员考试《综合基础知识》复...
第1页共107页编号:时间:2021年x月x日书山有路勤为径,学海无涯苦作舟页码:第1页共107页湖北省法院系统2010年度招录公务员通过司法考试拟...
第1页共9页编号:时间:2021年x月x日书山有路勤为径,学海无涯苦作舟页码:第1页共9页招录人民警察(司法助理员)学员考试大纲2009年政法干...
第1页共33页编号:时间:2021年x月x日书山有路勤为径,学海无涯苦作舟页码:第1页共33页江苏省新沂市2010年公开招录党政管理人才简章为实施...
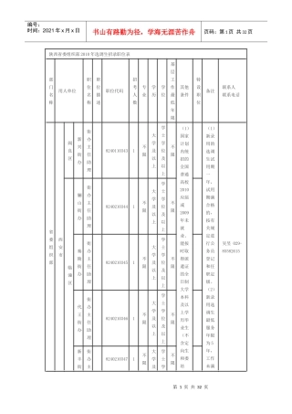
第1页共32页编号:时间:2021年x月x日书山有路勤为径,学海无涯苦作舟页码:第1页共32页陕西省委组织部2010年选调生招录职位表部门名称用人...
第1页共44页编号:时间:2021年x月x日书山有路勤为径,学海无涯苦作舟页码:第1页共44页附件2012年河北省为基层政法机关招录培养干警计划和...
江苏省人事厅江苏省公安厅关于印发《江苏省公安机关2008年招考录用人民警察简章》的通知苏人通〔2007〕338号各市人事局、公安局:现将《江...
2010年江苏省海门市招录紧缺专业党政人才简章江苏省海门市位于沿江和沿海两大开放带的交汇点上,靠江靠海靠上海,被誉为“金三角上小浦东”...
第1页共9页编号:时间:2021年x月x日书山有路勤为径,学海无涯苦作舟页码:第1页共9页重庆布检察机关公开招录工作人员考试行政职业能力测验...
第1页共8页编号:时间:2021年x月x日书山有路勤为径,学海无涯苦作舟页码:第1页共8页007年重庆市公开招录法院、检察院系统工作人员考试法...
第1页共44页编号:时间:2021年x月x日书山有路勤为径,学海无涯苦作舟页码:第1页共44页附件2012年河北省为基层政法机关招录培养干警计划和...
第1页共4页【仅供参考】全国招录机关2024年妇联工作计划部门:_________姓名:_____________年___月___日(此文内容仅供参考,可自行修改)...

