市政工程监理资料整理归档作业指导书(初稿)*******有限责任公司前言根据《建设工程文件归档整理规范》(GB/T50328-2001)规定,对于工程...
【课题】原始凭证的审核;原始凭证的整理和归档【教材版本】林云刚,朱建君.中等职业教育国家规划教材配套教学用书——出纳会计实务.北京:...
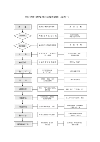
建设工程监理文件档案资料概述前言工程监理档案是在工程建设监理活动中直接形成的,是具有归档保存价值的文字、图表、声像等各种形式的历史...
第1页共12页编号:时间:2021年x月x日书山有路勤为径,学海无涯苦作舟页码:第1页共12页园林绿化工程竣工资料归档目录工程名称:共页第页序...
一、资料内容一、招投标资料第一条归档的招投标文件资料,其内容必须准确、齐全完整、真实反映招标投标活动的过程。第二条招标投标档案应当...
第1页共11页编号:时间:2021年x月x日书山有路勤为径,学海无涯苦作舟页码:第1页共11页园林绿化工程竣工资料归档目录工程名称:共页第页序...
第1页共50页编号:时间:2021年x月x日书山有路勤为径,学海无涯苦作舟页码:第1页共50页江苏省建设工程设计施工图审核中心许秀芳刘正义毛福...
淮安市住房和城乡建设局文件淮建办〔2009〕133号————————————————————关于印发《淮安市建设工程声像档案资料归档暂行...
2024年文件材料归档工作计划与2024年文体局下半年工作计划范文汇编2024年文件材料归档工作计划一、活动时间XX年4月1日至XX年4月30日。二、...
第1页共3页【仅供参考】2024年文件材料归档工作计划部门:_________姓名:_____________年___月___日(此文内容仅供参考,可自行修改)2024...
宁夏水洞沟电厂一期2×660MW机组工程基建档案归档制度1、目的为做好水洞沟电厂一期2×660MW机组工程基建档案管理工作,统一工程文件归档与...
宁夏水洞沟电厂一期2×660MW机组工程基建档案归档制度1、目的为做好水洞沟电厂一期2×660MW机组工程基建档案管理工作,统一工程文件归档与...
淮安市住房和城乡建设局文件淮建办〔2009〕133号————————————————————关于印发《淮安市建设工程声像档案资料归档暂行...
第1页共15页编号:时间:2021年x月x日书山有路勤为径,学海无涯苦作舟页码:第1页共15页西山区电子公文归档与管理规范(征求意见稿)1、范...
民营企业档案管理指南《民营企业档案管理指南》之一:前言为方便我市民营企业开展档案工作,提高档案管理水平,依照国家和省的有关规定,总结...
第1页共3页编号:时间:2021年x月x日书山有路勤为径,学海无涯苦作舟页码:第1页共3页酒店各部门归档材料一览表部门资料名称保管时限备注客...
第1页共11页编号:时间:2021年x月x日书山有路勤为径,学海无涯苦作舟页码:第1页共11页项目施工安全管理资料及归档要求安全生产管理就是针...
第1页共8页编号:时间:2021年x月x日书山有路勤为径,学海无涯苦作舟页码:第1页共8页附件一输电线路工程归档范围及责任单位分类号类目名称...
会计档案的整理与归档方法一、会计档案含义料归档范围会计档案是机关、团体、企业事业单位在经济管理和会计核算一系列活动中产生、经过整理...
会计档案的整理与归档方法一、会计档案含义料归档范围会计档案是机关、团体、企业事业单位在经济管理和会计核算一系列活动中产生、经过整理...

