LoktraceFroMLokring:tHeLeakDetectionSYSteM.reLiabLeanDcLiMate-neutraL.MeetSaLLreQuireMentS!ThesystemcanbefilledwiththeLOKTRACEgasf...
设计人:彭生QQ:22761332421/9DMX512写码器使用说明书V1.01、按键功能图解确认键UP键DOWN键数字键2数字键3数字键5数字键6数字键8数字键9开...
PoR强BLEDEsfGN便携设计手持设备操作系统的选择OncSjzeDoesn’tFitAllinHandheld0Ss■AnItaS.Becher单凭os(操作系统)能在占朋空间小、功耗...
手持设备菜单设计手持设备菜单设计Simangel2010.10目录Simangel2010.10传统桌面软件的菜单传统桌面软件的菜单菜单在各手持设备平台上的应用...
1学年论文(课程论文、课程设计)题目:手持式条形码扫描仪作者:张静所在学院:机械工程学院专业年级:设计09-1班指导教师:许燕职称:副...
Fangscoo-alarm1GSM/GPRS/GPS定位追踪器定位追踪器定位追踪器定位追踪器使用手册使用手册使用手册使用手册序言序言序言序言.非常感谢您购买...
DT-9880尘埃粒子计数器(目前有DT-9880跟DT-9881属同一系列,DT-9881功能多要比9880贵)【产品结构】【产品描述】1·PM2.5颗粒物检测2·空气...
JHJDS2022A\JHJDS2012AJHJDS2022A\JHJDS2012AJHJDS2022A\JHJDS2012AJHJDS2022A\JHJDS2012A系列手持数字存储示波器简介系列手持数字存储示波...
一、手持无线话筒1、品牌:铁三角型号(版本号):ATW-2000b无线会议系列基本描述:铁三角无线话筒2000系列是铁三角公司专为会议室、包房等...
Cond3210中文操作说明书WTW中国代表处1手持电导率测试仪Cond3210中文说明书Cond3210中文操作说明书WTW中国代表处2目录1概述..................
TR210手持式粗糙度仪使用说明书北京时代山峰科技有限公司TEL:010-82951585010-82946733FAX:010-82915752010-588592301.概述..................
目录快速入门.........................................................................................................................
手持抄表器说明书编制:审核:批准:沈阳太宇机电设备有限公司二零零九年七月二十五日一.开始使用手持抄表器沈阳太宇机电设备有限公司手持抄...
欧卡科技提供www.ouka17.com纽康LRM1500单筒手持式激光测距仪操作说明书欧卡科技提供www.ouka17.com实际操作之前请先阅读如下内容:您所购...
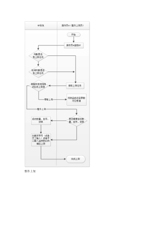
整件上架零散上架补货下架补货上架盘点外复核整件下架零散下架
手持式X射线荧光光谱仪--用于现场金属材料的快速准确分析SPECTROxSORT手持式X射线荧光光谱仪--用于现场金属材料的快速准确分析PDA(掌上电...
如何握住相机?很多朋友都不屑一顾的回答:“握住相机是一件很简单的事情,连个三岁的小孩都能拿好相机”,但是事实真的是这样吗?即使你能...
气动手持式钻机一、便携式ZQS-50/1.6气动手持式钻机ZQS-50/1.6气动手持式钻机为便携式,它具有安全防爆、转矩大、转速高、质量好、体积小、...
JIANGSUUNIVERSITY本科毕业论文手持式压力检测仪器设计Hand-heldpressuretestequipmentdesign学院名称:电气信息工程学院专业班级:电气070...
1JCF-100型手持式粉尘检测仪说明书青岛聚创环保设备有限公司2欢迎您使用空气净化检测仪,我们非常高兴您选择了本产品,我们将为您提供最真...

