电脑桌面
添加小米粒文库到电脑桌面
安装后可以在桌面快捷访问

工程部工作流程图VIP免费

工程部工作流程图_第1页
1/17
工程部工作流程图_第2页
2/17
工程部工作流程图_第3页
3/17
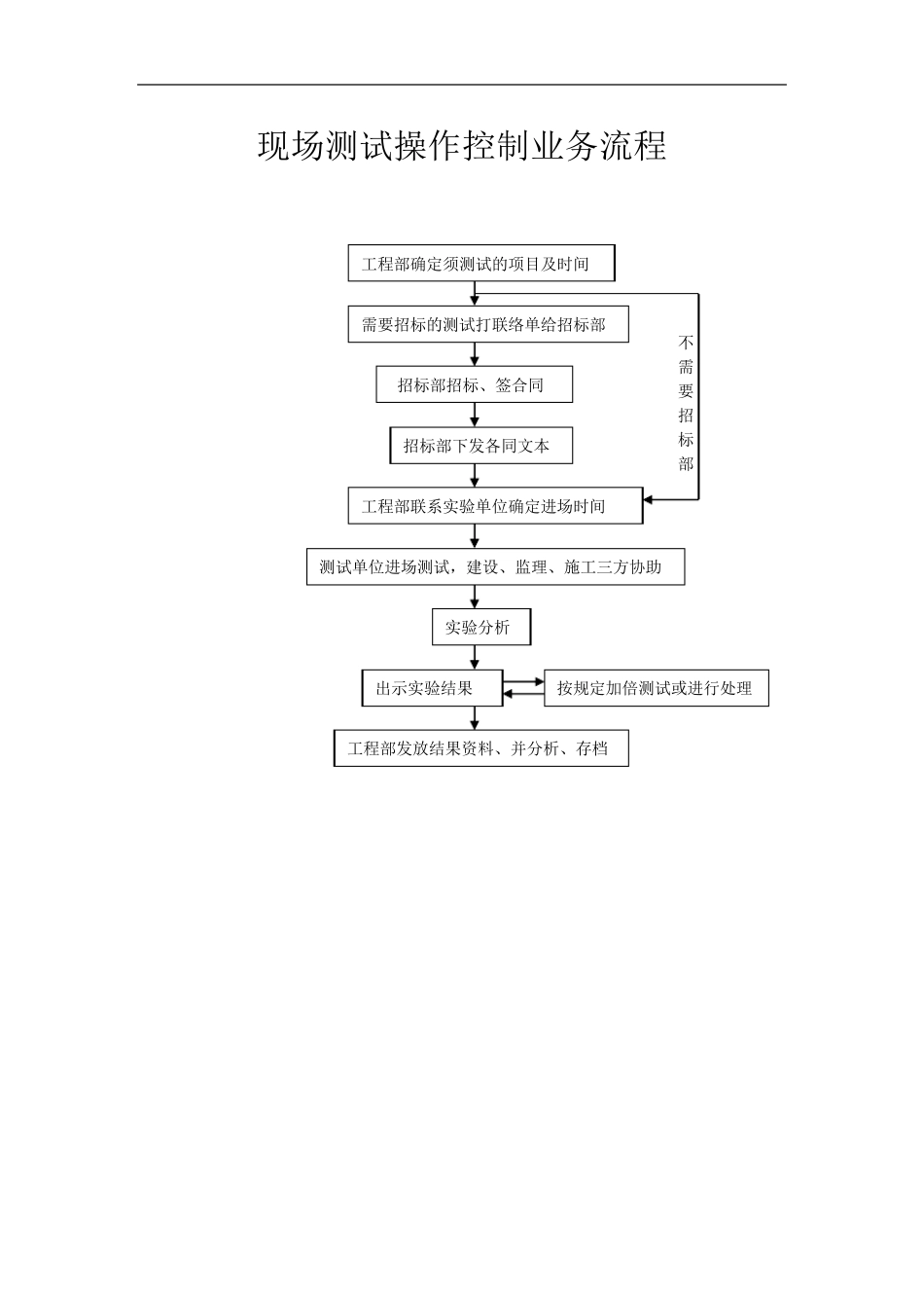
工程部工作流程图 工程部工作业务流程 工程测绘工作业务流程 行政、计划部门下达测绘计划并下发相关土地资料 工程部签发招标联络单给招标招标部招标并订立合同 工程部协调技术部于现场对测绘单位现场技术交底 测绘单位现场测量,工程部督促并协调相关单位协助完成 出具测绘报告并按相关规定制服相关费用 下发测量资料 工程开工前准备工作业务流程 不 符 合 符合要求 接到项目开发、施工计划书 到技术部申领相关技术资料 依据公司的整体投资、开发方案编写现场准备工作施工方案 施工方案工程部内各专业审核,工程部经理签上报施工方案给技术部、行政事务部、投资管理部 四方会议审核、签发 工程部签署各施工项目的招标联络单 行政事务部需办理的各项手续联络单 招标部招标并签定合同 下发合同 下发办理文件 手续办理 工程部督促施工单位按规定施工 交付使用 项目总承包单位进场、施工 验 收 现场测试操作控制业务流程 不 需 要 招 标 部 工程部确定须测试的项目及时间 需要招标的测试打联络单给招标部 招标部招标、签合同 招标部下发各同文本 工程部联系实验单位确定进场时间 测试单位进场测试,建设、监理、施工三方协助 实验分析 出示实验结果 工程部发放结果资料、并分析、存档 按规定加倍测试或进行处理 现场子分部分项工程验收控制业务流程 无 质 量 问 题 施工单位提交验收申请 监理单位专业监理员审核资料并对现场进行初验(过程控制) 监理单位总监代表确定验收时间并告知建设单位专业管理员 监理单位总监代表组织现场验收,建设单位代表参加 汇总现场验收存在的质量问题 监理单位下发质量整改通知单 施工单位整改完成后重新报验 进入 下 道 工序 施签署合格评价 现场主要分部子分部工程验收操作控制业务流程 合格 施工单位自评合格后提交验收申请 监理单位专业监理员审核施工技术资料并对现场进行初验 监理单位总监(或总监代表)复审资料及现场实体质量合格后告知建设单建设单位专业管理员审核资料合格后,计划安排验收时间并通知各相关单位 确定各相关单位参加验收人员名单 汇总现场存在的质量问题 施工单位整改完成后重新报验 监理单位下发整改通知按程序组织复验 签署合格验收意见 进入下道工序 工程部组织现场实体验收 无质量问题 有外部单位参加的主要分部、子分部工程验收操作控制业务流程 有不符合项 无 不 符 合 项 不 符 合 不 符 ...

1、当您付费下载文档后,您只拥有了使用权限,并不意味着购买了版权,文档只能用于自身使用,不得用于其他商业用途(如 [转卖]进行直接盈利或[编辑后售卖]进行间接盈利)。
2、本站所有内容均由合作方或网友上传,本站不对文档的完整性、权威性及其观点立场正确性做任何保证或承诺!文档内容仅供研究参考,付费前请自行鉴别。
3、如文档内容存在违规,或者侵犯商业秘密、侵犯著作权等,请点击“违规举报”。

碎片内容

工程部工作流程图

您可能关注的文档

确认删除?
VIP
微信客服
  • 扫码咨询
会员Q群
  • 会员专属群点击这里加入QQ群
客服邮箱
回到顶部