电脑桌面
添加小米粒文库到电脑桌面
安装后可以在桌面快捷访问

6项目部安全生产保障体系VIP免费

6项目部安全生产保障体系_第1页
1/4
6项目部安全生产保障体系_第2页
2/4
6项目部安全生产保障体系_第3页
3/4
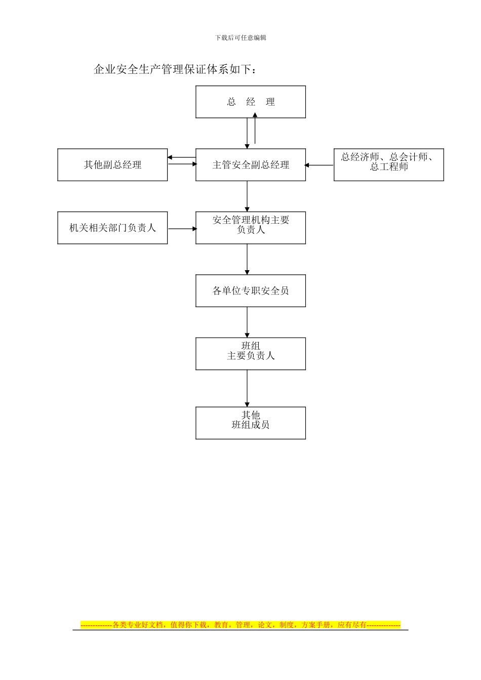
下载后可任意编辑水岸柳苑住宅小区 26#、27#楼项目部组织机构图安 全 保 证 体 系-------------各类专业好文档,值得你下载,教育,管理,论文,制度,方案手册,应有尽有--------------公司安全生产领导小组公司领导项目经理安 全 组安全设施检查规章制度执行工 长 机 械 员 材 料 员工会主席文明施工检查落实劳动力保护机械设备检查维修保养劳保用品供应及质量检查质质安部门技技术部门租租赁部门材材料部门工工会公司各职能部门安全设施检查规章制度执行项目组织作业管理下载后可任意编辑企业安全生产管理保证体系如下:个人工作业务总结本人于 2024 年 7 月进入新疆中正鑫磊地矿技术服务有限公司(前身为“西安中正矿业信息咨询有限公司”),主要从事测量技术工作,至今已有三年。在这宝贵的三年时间里,我边工作、边学习测绘相专业书籍,遇到不懂得问题积极的请教工程师们,在他们耐心的教授和指导下,我的专业知识水平得到了很到的提高,并在实地测量工作中加以运用、总结,不断的提高自己的专业技术水平。同时积极的参加技术培训学习,加速自身知识的不断更新和自身素养的提高。努力使自己成为一名合格的测绘技术人员。在这三年中,在公司各领导及同事的帮助带领下,根据岗位职责要求和行为法律规范,努力做好本职工作,仔细完成了领导所交给的各项工作,在思想觉悟及工作能力方面有了很大的提高。 在思想上积极向上,能够仔细贯彻党的基本方针政策,积极学习政治理论,坚持四项基本原则,遵纪守法,爱岗敬业,具有强烈的责任感和事业心。积极主动学习专业知识,工作态度端正,仔细负责,具有良好的思想政治素养、思想品质和职业道德。 在工作态度方面,勤奋敬业,热爱本职工作,能够正确仔细的对待每一项工作,能够主动寻找自己的不足并及时学习补充,始终保持严谨仔细的工作态度和一丝不苟的工作作风。 在公司领导的关怀以及同事们的支持和帮助下,我迅速的完成了职业角色的转变。-------------各类专业好文档,值得你下载,教育,管理,论文,制度,方案手册,应有尽有--------------总 经 理各单位专职安全员安全管理机构主要负责人总经济师、总会计师、总工程师其他副总经理主管安全副总经理班组主要负责人机关相关部门负责人其他班组成员下载后可任意编辑一、回顾这四年来的职业生涯,我主要做了以下工作:1、参加了新疆库车县新疆库车县胡同布拉克石灰岩矿的野外测绘和放线工作、点之记的编写工作、1:2000 ...

1、当您付费下载文档后,您只拥有了使用权限,并不意味着购买了版权,文档只能用于自身使用,不得用于其他商业用途(如 [转卖]进行直接盈利或[编辑后售卖]进行间接盈利)。
2、本站所有内容均由合作方或网友上传,本站不对文档的完整性、权威性及其观点立场正确性做任何保证或承诺!文档内容仅供研究参考,付费前请自行鉴别。
3、如文档内容存在违规,或者侵犯商业秘密、侵犯著作权等,请点击“违规举报”。

碎片内容

6项目部安全生产保障体系

您可能关注的文档

确认删除?
VIP
微信客服
  • 扫码咨询
会员Q群
  • 会员专属群点击这里加入QQ群
客服邮箱
回到顶部