电脑桌面
添加小米粒文库到电脑桌面
安装后可以在桌面快捷访问

路基检测标准VIP免费

路基检测标准_第1页
1/15
路基检测标准_第2页
2/15
路基检测标准_第3页
3/15
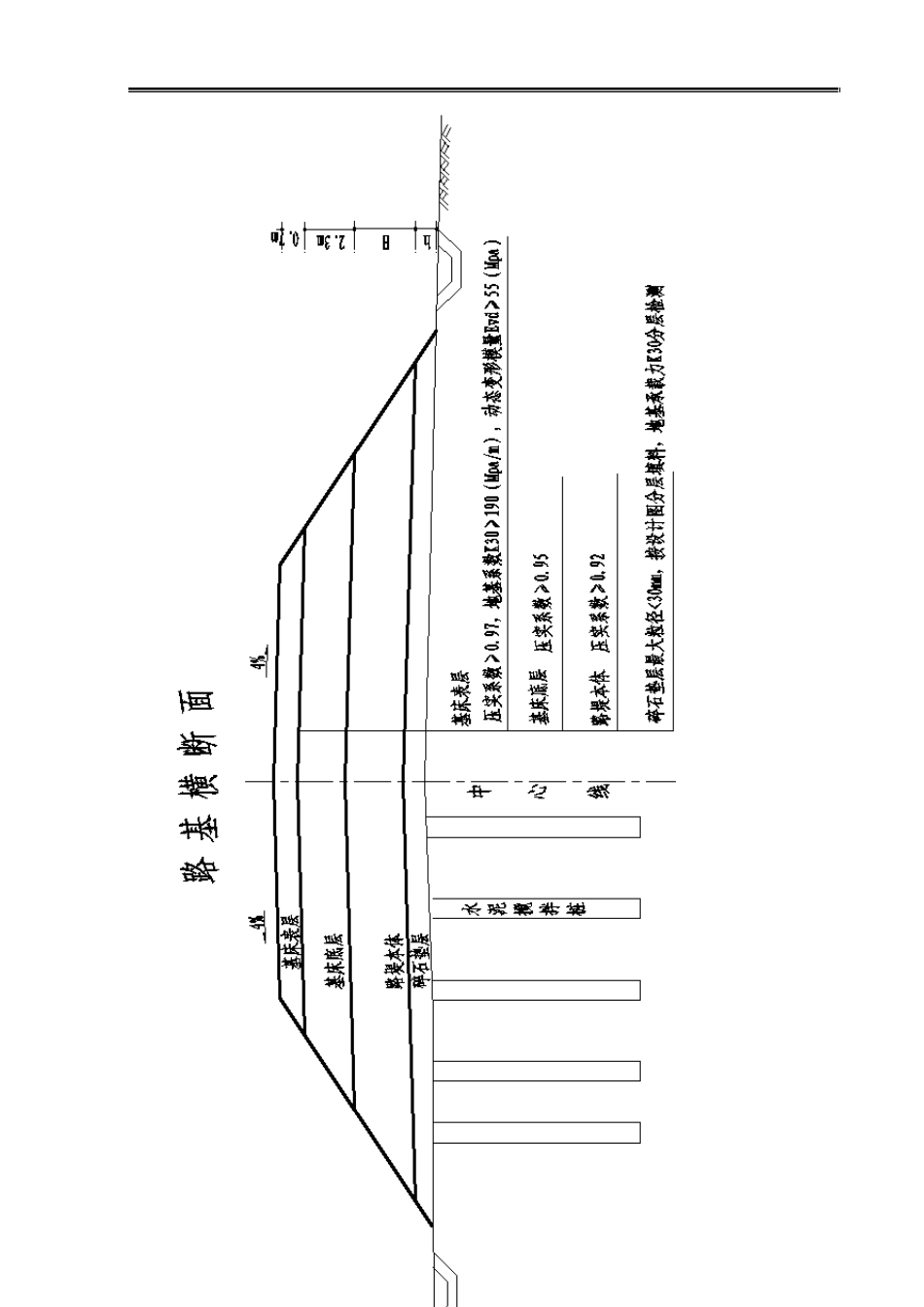
0 渝万铁路监理2标项目部中心试验室 路 基 检 测 细 则 主编人:王吉仓 批准人:方丽红 铁科院(北京)工程咨询有限公司 1 2 依据《高速铁路路基工程施工质量验收标准》TB10751-2010 项目 序号 分项 施工方法检测部位 试验检测项目(方法) 检测频次 施工单位试验室 监理单位试验室 频次代 表数量 平行试 验频率( %) 见证试 验频率( %) 地 基 处 理 一 1 原地面 处理 / 静力触探 每 100m 检验2 点 / 100 二 1 换填 换填粗砂、碎石(填料质量) 砂含泥量、筛分 每 3000m3 为一批 取 1 组 / 20 碎石含泥量、粒径 2 换普通土和物理改良土换填 (填料质量) 细粒土击实、液塑限 每 5000m3 为一批 取 1 组 50000m3 1 次 / 粗粒土、碎石土 颗粒级配、颗粒密度 每 10000m3为一批 取 1 组 3 换填化学改良土 (填料质量) 细粒土击实、液塑限 每 5000m3 为一批 取 1 组 50000m3 一次 / 粗粒土、碎石土 颗粒级配、颗粒密度 每 10000m3为一批 取 1 组 外掺料种类及技术条件 200t 为一批取1 组,5个不同部位等量取样不少于12kg / 100 4 换填中砂或碎石 (压实质量) 干密度和相对密度 每 100m 检验验3 点 1 个点 / 5 基床以下路基换填普通填料及物理改良土(压实质量) 改良细粒土 (地基K30 、压实系数K) 纵向100m 每压实层抽样检测压实系数K 或孔隙率n 6 点、每填高90cm 检测K30 4 点 10 K30 100 砂类土及细砾土 (地基K30、孔隙率n) 碎石类及粗砾土 (地基K30、孔隙率n) 6 基床以下路基换填化学改良土 (压实质量) 压实质量;改良细粒土 (地基K30 、压实系数K) 纵向100m 每压实层抽样检测压实系数K 或孔隙率n 6 点、每填高90cm 检测K30 4 点 10 K30 100 压实质量;砂类土及细砾土(地基K30、孔隙率n) 压实质量;碎石类及粗砾土(地基K30、孔隙率n) 无侧限抗压强度 每压实层 抽样检验3 处 10 10 7 基床底层换填 (压实质量) 普通土和物理改良土 ( K/n、 K30、 Ev d) 纵向100m 每压实层抽样检测压实系数K 或孔隙率n 6 点、每填高90cm 检测动态变形模量 Ev d、 K30 各 4 点 10 10 化学改良土压实质量 ( K/n、 K30、 Ev d) 化学改良土 无侧限抗压强度 每压实层 抽样检验3 处 10 10 路堑基床底层为软质岩、强风化的硬质岩及土层 静力触探 全部检验 / 100 项...

1、当您付费下载文档后,您只拥有了使用权限,并不意味着购买了版权,文档只能用于自身使用,不得用于其他商业用途(如 [转卖]进行直接盈利或[编辑后售卖]进行间接盈利)。
2、本站所有内容均由合作方或网友上传,本站不对文档的完整性、权威性及其观点立场正确性做任何保证或承诺!文档内容仅供研究参考,付费前请自行鉴别。
3、如文档内容存在违规,或者侵犯商业秘密、侵犯著作权等,请点击“违规举报”。

碎片内容

路基检测标准

确认删除?
VIP
微信客服
  • 扫码咨询
会员Q群
  • 会员专属群点击这里加入QQ群
客服邮箱
回到顶部