电脑桌面
添加小米粒文库到电脑桌面
安装后可以在桌面快捷访问

运维系统及中心机房应急预案VIP免费

运维系统及中心机房应急预案_第1页
1/13
运维系统及中心机房应急预案_第2页
2/13
运维系统及中心机房应急预案_第3页
3/13
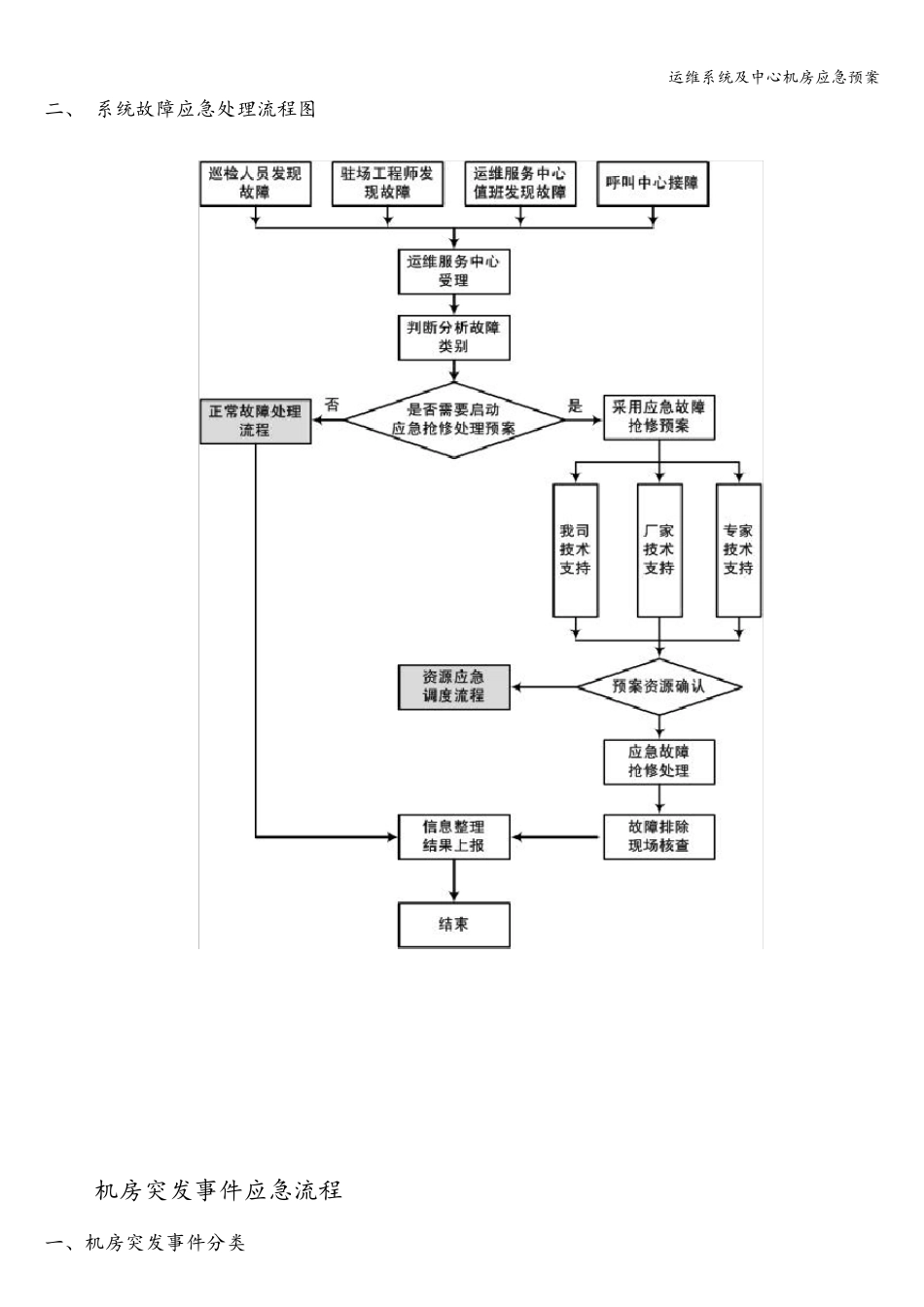
运维系统及中心机房应急预案 运维小组应急预案 随着网络信息化建设的不断深入,加强机房各类设备、系统以及信息与网络安全等方面应对突发事件的处理能力将是我们目前面临的一项重要任务.为确保系统及机房安全与稳定,以保证正常运行为宗旨,按照“预防为主,积极处置"的原则,本着建立一个有效处置突发事件,建立统一指挥、职责明确运转有序、反应迅速处置有力的机房安全体系的目标,将正在发生或已发生事故的损害程度减轻到最低,确保员工安全,特制定本应急处置预案。 本预案共分为应用系统故障应急流程和机房突发事件应急流程 系统故障应急流程 一、系统故障应急流程说明 1、故障发生 系统运维服务小组可从以下途径得知故障的发生: 1。1、运维服务中心通过网管告警发现故障 1。2、维护站点通过维护巡检发现故障 1。3、用户发现故障,报给呼叫中心 1。4、驻场工程师发现故障 2、报障受理 监控系统运维服务小组得知系统故障发生后 ,立即 响 应,并 向 报障人 或单 位 详 细 了 解 系统故障情 况 。 3、信息研 判 运维服务小组根 据 了 解 到的系统故障情 况 进 行分析 判 断,以确定采 用一般 故障处理流程还是立即 启 动 系统突发故障应急处理预案. 4、预案启 动 运维系统及中心机房应急预案 如需启动应急预案,则立刻通知系统突发故障应急领导小组,由领导小组启动应急预案,对系统突发故障应急事件进行全面管控处理. 5、资源确认 系统突发故障应急预案启动后,首先是根据现场突发故障实际状况、紧急程度、技术难度、备品备件等情况对相关资源(主要是参与人员)依据经验进行调度和确认,主要有以下资源: 我公司技术支持人员; 相关厂家技术支持人员; 我公司聘请的技术专家 6、预案执行 按照既定的预案进行突发故障抢修,如遇到问题及时向系统突发故障应急领导小组汇报。 7、预案终止 预案的终止时间由故障现场技术人员根据现场的实际进展情况,在与用户单位有关部门协调后报系统突发故障应急领导小组决定。 8、结果上报 预案中止后,相关预案参与人员将整个事件过程中的经验和教训,修改、完善事件应急预案.然后集中上报至系统突发故障应急领导小组。 运维系统及中心机房应急预案 二、 系统故障应急处理流程图 机房突发事件应急流程 一、机房突发事件分类 运维系统及中心机房应急预案 1、自然灾害:指地震、火灾等因自然因素引起的网络与信息系统的损坏. 2、事故灾难:指电力中...

1、当您付费下载文档后,您只拥有了使用权限,并不意味着购买了版权,文档只能用于自身使用,不得用于其他商业用途(如 [转卖]进行直接盈利或[编辑后售卖]进行间接盈利)。
2、本站所有内容均由合作方或网友上传,本站不对文档的完整性、权威性及其观点立场正确性做任何保证或承诺!文档内容仅供研究参考,付费前请自行鉴别。
3、如文档内容存在违规,或者侵犯商业秘密、侵犯著作权等,请点击“违规举报”。

碎片内容

运维系统及中心机房应急预案

您可能关注的文档

确认删除?
VIP
微信客服
  • 扫码咨询
会员Q群
  • 会员专属群点击这里加入QQ群
客服邮箱
回到顶部