电脑桌面
添加小米粒文库到电脑桌面
安装后可以在桌面快捷访问

某集团氧气站工程施工组织设计VIP免费

某集团氧气站工程施工组织设计_第1页
1/34
某集团氧气站工程施工组织设计_第2页
2/34
某集团氧气站工程施工组织设计_第3页
3/34
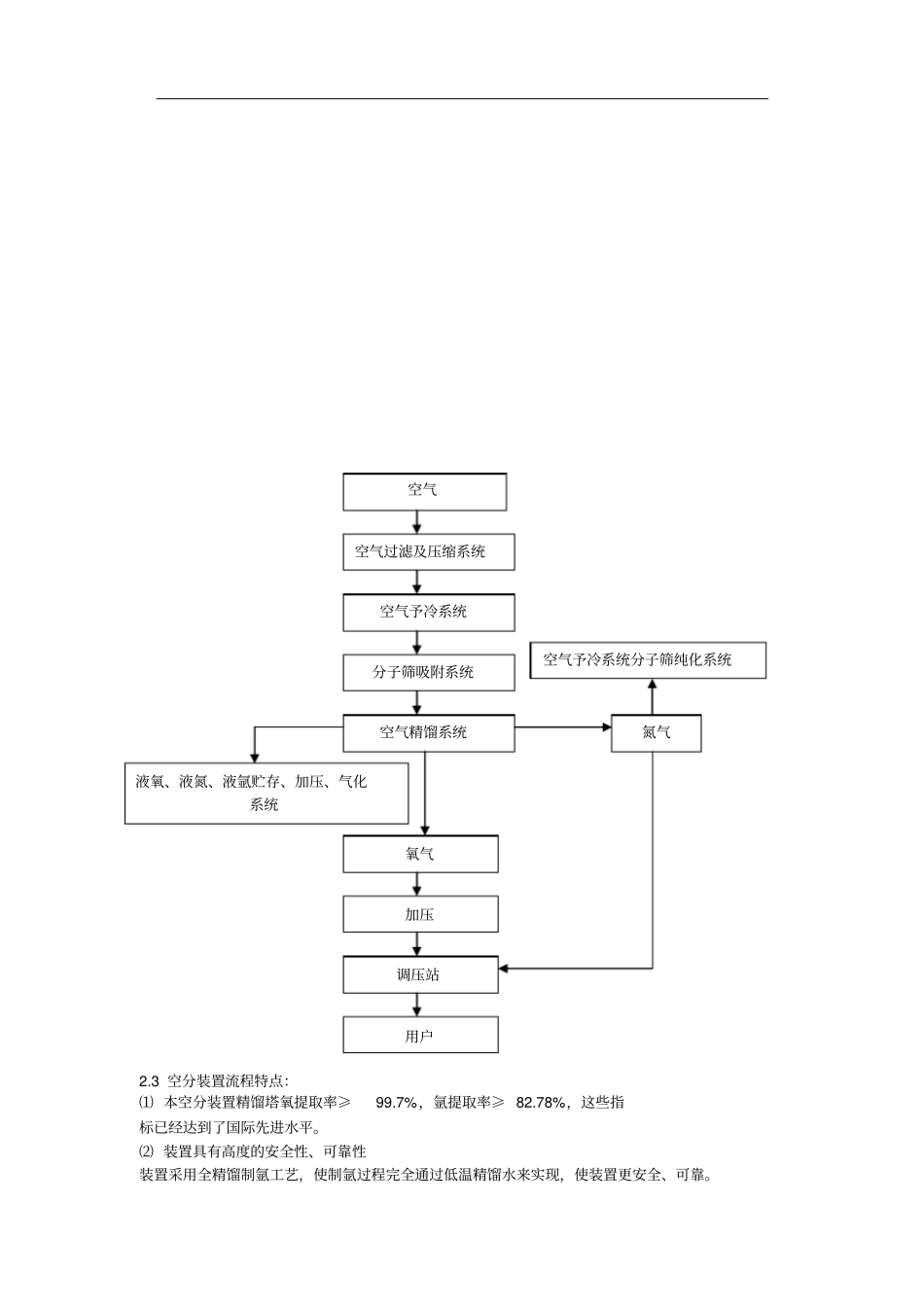
目录第一章工程概况 . .......................................................... 2第一章工艺流程及特点. .................................................... 2第一章施工准备 . .......................................................... 4第一章施工进度计划 . ...................................................... 8第一章机械设备管道安装. .................................................. 8第一章电气安装与调试. ................................................... 13第一章仪表安装及调试. ................................................... 22第一章自动化系统( DCS)调试 . ............................................ 23第一章工程质量保证体系及措施. ........................................... 25第一章安全保证体系及措施. ............................................... 27第一章文明施工管理措施. ................................................. 29第一章工程概况** 集团10000Nm3/h 氧气站工程是根据** 集团的发展计划,主要与高炉和新建炼钢设备配套。氧气站位于** 集团工业一区西北角,设备为** 制氧机厂制造,空压机为进口设备。本项目新建一座压缩机间,布置空压、氧压、氮压三大机组,并相应配备其供配电、仪控及给排水设施等, 主体空分设备采用国产外压缩流程的第六代分馏塔设备,主要包括空气预冷系统、 分子筛纯化系统、增压膨胀机系统、分馏塔系统、液化系统以及与之配套的仪电控系统等设施。空分设备的主要特点是:10000 Nm3/h 制氧机采用常温分子筛净化空气,增压透平膨胀机制冷;采用规整填料技术及全精馏制氩的外压缩流程。第一章工艺流程及特点2.1 工艺流程本装置采用常温分子净化空气,增压透平膨胀机制冷;采用规整填料技术及全精馏制氩的外压缩流程。原料空气在过滤器中除去了灰尘和机械杂质后,进入空气压缩机压缩至0.62MPa,然后进入空气冷却塔进行预冷。空气冷却塔的给水分为两段,冷却塔的下段使用经水处理冷却过的循环水,而冷却塔的上段则使用经水冷却塔冷却后的低温水。空气冷却塔顶部设置旋风分离器及丝网除雾器,防止水分带出并除去空气中的机械水滴。出空气冷却塔的空气进入交替使用的分子筛吸附器。在那里原料空气中的水分、CO2、C2H2 等被分子筛吸附。 净化后的空气分三股:一小部分被抽出作为仪表空气;一股空气...

1、当您付费下载文档后,您只拥有了使用权限,并不意味着购买了版权,文档只能用于自身使用,不得用于其他商业用途(如 [转卖]进行直接盈利或[编辑后售卖]进行间接盈利)。
2、本站所有内容均由合作方或网友上传,本站不对文档的完整性、权威性及其观点立场正确性做任何保证或承诺!文档内容仅供研究参考,付费前请自行鉴别。
3、如文档内容存在违规,或者侵犯商业秘密、侵犯著作权等,请点击“违规举报”。

碎片内容

某集团氧气站工程施工组织设计

爱的疯狂+ 关注
实名认证
内容提供者

该用户很懒,什么也没介绍

确认删除?
VIP
微信客服
  • 扫码咨询
会员Q群
  • 会员专属群点击这里加入QQ群
客服邮箱
回到顶部