电脑桌面
添加小米粒文库到电脑桌面
安装后可以在桌面快捷访问

关键施工技术工艺和重点难点的解决方案VIP免费

关键施工技术工艺和重点难点的解决方案_第1页
1/9
关键施工技术工艺和重点难点的解决方案_第2页
2/9
关键施工技术工艺和重点难点的解决方案_第3页
3/9
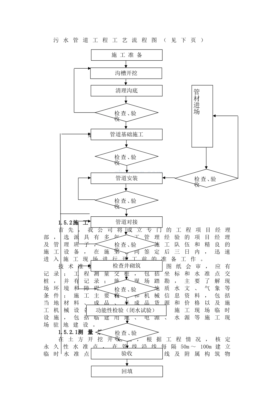
关键施工技术工艺和重点难点的解决方案1.1编制说明本施工组织设计是根据本次招标过程中招标单位发给的本工程设计图、招标文件,按国家颁布的现行施工及验收规范、施工规程和有关工艺标准进行编制的。如能中标,我公司将按中标通知书指定的时间和地点与建设单位协商,签订本工程施工承包合同,做好人员、材料和施工机械的组织、进场等施工准备工作,按时开工。在此基础上,开工前我公司将根据会审后的施工图、建设单位、监理单位对本投标方案提出的修改意见等,对本工程的施工组织设计做进一步的完善细化,编制详尽的分项工程施工方案和组织措施,确保本工程施工的顺利进行。施工过程中,如有变更,我公司项目部将针对变更情况,根据实际情况重新修改相应的施工方案,并报建设单位和监理单位,取得认同后方予以实施。1.2编制依据1.2.1.国家现行建筑安装工程施工及验收规范、规程、建筑工程预算定额。1.2.2.本工程招标书文件及招标单位提供的设计施工图。1.2.3.镇远县西门片区污水收集支管工程施工招标文件。1.2.4.贵州省城乡规划设计研究院设计的镇远县西门片区污水收集支管工程施工图纸。1.2.5.中华人民共和国颁布的现行市政工程的有关规程、规范及验评标准。1.2.6.建设部颁发的《市政工程施工现场管理规定》1.2.7.现场和周边的实际踏勘情况1.3编制原则坚持质量第一,用户至上的宗旨,全面执行我公司质量方针,严格按照ISO9001国际标准2000版要求进行施工管理,切实贯彻执行国家施工及验收规范、操作规程和制度,确保工程质量和安全。严格执行基建程序,发挥我公司技术优势,利用先进的施工技术,科学管理,加快施工进度,保证在规定工期内完成工程。充分发挥我公司整体实力,大量使用先进的机械设备,减轻劳动强度,提高劳动生产率,加快施工进度。遵循国家及工程所在地的政府有关环保文件精神,采取有效措施,减少环境污染,降低噪音。严格遵守国家及政府有关消防要求,做好消防工作。1.4工程概述1.4.1工程概况本工程为镇远县城西门片区污水收集支管工程,工程内容包括:镇远县西门片区水塔沟、南门沟的改造,水塔沟近街坊污水收集支管的改造。主要包括排污管4500米、清理和改造排污沟2200米、修建溢流水井3座。1.4.2管材污水排水管采用Sn8级HDPE双壁波纹排水管,弹性密封橡胶圈接口,承口插入方向应与水流方向一致,由低点向高点依次安装。连接用户出管的支管采用DN150的硬聚氯乙烯(UPVC)排水管,承插粘接。1.4.3检查井、溢流井1)西门街上污水管为DN400时检查井采用φ1000砖砌污水检查井(盖板式),安装详见02S515-P19;2)城区支路和街坊污水管为DN300时检查井采用φ700砖砌污水检查井安装详见02S515-P19;3)排水沟内检查井采用700×700检查暗井,4)污水管一沿河截污干管连接处设1500×1500钢筋混凝土溢流井。5)污水检查井均采用φ700重型球墨铸井盖及井座。1.4.2水文地质条件1.4.2.1地质构造勘察区位于贵州喀斯特地貌沉降褶皱带西南部,处于沙溪沟向斜的北翼。根据区域地质资料及以往周边勘察资料表明,评估区及周边未发现断层、较大褶皱及泥石流等,构造较简单。据现场调查,出露岩层为侏罗系蓬莱镇组砂岩、砂质泥岩组合地层,岩层倾向约160°~190°、倾角3°~6°,场区为顺向坡、管理区为斜向坡。1.5关键施工技术工艺和重点难的解决方案1.5.1施工方法1.5.1.1污水管道施工方法污水管道工程工艺流程图(见下页)是1.5.2施工准备首先,我公司将成立专门的工程项目经理部,选派具有多年施工管理经验的项目经理及管理班子,组织精干的施工队伍和精良的施工设备,在施工合同签定后三日内,迅速进入施工现场进行开工前的准备工作。技术准备工作包括:施工图纸会审,应有记录;工程测量交桩,包括坐标和水准点交桩,并有记录;施工现场踏勘,主要了解现场环境和障碍物情况以及地质水文、气象等条件;施工主要材料和机械信息资料,包括当地材料、成品、半成品货源和价格以及施工机械设备使用价格的调查;施工现场临时设施,包括临建用地、电源、水源等施工现场驻地建设。1.5.2.1测量放线在土方开挖开始前,根据工程情况,核定永久性水准点,在管线沿线每隔50m~100m建立临时...

1、当您付费下载文档后,您只拥有了使用权限,并不意味着购买了版权,文档只能用于自身使用,不得用于其他商业用途(如 [转卖]进行直接盈利或[编辑后售卖]进行间接盈利)。
2、本站所有内容均由合作方或网友上传,本站不对文档的完整性、权威性及其观点立场正确性做任何保证或承诺!文档内容仅供研究参考,付费前请自行鉴别。
3、如文档内容存在违规,或者侵犯商业秘密、侵犯著作权等,请点击“违规举报”。

碎片内容

关键施工技术工艺和重点难点的解决方案

您可能关注的文档

确认删除?
VIP
微信客服
  • 扫码咨询
会员Q群
  • 会员专属群点击这里加入QQ群
客服邮箱
回到顶部