电脑桌面
添加小米粒文库到电脑桌面
安装后可以在桌面快捷访问

项目预算管理制度

项目预算管理制度_第1页
1/8
项目预算管理制度_第2页
2/8
项目预算管理制度_第3页
3/8
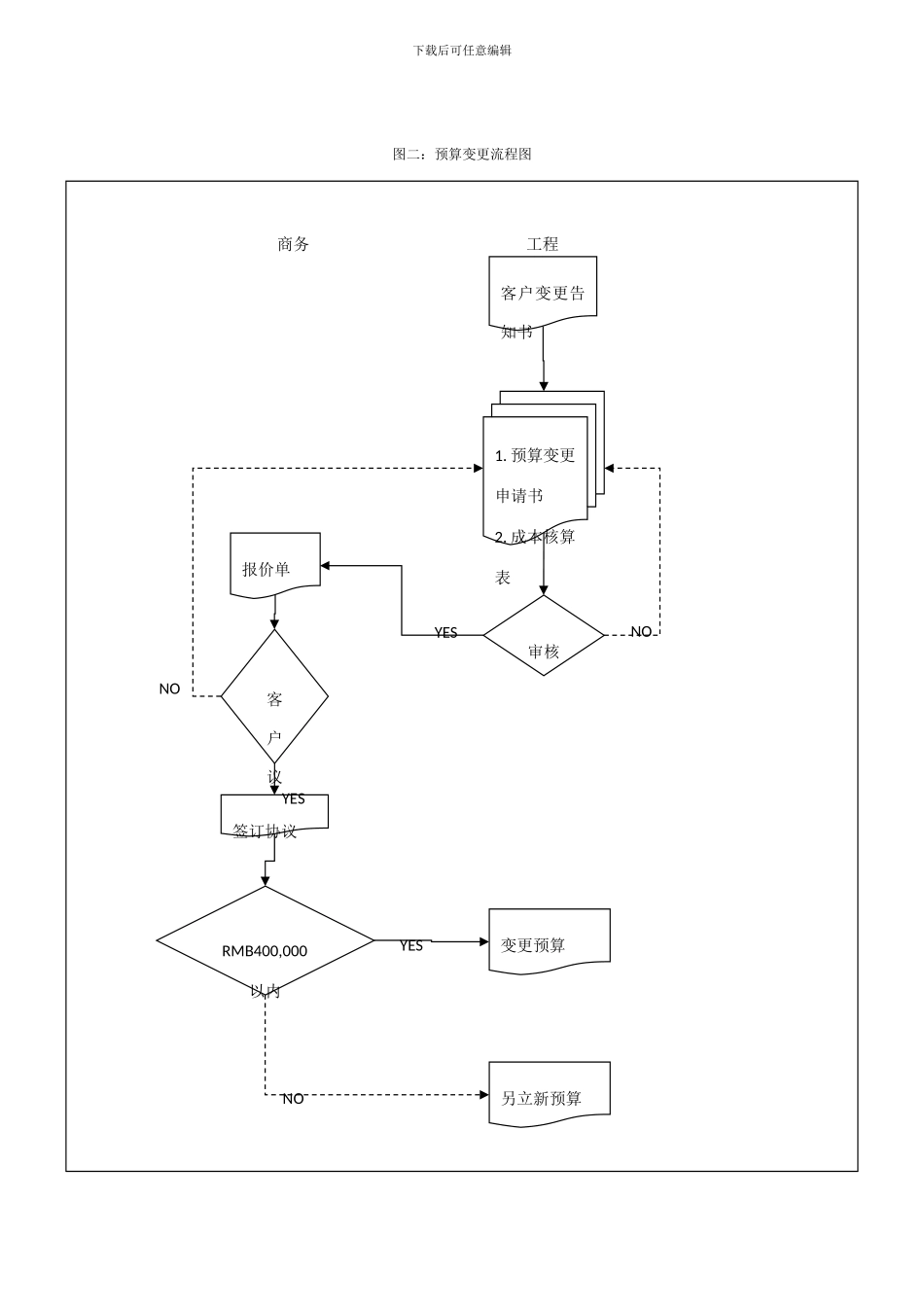
下载后可任意编辑一. 目的:为完善公司对项目管理工作以符合总公司之规定,特制订此细则。二. 依据:总公司 PROJECT 文献1. Cost Estimation, Proposal Preparation, Quo Approval & Cost Ctrl Procedure2. Excess Consumables Parts Handling Procedure3. Post Project Evaluation Procedure4. Project Status Reporting Procedures5. Variation Order Management Procedure三. 权限:1.制订:财务部门负责此细则初稿制订。2.修订:为使此细则具有可行性,工程部门负责修订。3.核决:修订后之细则经中国区经理核可后颁布执行。四. 合用范围: 。下载后可任意编辑五. 流程图图一:成本预估、报价及预算编列流程图商务设计工程采购RFQ成 立提 案团队提案及成本预估成本审核报价单客户议价签订协议审核开立 PRPURCHASE REQUIRE询 议价审核开立 POPURCHASE ORDER编列预算 &执行计划YESNONOYESNONOYESYES下载后可任意编辑图二:预算变更流程图商务工程审核报价单客户议价签订协议NOYES1. 预算变更申请书2. 成本核算表变更预算NOYESRMB400,000以内YES另立新预算NO客户变更告知书下载后可任意编辑六. 制度内容:(一)预估成本及报价1. 成立提案团队(PROPOSAL TEAM):业务自客户取得标单后,设计部门主管应立即会同工程部门、采购部门成立提案团队(PROPOSAL TEAM:設計、繪圖、PM、采購)。2. 提案团队(PROPOSAL TEAM)依据客户需求及技术规定进行设计与技术提案(PROPOSAL),并依据提案内容及设计图纸预估成本并填入【成本预估表 THE COST ESTIMATION SHEET 】(附件: CES1 ) 3. 提案团队(PROPOSAL TEAM)完毕成本预估后,会同业务、商务经理、营运经理、财务经理进行成本审核后,业务人员依据预估成本制作报价单,經中国区经理或 GM(GENERAL MANAGER)核准后向客户进行提案及报价。(二)立项及预算编列1. 业务与客户后签订协议(采购单)后,商务部门保存复印件并告知工程部编列项目预算,正本交由财务归档保存。2. 项目经理(PM)依据项目执行之需求编列项目执行计划【项目执行时程表 THE PROJECT SCHEDULE SHEET 】 及项目预算明细(材料、设备、人工、交通/住宿、现场管理。。。等各项费用)并填入【项目预算表 THE PROJECT BUDGET SHEET 】(附件: PBF1 )。 3. 项目预算经中国区经理或 GM 核准后,工程部及采购保存复印件,正本交由财务建立【...

1、当您付费下载文档后,您只拥有了使用权限,并不意味着购买了版权,文档只能用于自身使用,不得用于其他商业用途(如 [转卖]进行直接盈利或[编辑后售卖]进行间接盈利)。
2、本站所有内容均由合作方或网友上传,本站不对文档的完整性、权威性及其观点立场正确性做任何保证或承诺!文档内容仅供研究参考,付费前请自行鉴别。
3、如文档内容存在违规,或者侵犯商业秘密、侵犯著作权等,请点击“违规举报”。

碎片内容

项目预算管理制度

阳光书坊+ 关注
实名认证
内容提供者

阳光书坊,传播未来

确认删除?
VIP
微信客服
  • 扫码咨询
会员Q群
  • 会员专属群点击这里加入QQ群
客服邮箱
回到顶部