电脑桌面
添加小米粒文库到电脑桌面
安装后可以在桌面快捷访问

简单计算器c课程设计

简单计算器c课程设计_第1页
1/49
简单计算器c课程设计_第2页
2/49
简单计算器c课程设计_第3页
3/49
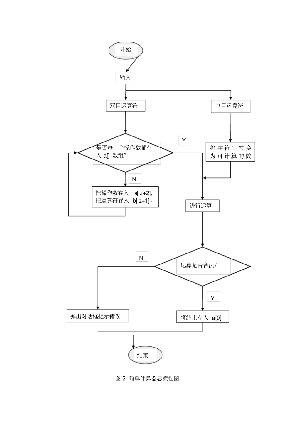
简单计算器1 基本功能描述简单计算器包括双目运算符和单目运算符。双目运算符包含基本的四则运算及乘幂功能,单目运算符包含正余弦、阶乘、对数、开方、倒数等运算。可对输入任意操作数包含小数和整数及正数和负数进行以上的所有运算并能连续运算。出现错误会给出提示, 同时包含清除、 退格、退出功能以及有与所有按钮相对应的菜单项。2 设计思路如图 1,是输入数据子函数的流程图。打开计算器程序,输入数据,判断此次输入之前是否有数字输入, 如果有,则在之前输入的数字字符后加上现有的数字字符;如果没有, 则直接使编辑框显示所输入的数字字符。判断是否继续键入数字,如果是,则继续进行前面的判断,如果否,则用UpdateData(FALSE)刷新显示。如图 2,是整个计算器的流程图。对于输入的算式,判断运算符是双目运算符还是单目运算符。如果是双目运算符,则把操作数存入数组a[z+2] 中,把运算符存入b[z+1] 中;如果是单目运算符,则把字符串转化为可计算的数字,再进行计算。下面判断运算符是否合法,如果合法,则将结果存入a[0], 不合法,则弹出对话框,提示错误。结束程序。输入一个数字在之前输入的数字字符后面加上现在的数字字符。Eg:m_str+=”9”。直接使编辑框显示所输入的数字字符。Eg:m_str=”9”。pass3=1 表示已有数字输入开始之前是否有数字输入? pass3==1? 继续键入数字?用 UpdateData(FALSE)刷新显示图 1 输入数据子函数流程图Y N Y N 图 2 简单计算器总流程图输入开始双目运算符是否每一个操作数都存入 a[] 数组?把操作数存入a[ z+2],把运算符存入 b[ z+1] 。单目运算符将 字 符 串 转 换为 可 计 算 的 数进行运算运算是否合法?将结果存入 a[0] 弹出对话框提示错误结束Y Y N N 3 软件设计3.1 设计步骤打开 Microsoft Visual C++6.0,在文件中点击新建,在弹出框内选择MFC AppWizard[exe]工程,输入工程名及其存储路径,点击确定,如图3 所示。图 3 新建 MFC AppWizard[exe] 工程将弹出 MFC AppWizard-step1 对话框,选择基本对话框,点击完成,如图4所示。图 4 基本对话框这样, MFC AppWizard 就建立了一个基于对话窗口的程序框架,如图5 所示。图 5 新建的对话框3.2 界面设计1、创建控件在 图5 所 示 的Resoure View 选 项 卡 中 打 开Dialog资 源 组 , 双 击IDD_LUXIAOYING_DIALOG,在右边的窗口中显示出待编辑的对话框。开...

1、当您付费下载文档后,您只拥有了使用权限,并不意味着购买了版权,文档只能用于自身使用,不得用于其他商业用途(如 [转卖]进行直接盈利或[编辑后售卖]进行间接盈利)。
2、本站所有内容均由合作方或网友上传,本站不对文档的完整性、权威性及其观点立场正确性做任何保证或承诺!文档内容仅供研究参考,付费前请自行鉴别。
3、如文档内容存在违规,或者侵犯商业秘密、侵犯著作权等,请点击“违规举报”。

碎片内容

简单计算器c课程设计

爱的疯狂+ 关注
实名认证
内容提供者

该用户很懒,什么也没介绍

确认删除?
VIP
微信客服
  • 扫码咨询
会员Q群
  • 会员专属群点击这里加入QQ群
客服邮箱
回到顶部