电脑桌面
添加小米粒文库到电脑桌面
安装后可以在桌面快捷访问

广州大学城调研报告

广州大学城调研报告_第1页
1/22
广州大学城调研报告_第2页
2/22
广州大学城调研报告_第3页
3/22
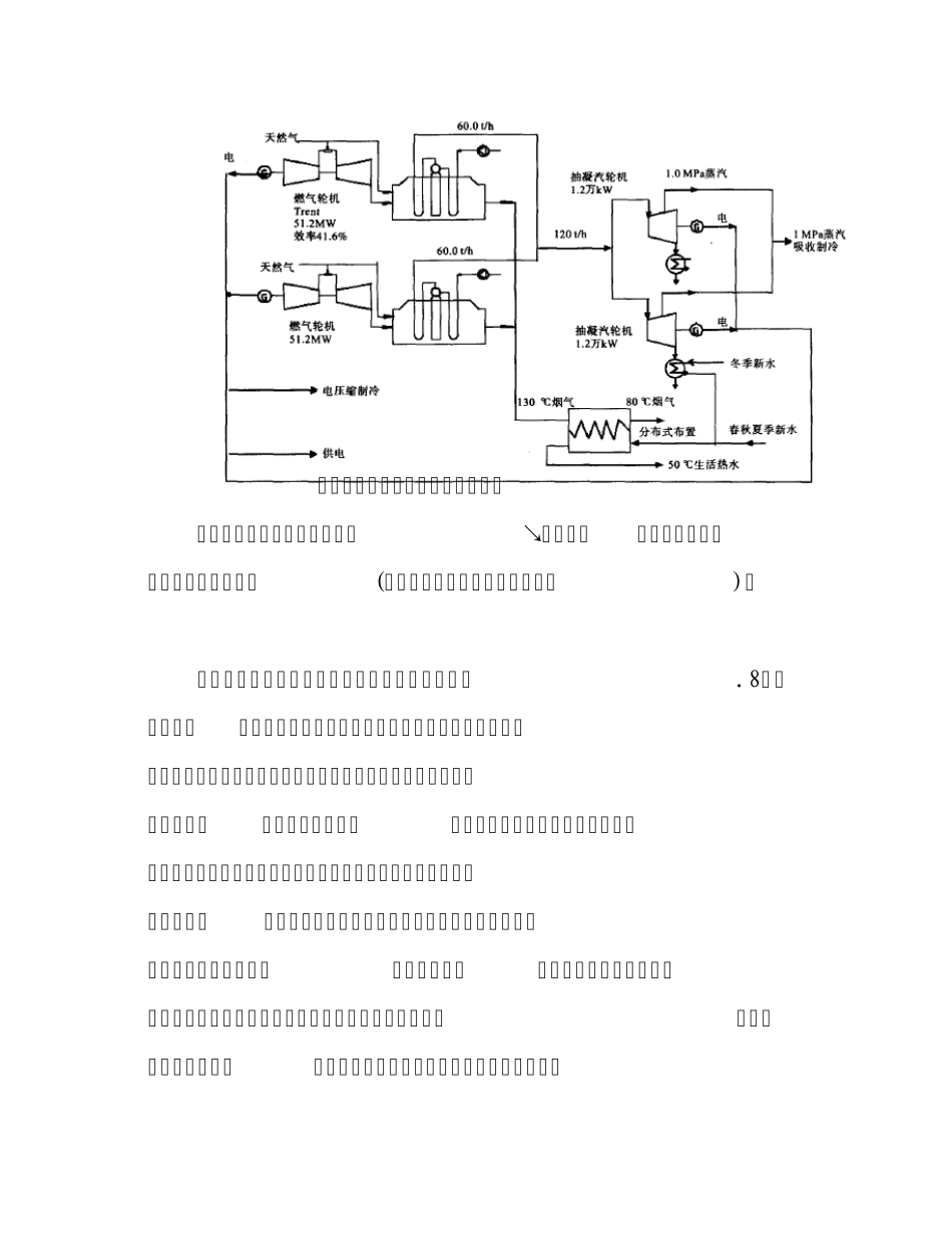
广州大学城分布式“三联供”能源站调研报告 一、为解决公司机房项目供电需深入调研“三联供” 为解决机房建设项目供电问题,在可研报告中提出建立“三联供”能源站是方案之一。但对建立“三联供”能源站的投入、占地、规模、运营等理解不多。公司领导决定对该项目再做深入调研,并安排对目前国内标志性工程广州大学城的分布式“三联供”能源站进行调研。随即确立由宋汉民、陈明哲、范平组成调研组开始工作。 9月 6日经过联系广州大学城华电新能源有限公司总部朱主任安排,我们一行三人与九月11日傍晚到达广州大学城。第二天广州大学城华电新能源站曾总派车接我们至“三联供”能源站,并安排站里安监部长陪同参观。 看到花园式的站区、整洁的站房、安静的环境、漂亮的主控大楼不觉肃然起敬。站区布臵井然有序,远处有燃气计量间、冷却塔、制水车间、维修间,近处很紧凑的放臵燃汽轮机(双轮发电机)间、余热锅炉间、蒸汽轮机(发电机)间、制冷机间。为减少噪声干扰整个车间都是被隔音板封闭。四台入网升压变压器露天整齐摆放。设备布臵相当合理,占地约4万平方米。 安监部长带领我们边参观边介绍,从能源站系统流程到投资建设及运营智能化管理,介绍的非常清晰。又带我们进入生产区参观了余热锅炉、燃气发电设备、4台上网升压变压器、输电控制间、制冷室间及总控室。 看到总控室里电脑自动随机显示的各分区的温度、压力等数据,真是感到该“三联供”能源站的分散控制,集中智能化管理的运行是多么的先进。随后我们又和总控室的技术人员进行了技术交流和索取了一些文字资料。下午我们返回驻地。 第二天,我们调研小组对调研情况进一步深入学习及讨论,形成了许多共识。我们于14日晚回到北京。 二、广州大学城分布式能源站“三联供”介绍 广州大学城分布式“三联供”能源站占地11万平方米为广州大学城18平方公里区域内10所大学20万人提供、热、冷、电能,是目前全国最大的分布式能源站。该能源站规划容量为4x78MW( 4x7.8万 kW),分两期建设。一期投资6.8亿元(包括四台上网升压变压器)的2x78MW已于2009年 9月实现“双投。正常运行每年上缴5000万利税。 该项目能源利用率78%。相当同容量火力电站机组,相比较每年减少CO2排放24万吨;减少SO2 排放6000吨。经济和社会效益显著。 下面是广州大学城能源站“三联供”规划系统图 广州大学城分布式能源站规划流程 燃气轮机→发电机→余热锅炉↘(热水)→蒸汽轮机→蒸汽发电机→压缩制...

1、当您付费下载文档后,您只拥有了使用权限,并不意味着购买了版权,文档只能用于自身使用,不得用于其他商业用途(如 [转卖]进行直接盈利或[编辑后售卖]进行间接盈利)。
2、本站所有内容均由合作方或网友上传,本站不对文档的完整性、权威性及其观点立场正确性做任何保证或承诺!文档内容仅供研究参考,付费前请自行鉴别。
3、如文档内容存在违规,或者侵犯商业秘密、侵犯著作权等,请点击“违规举报”。

碎片内容

广州大学城调研报告

小辰8+ 关注
实名认证
内容提供者

出售各种资料和文档

确认删除?
VIP
微信客服
  • 扫码咨询
会员Q群
  • 会员专属群点击这里加入QQ群
客服邮箱
回到顶部