电脑桌面
添加小米粒文库到电脑桌面
安装后可以在桌面快捷访问

最新房地产公司质量保障体系

最新房地产公司质量保障体系_第1页
1/43
最新房地产公司质量保障体系_第2页
2/43
最新房地产公司质量保障体系_第3页
3/43
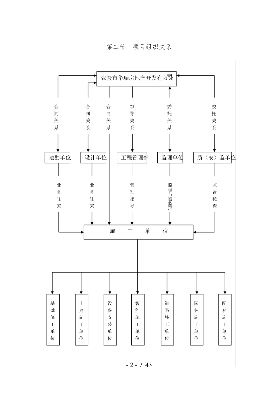
- 1 - / 4 3 市华瑞房地产开发 工程管理质量保证体系 第一章 组织管理 第一节 项目组织结构 地 勘 单 位 兰州华夏岩土技术开发公司 张掖市华瑞房地产开发有限公司 设 计 单 位 中国市政工程西北设计研究院 监 理 单 位 质 检 单 位 施 工 单 位 - 2 - / 4 3 第二节 项目组织关系 张掖市华瑞房地产开发有限公司 地勘单位 设计单位 工程管理部 监理单位 质(安)监单位 施 工 单 位 基 础 施 工 单 位 土 建 施 工 单 位 设 备 安 装 单 位 智 能 施 工 单 位 道 路 施 工 单 位 园 林 施 工 单 位 配 套 施 工 单 位 合 同 关 系 合 同 关 系 合 同 关 系 领 导 关 系 委 托 关 系 委 托 关 系 业 务 往 来 业 务 往 来 管 理 指 导 监理与被监理 监 督 检 查 - 3 - / 4 3 第三节 工程管理机构 第四节 工程管理中心工作管理流程 工 程 管 理 部 工 程 部 经 理 工 程 管 理 部 工 程 部 经 理 工 程 管 理 部 工 程 部 经 理 报 建 员 审图工程师 造价工程师 资料档案员 土建工程师 水电工程师 环境工程师 设备工程师 材料管理员 工 程 管 理 部 工程管理主管 工程技术主管 公 司 物业公司 工程立项并审批 规划设计并审批 单项工程设计并审批 施工招标及合同签订 验 收 及 结 算 交付使用并运行 施工阶段和竣工验收 - 4 - / 4 3 第五节 工程管理部岗位描述 1、总工程师岗位职责 1)负责项目经理部的施工技术管理和科技管理工作。负责组织本项目经理部的全体技术人员按工程设计图纸、施工技术规、规程、规则、工艺标准及施工组织设计(质量计划)进行施工。直接领导工程部和工地试验室的工作; 2)组织工程技术人员学习技术标准、规、规程和工艺标准、质量检验评定标准,并督促其实施; 3)组织技术人员熟悉设计图纸,现场调查,办理管交接桩和复测并组织审查设计文件,提出审查、改善设计建议。组织编制管实施性施工组织设计、质量计划和指定的重点工程施工组织设计,进行工艺设计和工艺设施设计,组织实施; 4)组织项目的技术交底工作; 5)依照公司下达的年度、季度施工计划和月作业计划要求,指导编制本项目的月作业计划; 6)审查和批准工程部以及项目队编报的施工技术方案,临时工程设计和临时工程项目、数量和...

1、当您付费下载文档后,您只拥有了使用权限,并不意味着购买了版权,文档只能用于自身使用,不得用于其他商业用途(如 [转卖]进行直接盈利或[编辑后售卖]进行间接盈利)。
2、本站所有内容均由合作方或网友上传,本站不对文档的完整性、权威性及其观点立场正确性做任何保证或承诺!文档内容仅供研究参考,付费前请自行鉴别。
3、如文档内容存在违规,或者侵犯商业秘密、侵犯著作权等,请点击“违规举报”。

碎片内容

最新房地产公司质量保障体系

您可能关注的文档

确认删除?
VIP
微信客服
  • 扫码咨询
会员Q群
  • 会员专属群点击这里加入QQ群
客服邮箱
回到顶部