电脑桌面
添加小米粒文库到电脑桌面
安装后可以在桌面快捷访问

思茅松科学采脂技术VIP专享

思茅松科学采脂技术_第1页
1/12
思茅松科学采脂技术_第2页
2/12
思茅松科学采脂技术_第3页
3/12
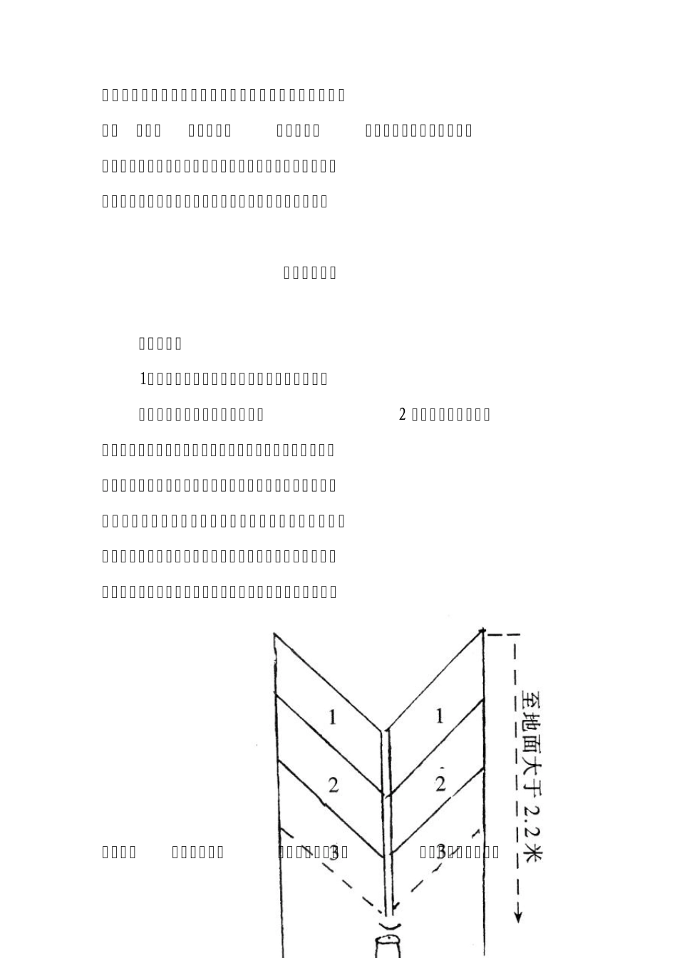
1 思 茅 松 科 学 采 脂 技 术 普洱市林科所高级工程师 李 炽 2010 年 5 月 18 日 一、前 言 松脂是对松树树干进行有规则的开割割沟而得到的一种天然树脂,将松脂进行蒸馏可得到脂松香和脂松节油。松香、松节油是国民经济建设的重要生产资料,广泛应用于肥皂、造纸、油漆、橡胶、香料、医药、建筑等工业部门,也是出口创汇的重要商品。 松脂生产是一门科学,属 “天然树脂生产工艺学”范畴。它有专门的技术和独立的特性,必须懂得它的科学规律,依照科学进行生产,才能获得最好经济效益,实现青山常在,松脂长流。 开展松脂生产,先采脂,后采伐,能综合利用松林资源,提高松林资源利用率。松脂生产主要依靠林区群众进行,是林农脱贫致富的多种经营骨干项目。 普洱市松林资源丰富,有思茅松2,068.3 多万亩,松脂贮量约18 万吨。1959 年开始松脂生产以来已有近50 年的历 2 史,生产有很大发展,年产量占云南省产量的70%以上。采脂群众达20 万多人,仅采脂一项年收入10.5 亿元,成为林区群众脱贫致富的主要财源。但随着松脂价格的放开和松香市场较好,有的地方为了多采松脂,不顾松树的死活,乱采滥割情况比较严重。有的采割幼树(树龄10 年以下,胸径18 厘米以下),大割面(割面宽度超过树干周长的40%),深割沟(深入木质部1 厘米以上),多割面(一树上下两个割面,两面割)等违章采脂行为。以及采脂劳动生产率低(在1 吨以下),单株产脂量低(在2.5 公斤以下),与松脂生产先进的两广地区相比有较大差距,也反映了采脂劳动者掌握科学采脂的技术知识不全面。随着生产的发展和社会的进步,广大脂农迫切要求学习采脂科学技术,以适应生产发展的需要。对各级林业管理部门也提出新的要求。 二、松脂从那里来 松脂是树木光合作用的产物。松树的叶绿体在光能作用下,利用二氧化碳和水,合成有机物质并放出氧气。 光↓ 6CO2+6H2O ----→ (CH2O)6+6O2↑ 叶绿体 树叶是松树进行光合作用制造养分的“工厂”。树冠越大,枝叶繁茂,制造养分的能力愈强,树木的生命力就愈强, 3 合成的松脂也就愈多。构成松树冠形的主要因子是树冠形状、冠幅、分枝角度、侧枝粗细。孤立木和林缘木的冠幅大,分枝低,侧枝粗壮,这类林木的产脂量比较高。林内木则树冠小,分枝高,侧枝细,其产脂量不如孤立木和林缘木。 三、采脂技术 采脂方法: 1、下降式采脂法。较为常用常见的采脂方法。 下降式采脂法的割面部位从树干...

1、当您付费下载文档后,您只拥有了使用权限,并不意味着购买了版权,文档只能用于自身使用,不得用于其他商业用途(如 [转卖]进行直接盈利或[编辑后售卖]进行间接盈利)。
2、本站所有内容均由合作方或网友上传,本站不对文档的完整性、权威性及其观点立场正确性做任何保证或承诺!文档内容仅供研究参考,付费前请自行鉴别。
3、如文档内容存在违规,或者侵犯商业秘密、侵犯著作权等,请点击“违规举报”。

碎片内容

思茅松科学采脂技术

确认删除?
VIP
微信客服
  • 扫码咨询
会员Q群
  • 会员专属群点击这里加入QQ群
客服邮箱
回到顶部