电脑桌面
添加小米粒文库到电脑桌面
安装后可以在桌面快捷访问

放大固定码解码器

放大固定码解码器_第1页
1/6
放大固定码解码器_第2页
2/6
放大固定码解码器_第3页
3/6
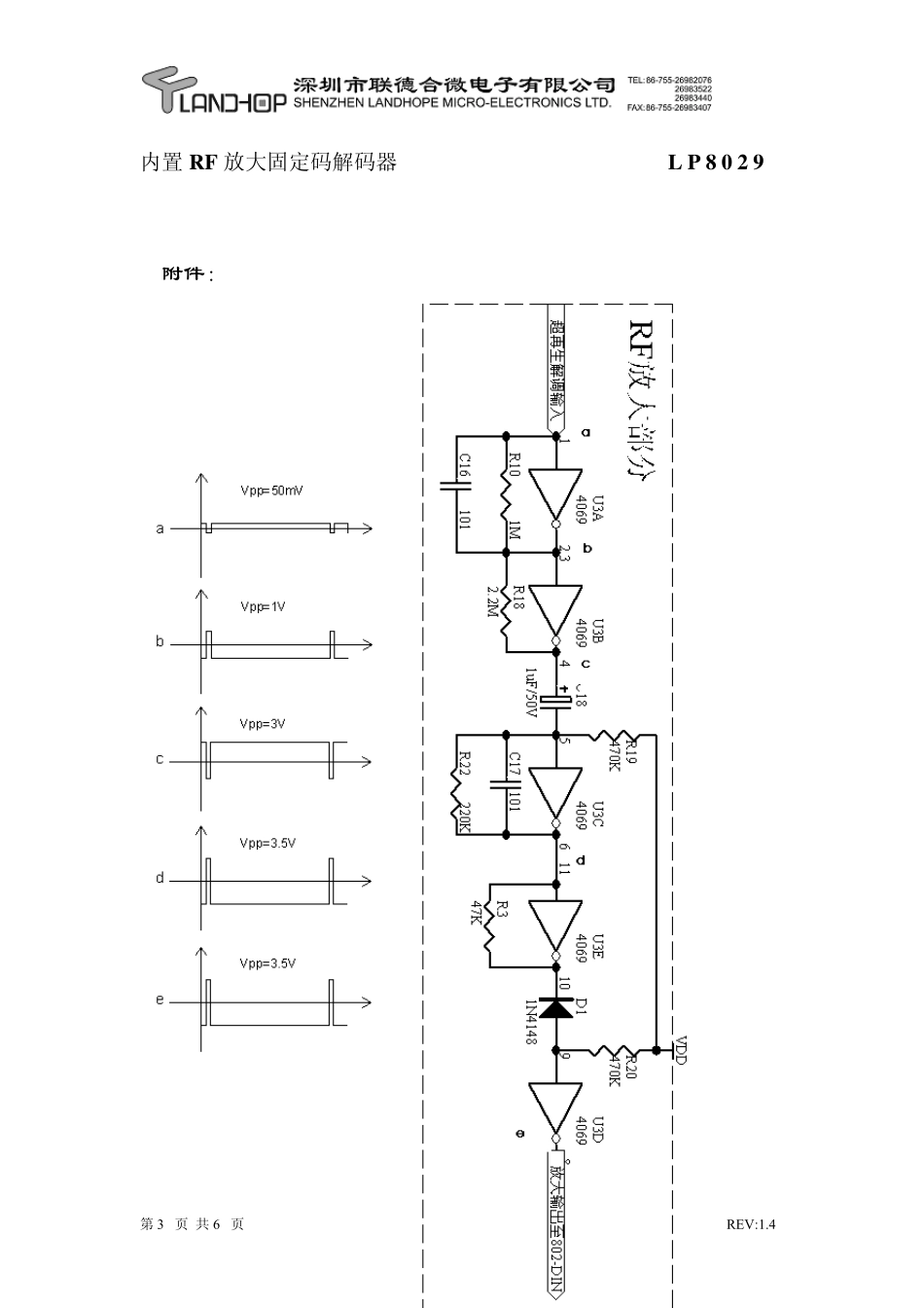
第 1 页 共 6 页 REV:1.4 内置RF 放大固定码解码器 L P 8 0 2 9 概述 LP8029 是一款内置RF 放大固定码解码集成电路,它和LP801B 配对使用。最高可以组合38组码。减少了重码的概率。它集成了RF 放大功能。从而大幅度的简化了产品的电路。 降低了生产成本。减少了生产工序。有效的优化了产品电路的设计。该产品广泛应用于遥控门铃、遥控开关、遥控报警等工业遥控领域。 特性  具有RF 放大模式  内置RF 信号整形电路  内部放大增益稳定  具有工作模式可选功能 备注 (ESD 测试电压大于±4000V) 应用范围  汽车安全系统、车库控制  数码遥控门铃、遥控玩具、遥控风扇  工业控制和家庭安全、自动控制等领域 振荡电阻匹配表 LP801B LP8029 1.8MΩ 620KΩ 2.2MΩ 820KΩ 3.3MΩ 1.2MΩ 建议振荡电阻:LP801 用1.8MΩ,LP8029 用620 KΩ 管脚功能说明 管脚号 PIN18 PIN20 管脚名称 I/O 说明 1-6 1-6 A0-A5 I 地址码管脚。LP8029 通过检测这六条三状态的管脚来确定 bit0-bit5 的编码波形。每个管脚均分别置为“0”、“1”或“f”。 7-8 10-13 7-8 12-15 A6/D5-- A11/D0 I/O 地址吗 8 管脚或数据输出管脚。根据 LP8029 后缀规格的 不同,这六条管脚既可作为高位码地址管脚,也可作为数 据输出管脚。当这些管脚作为地址码管脚使用时,每个管 脚可分别置为“0”、“1”或“f”(悬空)。当作为数据输出 管脚使用时,输出为“1”。否则为“0”。 14 16 DIN I 数据输入管脚,接收到的编码信号由此脚串行输入。 15 17 OSCO O 振荡器输出口。 16 18 OSCI 1 振荡器输入口。 17 19 VT O 有效传输确认,高电平有效。当 LP8029 收到有效信号时, VT 变为高电平。(当解码后,断信号有延时 0.4 秒高电平。) 18 20 Vcc -- 电源正端 9 9 Vss -- 电源负端 -- 10-11 NC -- 空脚 第 2 页 共 6 页 REV:1.4 内置RF 放大固定码解码器 L P 8 0 2 9 电气参数(Temp=25℃,Vcc=3.0V) 参数 符号测试条件 最小值典型值最大值 单位 电源电压 VDD 1.8 3.0 7.0 V 静态电流 ISB OSCI=0V;DIN=0V 2 18 uA 工作电流 IDD ROSC=620KΩ 130 uA Vcc=3.0V,VOH=1.3V -2 mA Vcc=4.5V,VOH=2.8V -4 mA 驱动电流 IOHVcc=5.0V,VOL=3.3V -5 mA 输入高电平 VIH 0.7 VDD VDD V 输入低电平 VIL...

1、当您付费下载文档后,您只拥有了使用权限,并不意味着购买了版权,文档只能用于自身使用,不得用于其他商业用途(如 [转卖]进行直接盈利或[编辑后售卖]进行间接盈利)。
2、本站所有内容均由合作方或网友上传,本站不对文档的完整性、权威性及其观点立场正确性做任何保证或承诺!文档内容仅供研究参考,付费前请自行鉴别。
3、如文档内容存在违规,或者侵犯商业秘密、侵犯著作权等,请点击“违规举报”。

碎片内容

放大固定码解码器

确认删除?
VIP
微信客服
  • 扫码咨询
会员Q群
  • 会员专属群点击这里加入QQ群
客服邮箱
回到顶部