电脑桌面
添加小米粒文库到电脑桌面
安装后可以在桌面快捷访问

项目部音像采集管理制度VIP专享

项目部音像采集管理制度_第1页
1/3
项目部音像采集管理制度_第2页
2/3
项目部音像采集管理制度_第3页
3/3
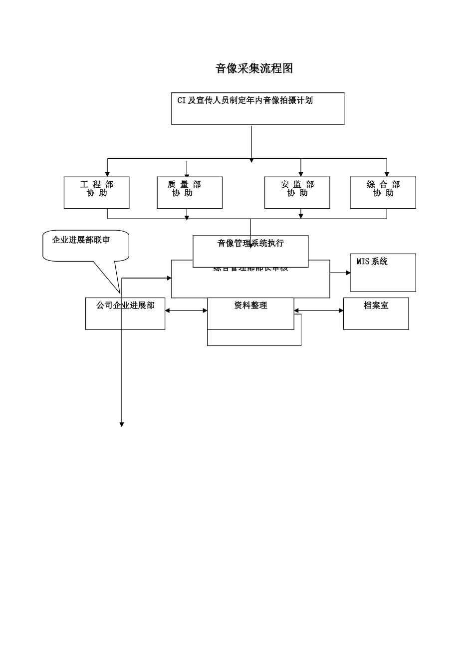
项目部音像采集管理制度第一章 目的为做好工程项目部施工现场音像资料采集工作,使之制度化、法律规范化,特制定本制度。第二章 术语解释无第三章 相关文件——项目部音像管理制度——项目部 CI 宣传专业日常工作及管理制度——项目部宣传管理制度——电建知音报管理办法第四章 内容以及职责分工第一条 采集内容以及职责分工:计宣传人员负责制定年内施工现场音像采集拍摄计划。2.工程部协助完成工程类音像采集要点(随进度)。3.质量部协助完成工程闪光点音像采集要点。4.安监部协助完成现场文明施工的音像采集要点。5.非生产音像采集计划由综合部制定。6.根据现场各种突发事件(计划外)综合管理部摄制人员随时到位。见流程图。第二条 音像资料归口管理:为了保证施工现场音像资料的完整性,现场所有音像(录像、照片)资料由综合管理部根据公司统一要求进行归口管理。第三条 音像资料整理:(1) 音像资料采集人员每天采集完后应在当天标明所拍摄地点、时间、内容、摄影者等相关信息。(2) 音像资料根据公司档案管理标准整理、分类、编号,数码照片上网、并定期刻光盘备份。(3) 音像资料在电脑里编目的原则:一级目录:项目部名称加专业,二级目录:分项工程加日期,三级目录(相片名称):相片说明、序号、摄影者(4)胶片相片依据公司规定进行编目第五章 流 程音像采集管理流程:见后页音像采集流程图 CI 及宣传人员制定年内音像拍摄计划综 合 部协 助安 监 部协 助 质 量 部协 助工 程 部 协 助MIS 系统综合管理部部长审核音像管理系统执行主管领导批准资料整理公司企业进展部档案室企业进展部联审

1、当您付费下载文档后,您只拥有了使用权限,并不意味着购买了版权,文档只能用于自身使用,不得用于其他商业用途(如 [转卖]进行直接盈利或[编辑后售卖]进行间接盈利)。
2、本站所有内容均由合作方或网友上传,本站不对文档的完整性、权威性及其观点立场正确性做任何保证或承诺!文档内容仅供研究参考,付费前请自行鉴别。
3、如文档内容存在违规,或者侵犯商业秘密、侵犯著作权等,请点击“违规举报”。

碎片内容

项目部音像采集管理制度

确认删除?
VIP
微信客服
  • 扫码咨询
会员Q群
  • 会员专属群点击这里加入QQ群
客服邮箱
回到顶部