电脑桌面
添加小米粒文库到电脑桌面
安装后可以在桌面快捷访问

安保工作流程图

安保工作流程图_第1页
1/22
安保工作流程图_第2页
2/22
安保工作流程图_第3页
3/22
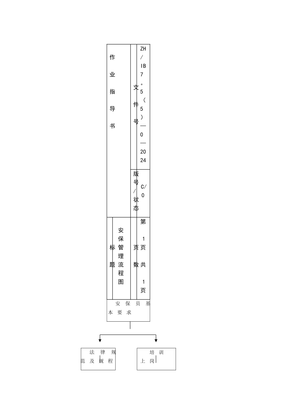
作 业 指 导 书文 件 号ZH/IB7。5(5)—0—2024版号/状态C/0标 题安保管理流程图页 数第 1 页 共 1 页 安保员基本要求 法律规范及规程培训上岗车辆管理物业监控 消防安全 封闭管理 指 示 标 识 进 出 停 放 出 租 车 管 理监控中心安保监控巡逻巡视执行法规消防设施检消防工作检消防训练状态标识封闭时间人员管理监控跟踪物品管理 交接班工作 交接班要求 设备、工作交接未到岗安排 安保工作检查 各级人员检查主管工作汇报 作 业 指 导 书文 件 号ZH/IB7 。 5 ( 5)—2—2024版号/状 态 C / 0 标 题 物 管 部 工 作 检查 流 程 图页 数 第 1 页 共 1页根据年初工作计划,物管部每月对公司各管理处工程、安保、清洁绿化工作进行全面检查。在管理处有关人员陪同下,依据检查项目和标准进行检查。检查时,检查人须认真记录发现的问题,交当值人员确认签字。检查完毕,检查人将检查结果向管理处领导通报,并由领导签字确认。如问题较多,管理处需复印一份存留整改。月度检查工作完成后,检查人将结果进行汇总,提交部门办公会讨论评分,尔后拟发通报,提交部门经理审核。部门经理核签后,报主管领导审核。主管领导审签后,返回部门。 管理处根据通报的内容及时组织整改,于收文后一周内,将整改情况以书面的形式反馈物管部。部门再将材料送行政公关部报总经理,总经理审签后,由行政公关部负责编号、排版、打印、发放,社区环境管理部备存一份。组织部门人员,根据检查结果将管理处反馈的整改情况进行整理归纳,为下季度检查时进行复查提供依据。对能够解决而未解决的问题须作好记录,在下一次评分时增加扣分值,并提出处理意见。 作 业 指 导 书文 件 号ZH/IB7.5(5)-3—2024版号/状态 C / 0 标 题 安保主管工作流程图页 数 第 1 页 共 1 页目的:检查、监督岗位安保员工作情况;全面贯彻、落实公司各项规章制度;及时发现工作中出现的问题并实行整改措施;为量化考核提供依据。 作 业 指 导 书文 件 号ZH/IB7。5(5)-4-2024版号/状态 C / 0 标 题 班长日检查工作流程图页 数 第 1 页 共 1 页日:对各岗位安保员工作情况不定时(至少)检查一遍;组织安保员对各装修点进行检查;对小区安全、消防设施和员工宿舍、岗亭的内务卫生、清洁绿化情况进行检查;及时处理突发性事件,且做好记录,重要情况及时上报;整理归纳档案资料;组织车...

1、当您付费下载文档后,您只拥有了使用权限,并不意味着购买了版权,文档只能用于自身使用,不得用于其他商业用途(如 [转卖]进行直接盈利或[编辑后售卖]进行间接盈利)。
2、本站所有内容均由合作方或网友上传,本站不对文档的完整性、权威性及其观点立场正确性做任何保证或承诺!文档内容仅供研究参考,付费前请自行鉴别。
3、如文档内容存在违规,或者侵犯商业秘密、侵犯著作权等,请点击“违规举报”。

碎片内容

安保工作流程图

元素商铺+ 关注
实名认证
内容提供者

欢迎挑选合适的文档

确认删除?
VIP
微信客服
  • 扫码咨询
会员Q群
  • 会员专属群点击这里加入QQ群
客服邮箱
回到顶部